Hallo an alle Kann mir jemand sagen wie ich mit wenigen Bauteilen diesen Taster der Standardgemäß NC ist auf NO pole?? Unser System kann nur mit Tastern arbeiten, die als Schließer fungieren und nicht umgekehrt. Da es ein Messtatser ist, muss er so schnell wie möglich auslösen, damit die Messung auch so genau wie möglich ist. ich hätte es so verstanden, dass man diesen auch als Schließer bekommt, doch leider ist dem nicht so. Ich muss auf alle Fälle bei der Potenzialfreien Schaltung bleiben. Der Kreis wird über ein Mitutoyo Gerät verarbeitet das jedoch nur potenzialfrei arbietne kann, ansonsten geht es kaputt. VIELEN DANK vorab Peter
Einfach ein Optokoppler oder Photomos dazwischen? Dann bist du weiterhin Potentialfrei und deutlich schneller als mit einem Relais o.ä.
Sowas?? Omron G3VM-61A Nur zur Sicherheit ich bin da echt kein Profi Kannst du mir einen Photomos nennen der klein ist und passen würde?? Und sagen wie du den verkabelst?? Lg Peter
Wäre das richtig?? 1. braun (+12/24 V) → Widerstand → SSR IN+ (Pin 1) 2. SSR IN− (Pin 2) → blau (0 V) 3. grün → SSR IN+ (Pin 1), weiß → SSR IN− (Pin 2) → Der NC liegt parallel über dem SSR-Eingang: – in Ruhe (NC zu): Eingang kurzgeschlossen ⇒ SSR aus – Treffer (NC offen): Strom fließt durch SSR-LED ⇒ SSR ein Taster (potenzialfrei): • SSR OUT (Pins 3/4) → Tip & Sleeve der Klinke
:
Bearbeitet durch User
Peter R. schrieb: > Kann mir jemand sagen wie ich mit wenigen Bauteilen diesen Taster der > Standardgemäß NC ist auf NO pole?? > Unser System kann nur mit Tastern arbeiten, die als Schließer fungieren > und nicht umgekehrt. Das ist für sicherheitskritische Taster, also wenn irgendetwas kaputt gehen kann, falls die Antastung nicht erkannt wird, eine ganz blöde Idee. Der Taster ist richtig gebaut.
:
Bearbeitet durch User
Wir verwenden den Taster auf eine andere Art. Nicht in einer cnc, also muss ich den ändern. Aber wie weiß ich noch immer nicht
Peter R. schrieb: > Aber wie weiß ich noch immer nicht Suchst du ein elektronisches Bauteil oder ein fertiges Einbaumodul, ggf. für Hutschienenmontage oder egal? Peter R. schrieb: > Da es ein Messtatser ist, muss er so schnell wie möglich auslösen, damit > die Messung auch so genau wie möglich ist. "So schnell wie möglich" impliziert eine Neuentwicklung an der Grenze des aktuell technisch Machbaren. Das willst du sicher nicht bezahlen. Welche Anforderungen an das Zeitverhalten bestehen wirklich? Gerade, wenn Mechanik im Spiel ist, sehen rein elektronische Schaltverzögerungen dagegen meist entspannt aus. Kurz: Mit welcher Geschwindigkeit wird die Tastposition sein und wie genau muss die Position mindestens erfasst werden?
:
Bearbeitet durch User
Ich habe leider wenig Platz an der Stelle. Fertigrelais für Hutschiene sind viel zu groß. Das müsste was kleines feines sein. Ich könnte auch was dran löten, jedoch müsste ich wissen wie genau. Das ist leider nicht mein Gebiet, da bin ich sehr planlos
Rainer W. schrieb: > Kurz: Mit welcher Geschwindigkeit wird die Tastposition sein ... Tastposition angefahren Peter R. schrieb: > Das müsste was kleines feines sein. Wie klein darf es sein, dass du das noch verarbeiten kannst? ;-) Wieviel Betriebsstunden kommen da zusammen? Läuft das Teil im Dauerbetrieb, d.h. ist die Bauteillebensdauer kritisch?
:
Bearbeitet durch User
Peter R. schrieb: > Da es ein Messtatser ist, muss er so schnell wie möglich auslösen, damit > die Messung auch so genau wie möglich ist. Ein Relais könnte ca. 10ms zum Umschalten brauchen. Das wäre die einfache Lösung. Allerdings wäre da noch die induktive Abschaltspannung und das Kontaktprellen. Eine optische Lösung wäre wahrscheinlich schöner, wenn man mehr wüßte.
Lu schrieb: > Ein Relais könnte ca. 10ms zum Umschalten brauchen. Man muss ja kein so lahmes nehmen. Reedrelais schalten viel schneller.
H. H. schrieb: > Reedrelais schalten viel schneller. Könnte man, nur Umschalter sind als Reedrelais recht selten.
Lu schrieb: > H. H. schrieb: >> Reedrelais schalten viel schneller. > > Könnte man, nur Umschalter sind als Reedrelais recht selten. Nö, nur etwas teurer. https://www.reichelt.de/de/de/shop/produkt/reedrelais_24v_1_wechsler_0_25a_ri_2k_ohm-15190
Was ist das eigentlich für ein "Taster", der eine Betriebsspannung braucht? Irgendwas in mir meint, dass wir hier eher ein Prinzip-Schaltbild sehen, oder liefert der Taster wirklich einen potentialfreien mechanischen Kontakt? und wie sollte der belastet werden, damit er dauerhaft funktioniert? Das Thema "Selbstreinigung" erlebe ich bei Bedienelementen eines Elektrorollers gerade auf ganz eigene Weise ... dort wurde vom Design her böse geschlampt.
Volker A. schrieb: > Was ist das eigentlich für ein "Taster", der eine Betriebsspannung > braucht? Ein Messtaster, auf 1µm genau. Und der Ausgang ist natürlich ein Transistor, kein mechanischer Kontakt.
:
Bearbeitet durch User
H. H. schrieb: > Ein Messtaster, auf 1µm genau. Und wenn man weiss wie schnell sich der Taster / das Objekt bewegt hat man auch eine notwendige Schaltzeit.
Hallo an alle Der messender wird per Hand an das Objekt positioniert Ich denke ich hab was fertige gefunden. https://topcom.cz/products/electronics/sigconv/
Peter R. schrieb: > Ich denke ich hab was fertige gefunden. > > https://topcom.cz/products/electronics/sigconv/ Wenn der Platz reicht.
Peter R. schrieb: > Der messender wird per Hand an das Objekt positioniert Auf 1µm genau von Hand? Oder sitzt da noch eine Mikrometerschraube zwischen?
Nein wir haben einen Portaltisch der sozusagen eine Brücke in x und lineargleiter in y hat. So kann man den Kopf der Maschine in x und Y frei bewegen. Wir fahren mit den Taster per Hand an das Werkstück bis der Taster auslöst usw…. Wir hatten das alles schon, aber mein Kollege hatte die Idee wir entfernen den alten Sensor und montieren einen neuen. Der alte ist mittlerweile im Mist. Und hier das Problem… finde mal einen Sensor der potentialfrei als Schließer arbeitet…. Ich dachte ich hab die Lösung aber bei der Firma mit dem fertigen Signal converter, kommt keine Rückantwort…. Kann ich sowas nicht selber machen?? Mir reicht es wenn der Öffner zum Schließer wird!! Vielen Dank vorab
Peter R. schrieb: > Kann ich sowas nicht selber machen?? Mir reicht es wenn der Öffner zum > Schließer wird!! Dann nimm ein Reedrelais. Freilaufdiode nicht vergessen!
H. H. schrieb: > Peter R. schrieb: >> Kann ich sowas nicht selber machen?? Mir reicht es wenn der Öffner zum >> Schließer wird!! > > Dann nimm ein Reedrelais. > > Freilaufdiode nicht vergessen! Entschuldige das ich so blöd Frage aber hast du einen Tipp für mich wie ich das verkable und welche Modelle??
An unsrer Pinwand hängt der Spruch: "Wirf nie den alten Eimer weg bevor Du weißt, dass der neue kein Loch hat." Wäre übrigens mal spannend für einen Lösungsvorschlag, wenn Du ein bisschen mehr Infos über den Sensor hättest - H.H. geht ja sicher von Transistorausgang aus. Gibt es also eine Spannungsversorgung wie im Prinzip-Schaltbild und wie hoch ist sie, kann sie das Relais mitversorgen und warum nochmal genau braucht es die Potentialtrennung wirklich? Und zuguterletzt: wenn man in Deiner Bude der Meinung ist, ein laufendes System verändern zu müssen, wieso ist es an Dir, den Schaden zu begrenzen? Ich frage für einen Freund :-)
:
Bearbeitet durch User
Volker A. schrieb: > h.h. geht ja sicher von > Transistorausgang aus. Genauer: Optokopplerausgang mit Phototransistor. Beide Anschlüsse sind herausgeführt, so dass damit NPN- oder auch PNP-Ausgang möglich ist, und auch potentialfreier Schalter.
Peter R. schrieb: > Entschuldige das ich so blöd Frage aber hast du einen Tipp für mich wie > ich das verkable und welche Modelle?? Oh weh! Falls der Sensor mit 24V versorgt wird hab ich doch schon einen Link gepostet. Das Reedrelais gibts auch für 12V, und als Freilaufdiode eine 1N4007 oder 1N4148.
Volker A. schrieb: > An unsrer Pinwand hängt der Spruch: "Wirf nie den alten Eimer weg bevor > Du weißt, dass der neue kein Loch hat." > > Wäre übrigens mal spannend für einen Lösungsvorschlag, wenn Du ein > bisschen mehr Infos über den Sensor hättest - H.H. geht ja sicher von > Transistorausgang aus. Gibt es also eine Spannungsversorgung wie im > Prinzip-Schaltbild und wie hoch ist sie, kann sie das Relais > mitversorgen und warum nochmal genau braucht es die Potentialtrennung > wirklich? > > Und zuguterletzt: wenn man in Deiner Bude der Meinung ist, ein laufendes > System verändern zu müssen, wieso ist es an Dir, den Schaden zu > begrenzen? Ich frage für einen Freund :-) Das ist ja mal eine coole Antwort. HAHAHA meine Worte. Ich bin kein Elektroprofi bei Gott nicht und meine Kollegen auch nicht. Wir haben ein Mitutoyo Messgerät an das kann man einen Taster anschließen über eine Mono Klinke lauft das ganze. Das Messgerät kann eben nicht mehr... in Wirklichkeit war das nur ein zweiadriges Kabel mit einem Taster verbunden. Ganz früher war das ein Fußtaster, dann hat ein alter Kollege mal einen Messtaster besorgt, der war echt der Hammer. Der machte auch nur einen Kurzschluss, ich weiß das weil das Kabel mal abgingen und da hab ich bemerkt, wenn ich beide Enden zusammenhalte, misst es plötzlich.. Dementsprechend habe ich beim Hersteller nachgefragt und der meinte. "Das ist einfach nur ein Taster der kurz zu macht. Aber potentialfrei muss er sein.. keine Fremdspannung." Ich freu mich voll über die Beiträge von HHinz, aber so ganz den Plan hab ich nicht.. ich habe da Relais mit Diode gefunden, dann spar ich mir die oder nicht?? und wie löte ich das dran?? https://www.reichelt.de/de/de/shop/produkt/reed-relais_12_v_dc_5_w_-_1_co-340159 und was löt ich wo an, sorry das ich so blöd frage...
Peter R. schrieb: > Ich dachte ich hab die Lösung aber bei der Firma mit dem fertigen Signal > converter, kommt keine Rückantwort…. Das ist auch gut so, diese Platine ist vollkommen unzureichend beschrieben. Volker A. schrieb: > wenn man in Deiner Bude der Meinung ist, ein laufendes > System verändern zu müssen, wieso ist es an Dir, den Schaden zu > begrenzen? Im Forum sind mehrere Threads vorhanden, wo der Einäugige mit dicker Brille irgendwas elektrisches bebasteln will oder angeblich soll. H. H. schrieb: >> h.h. geht ja sicher von >> Transistorausgang aus. > Genauer: Optokopplerausgang mit Phototransistor. Beide Anschlüsse sind > herausgeführt, so dass damit NPN- oder auch PNP-Ausgang möglich ist, und > auch potentialfreier Schalter. Also wiederholt sich die Frage nach dem genauen Typ samt Datenblatt des Sensors. Hinz' Spekulation verstehe ich in der Richtung, dass der Sensor ohne externen Umsetzer verwendbar sein könnte.
Hallo Sorry, hier das komplette Datenblatt von dem Sensor. IM Datenblatt steht zwar, dass man den auch als Schließer bekommt, aber dem ist leider nicht mehr so. Aufgrund der geringen Nachfrage gibt es nur mehr die NC Modelle VIELEN DANK auf alle Fälle
:
Bearbeitet durch User
Ich hab schon diverse Forenbeiträge gelsen und da haben einige so 10€ Relaimodule Oktokopler verwendet, aber da gingen die Meinungen auseinander. Ich dachte anfangs das ich sowas nehme und so anschließe.: Bei NPN LOF bzw. BEI PNP High NPN-Variante (LOW-Trigger): Braun → DC+, Blau → DC−, Weiß → DC−, Grün → IN, Jumper/Schalter auf LOW. Ausgang zur Steuerung: COM + NO ⇒ potenzial schliesser den ich brauche. https://www.amazon.de/Gebildet-Relaismodul-Platinen-Shield-Optokoppler-Isolation-Entwicklungsplatinen-Trigger/dp/B0DPMR6YQS/ref=sr_1_3_sspa?__mk_de_DE=%C3%85M%C3%85%C5%BD%C3%95%C3%91&crid=1M2P03YM7ANJE&dib=eyJ2IjoiMSJ9.6PGOJDrqRK4ZYkjaowTLPaay2llXIOBVX9z38FK-8nuWZHAZDrvFl55wkX4lfp4fUWahvVJqvnVAl0TfAE4d6pteRxwewVjqnOwRUJMBWGCXpar2BI9ZhqWZ3ZKSOnHu21z_EAQ-BPhXm0oKJ_H6Lh4epKd12qSegyH0YQeAml9cWjuodtOh963gzD5HZdhvmtjYAIkWFFiqaL1FG-fSOmV-Gdz26FGqCVEn6V4B0kujFw3mzBVJJaH--2nH627LYk8sWLtTVS-m8lJRfkrs-CLq-2-xZuDopzYumF9iRNM.y7Dlw1M8tHS9Q_PlgjPXAPSUjwN5-xtT4BHpdjiyF80&dib_tag=se&keywords=12V-Relaismodul%2B1-Kanal-Optokoppler&qid=1762892010&s=industrial&sprefix=12v-relaismodul%2B1-kanal-optokoppler%2Cindustrial%2C108&sr=1-3-spons&aref=zQdA0e9XRB&sp_csd=d2lkZ2V0TmFtZT1zcF9hdGY&th=1
Manfred P. schrieb: > Hinz' Spekulation Keine Spekulation. > verstehe ich in der Richtung, dass der Sensor > ohne externen Umsetzer verwendbar sein könnte. Falsch verstanden.
Peter R. schrieb: > https://www.reichelt.de/de/de/shop/produkt/reed-relais_12_v_dc_5_w_-_1_co-340159 Der Sensor wird also mit 12V versorgt? > und was löt ich wo an, sorry das ich so blöd frage... Hab hier leider nichts zum zeichnen.
Ja der Sensor wird mit 12v versorgt Eigentlich geht 12-24v aber 12v hab ich zur Verfügung Ist das Amazon Teil eine gute Möglichkeit oder eher nicht zu empfehlen??
Peter R. schrieb: > Ja der Sensor wird mit 12v versorgt > Eigentlich geht 12-24v aber 12v hab ich zur Verfügung > > Ist das Amazon Teil eine gute Möglichkeit oder eher nicht zu empfehlen?? Ist halt erheblich langsamer. Ob das stört kann ich nicht beurteilen.
Das Datenblatt verrät doch alles was man wissen muss. Ein elektronischer Schalter - ich tippe auf einen Optokoppler - verbindet bei Ansteuerung den weißen (+) mit dem grünen (-), siehe Kapitel 4.6., wo das als SINK (schaltet gegen GND) bzw. Source (schaltet von +12/24) genannt wird. Maximalstrom 30 mA. Meine Idee wäre jetzt ein Optokoppler, der dauerhaft per Vorwiderstand von den 12/24V angesteuert wird (da sollten wenige mA reichen) und dessen Eingang vom 3D-Sensor kurzgeschlossen wird. Der Ausgang des Optokopplers mit entsprechendem Transistor - da kommt es ja auf Frequenzen wirklich nicht an - liefert dann so ziemlich die gleichen elektrischen Parameter wie der ursprüngliche Sensor. Und jetzt schlag drauf, wenn ich falsch liege.
Volker A. schrieb: > Meine Idee wäre jetzt ein Optokoppler, der dauerhaft per Vorwiderstand > von den 12/24V angesteuert wird (da sollten wenige mA reichen) und > dessen Eingang vom 3D-Sensor kurzgeschlossen wird. Der Ausgang des > Optokopplers mit entsprechendem Transistor - da kommt es ja auf > Frequenzen wirklich nicht an - liefert dann so ziemlich die gleichen > elektrischen Parameter wie der ursprüngliche Sensor. Kann man so machen. > Und jetzt schlag drauf, wenn ich falsch liege. Man muss halt den nötigen Schaltstrom messen, und daran den CTR bemessen.
wollte ich gerade noch ergänzen, Du warst schneller. Also der Ansteuerstrom muss hoch genug sein um eine ausreichende Sättigung des Ausgangs zu erreichen.
Peter R. schrieb: > Sorry, hier das komplette Datenblatt von dem Sensor. > IM Datenblatt steht zwar, dass man den auch als Schließer bekommt, aber > dem ist leider nicht mehr so. Sehe ich nicht. Hat Deiner eine vierpolige Anschlußleitung wie im pdf Seite 8 oder weicht der ab?
Ja der hat 4 Leitungen Genau das hab ich immer wieder in Foren gelesen, dass das Amazon Teil ziemlich träge ist und die Messung verfälschen könnte. Die Lösung fand ich auch teilweise in Foren Omron G3VM-61A (SPST-NO, „Form A“) braun (+12V) → Widerstand → SSR IN+ SSR IN− → blau grün → SSR IN+ (Pin 1), weiß → SSR IN− (Pin 2) SSR OUT (Pins 3/4) → Tip & Sleeve Geht das?? Das wäre nur ein Bauteil https://www.mouser.at/ProductDetail/Omron-Electronics/G3VM-61A?qs=kyocjfxn8IqC2Wl8eZLLew%3D%3D&srsltid=AfmBOooH3xBVZwcsoqzM17UBtA8T2wuFjb_ltjY0gt3uRkzr_f715Y36
Opto-Mosfet bipolar. Was es nicht alles gibt. Zu Deiner Beschreibung (die Zeilenumbrüche sind leider weg): Ja, braun über Widerstand an SSR(1) und blau an SSR(2). ich würde aber weiß an SSR(1) legen und grün an SSR(2). SSR(3) und SSR(4) ersetzen dann die bisherigen weiß und grün, da dürfte sogar die Polarität egal sein. Was sagen die anderen?
Peter R. schrieb: > Unser System kann nur mit Tastern arbeiten, die als Schließer fungieren > und nicht umgekehrt. Wieviel Strom fließt dann bei geschlossenem Schalter?
Ja genau, wie viel Strom ist eine gute Frage. Ich hab das leider noch nicht persönlich gemessen, ich hab nur mal die 5v raus gemessen, aber nicht die mA. Ich hab aber mit dem Hersteller Kontakt gehabt und gefragt ob es mehr als 30mA sein können, weil viele Taster vertragen nicht mehr und er meinte, da sind wir weit drunter.
Peter R. schrieb: > Ich hab aber mit dem Hersteller Kontakt gehabt und gefragt ob es mehr > als 30mA sein können, weil viele Taster vertragen nicht mehr und er > meinte, da sind wir weit drunter. Ein Messgerät in die Hand zu nehmen, wäre wohl zu einfach. Opto-MOS, wie der G3VM-61A, sind aus elektrischer Sicht schon relativ langsam. Alternative wäre ein Optokoppler, aber da nützt einem die Aussage "weit unter 30 mA" wenig, weil keiner weiß, ob "weit drunter" einen Faktor 3, 10, 30 oder 100 bedeutet. Für Handbetrieb dürfte die Zeitverzögerung der Elektronik allerdings sowieso ziemlich egal sein, solange die Kontaktauswertung nicht mit KI über die Cloud stattfindet, sondern lokal. ;-)
:
Bearbeitet durch User
Ich bin leider erst wieder am Montag im Betrieb und dann messe ich das mal durch. ABER wenn der G3VM-61A ein Ansatz wäre, dann teste ich den einfach. Das Ding kostet ein paar Euro. Wenn ich alle halb Infos zu anderenden alten Beiträgen versuche zusammenzufügen“Niemand hat genau beschrieben wie er es gemacht hat“ dann würde ich es so machen. Keine Ahnung wieso aber alle schreiben NPN ist besser • Sensor Belegung zur Wiederholung : Braun → +12 V, Blau → 0 V, Weiß → 0 V (damit NPN), Grün = Signal. • G3VM-Eingang (fürsLED): +12 V → 2.2 kΩ → Pin 1, Pin 2 ← Grün. (Beim Antasten zieht Grün auf 0 V → LED bekommt Strom → Relais schaltet.) • G3VM-Ausgang (Pins 3/4): an die zwei Klemmen deines Steuerungseingangs (z. B. COM & IN). → NO, potenzialfrei Ergibt das Sinn?? Lg an alle
:
Bearbeitet durch User
Peter R. schrieb: > Ergibt das Sinn?? Nein, weil du so ja nicht invertierst. Die LED muss parallel zum Schaltransistor des Sensors liegen. Bist du dir mit dem kleinen SMD-Teil sicher?
Rainer W. schrieb: > Für Handbetrieb dürfte die Zeitverzögerung der Elektronik allerdings > sowieso ziemlich egal sein, ... und damit wäre ich wieder beim Relais, ein RS-12 dran - von Panasonic, NAIS oder wie auch immer der Laden aktuell heißt.
nein sicher bei dem teil bin ich nicht wirklich... also ich hab das in einem cnc forum gefudnen aber ich finde den Beitrag nicht mehr. Ich habe dann einen alten Freund der Elektrotechnik hatte angesprochen, der meinte. "ja das passt schon" aber dem vertraue ich nicht so ganz... der ist lange weg von dem zeug. Ich hab ihn gerade eine whatsapp geschrieben dann kam das retour.. Doch das passt schon weil Beim Swiss-Made Sensor ist weiß nur die Mode-Leitung (PNP/NPN). Sie gehört fest an +12 V (für PNP) oder 0 V (für NPN) – nicht an den Eingangs-LED-Kreis des SSR. Das G3VM-61A ist SPST-NO. Ob dein Ausgang „NO beim Antasten“ ist, bestimmst du allein dadurch, wie du die LED des G3VM speist (und welchen Modus – PNP/NPN – du am Swiss-Made wählst). Man muss die LED nicht „parallel zum Transistor“ legen; korrekt ist, die LED so anzuschließen, dass sie genau dann Strom bekommt, wenn du schließen willst. ICH BIN DA VOLL RAUS; das ist nur Bahnhof für mich!!!
:
Bearbeitet durch User
Hast du dennoch eine Idee für mich, die ich umsetzen könnte. Ich bin ziemlich verwirrt oder hast du schon eine Idee geantwortet und ich hab es nicht verstanden??
Peter R. schrieb: > "Beim Swiss-Made Sensor ist weiß nur die Mode-Leitung (PNP/NPN)." Das hier ist Bullshit. > "Man muss die LED nicht > „parallel zum Transistor“ legen; korrekt ist, die LED so anzuschließen, > dass sie genau dann Strom bekommt, wenn du schließen willst." Und nochmals falsch. Du willst ja eben aus einem Öffner einen Schließer machen.
Ich zitiere mal aus dem Datenblatt-3D-finder.pdf von Peter R., Seite 7: "Standardmäßig arbeitet der Schaltausgang als Öffner, eine Variante als Schließer ist auf Anfrage erhältlich" Also einfach mal bei CNC-STEP anrufen. Wenn man ganz lieb bittet tauschen sie dir den Taster eventuell um.
:
Bearbeitet durch User
Ja hab ich schon Machen sie nicht mehr, nichtmal gegen Aufpreis. :-(
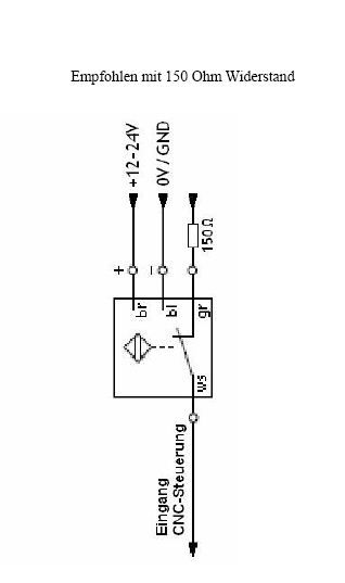
H. H. schrieb: > Peter R. schrieb: >> "Beim Swiss-Made Sensor ist > Und nochmals falsch. Du willst ja eben aus einem Öffner einen Schließer > machen. H.H Darf ich noch einmal stören. Mein Freund meinte nun. „Nein Peter dann hast du mich falsch verstanden aber egal, dann nimm einfach eine G3VM-61B die ist TYP NC. Dann +12 V → 2,2 kΩ → SSRPin 1 → SSRPin 2 → (über den Sensor NC-Kontakt) → 0 V • Pins 3/4 → Steuerungseingang Deine Kontakte sind eh potentialfrei nur eben NC anstatt NO und den Kontakt ziehst über MOS nur musst das extra mit 12v versorgen mit Wiederstand. Schau das ist ganz easy Ruhe (Kontakt zu) → SSR-Eingang bestromt → Form-B öffnet Antasten (Kontakt auf) → kein Strom → Form-B schließt ⇒ NO am Ausgang“ Verstehst du das?? Ist das verständlich, oder auch bullshit?? Lg
Okay wenn ihr beide der Meinung seid dann Probier ich das mal. Vielen Dank 🙏
Beitrag #7965478 wurde vom Autor gelöscht.
Bitte melde dich an um einen Beitrag zu schreiben. Anmeldung ist kostenlos und dauert nur eine Minute.
Bestehender Account
Schon ein Account bei Google/GoogleMail? Keine Anmeldung erforderlich!
Mit Google-Account einloggen
Mit Google-Account einloggen
Noch kein Account? Hier anmelden.


