Hi, Im Bereich Audio und Klasse-D Verstärker wird oft von selbstschwingenden Systemen geschwärmt, die kein externes hochfrequentes PWM Signal verwenden, sondern wie ein Oszillator kontrolliert am Schwingen sind. Ein positives Argument für diese selbstschwingende Variante ist, dass die Regelung eine wesentlich höhere Bandbreite besitzt als bei gewöhnlichen PWM Systemen. Es wird behauptet, dass die Bandbreite so hoch wie die Schaltfrequenz sei. Leider fällt mir schwer, dieses Argument nachzuvollziehen, und leider finde ich auch keine Publikationen oder technische Artikel, die diese These unterstützen. Ist hier ein Audiospezialist unterwegs und hat eine Meinung zu diesem Thema?Sind selbstschwingende Klasse-D Verstärker wirklich so viel besser als gewöhnliche PWM basierende Klasse-D Verstärker? Gruß,
Markus schrieb: > Ist hier ein Audiospezialist unterwegs und hat eine Meinung zu diesem > Thema? ist alles Schrott für Audio. Wer mit D zufrieden ist... Da ist egal welches D...
Markus schrieb: > Sind selbstschwingende Klasse-D Verstärker wirklich so viel besser > als gewöhnliche PWM basierende Klasse-D Verstärker? Die sind beide PWM. Es ist sehr seeehr lange her, dass ich einen d-amp gebaut habe. http://d-amp.blogspot.com/ Für mich war es wichtig, dass es keine Inteferenztöne zwischen den Stereokanälen gibt. Die Quarzsteuerung garantiert, dass das Ding nicht über die (Rundfunk-) Bänder läuft und unkontrolliert stört. Das Schaltnetzteil dient übrigens der Lautstärkeregelung. Ein Vorteil des d-amps den kaum jemand nutzt. LG old.
Markus schrieb: > selbstschwingende Variante Ein Unterschied ist, dass diese bei kleinen Amplituden den Umschaltpunkt jeweils zeitlich früher erreicht und somit die Frequenz höher wird und die Amplituden kleiner ausfallen, als mit einer festen Taktfrequenz. Class D gibt es mit fester Taktfrequenz wobei die Steuerung eine Änderung des Taktverhältnisses bewirkt und eine andere Variante ergänzt noch Ausphasen d.h. Totzeiten.
Ich glaube von der Klangqualität her nehmen sich beide Lösungen nichts. Wenn man sich die älteren Tripath-Verstärker anschaut, die gehen mit der PWM-Frequenz bis in den Mhz-Bereich und erreichen problemlos eine Klangqualität guter Class-AB-Endstufen. Ich hatte damals eine Endstufe mit dem TA3020 aufgebaut, die hatte kein Grundrauschen, keine hörbaren Nebengeräusche durch die PWM. Die davor aufgebauten Class-AB IC-Verstärker hatten alle ein leises Grundrauschen und Antiquarisches wie der A210K reicht evtl. für Omas alten Röhrenfernseher, aber in Sachen Klangqualität war der schrecklich. Was ich mir vorstellen könnte, daß die selbstschwingenden Aufbauten ein besseres Störverhalten haben weil ihre PWM-Frequenz variiert. Aufbauten mit fester PWM-Frequenz erzeugen halt einen konstanten kräftigen Spike, der bei schlechter Filterung auch über die (langen) Lautsprecherkabel abgestrahlt wird. Die ersten PA-Verstärker in Class-D aus den 70er/80er Jahren, als diese Technik möglich wurde, hatten so 2x 300..400W an 4/8 Ohm und eigneten sich auch prima als Langwellensender.
Dieter schrieb: > Ein Unterschied ist, dass diese bei kleinen Amplituden den Umschaltpunkt > jeweils zeitlich früher erreicht und somit die Frequenz höher wird und > die Amplituden kleiner ausfallen, als mit einer festen Taktfrequenz. Hi Dieter, Das ist richtig. Ist halt eine Art Hysterese Regelung. Bei kleinen Amplituden ist die Schaltfrequenz höher. Im Umkehrschluss heißt das aber, dass bei hohen Amplituden die Schaltfrequenz (sehr viel) kleiner ist und die Filterung entsprechend nachlässt, also mehr Rippel am Ausgang ankommt -> schlechtere Tonqualität. Und hohe Amplitude kommt oft bei lauter Musik vor. Bei konstanter Schaltfrequenz ist die Filterung konstant gut/schlecht. Ben B. schrieb: > daß die selbstschwingenden Aufbauten ein besseres Störverhalten haben > weil ihre PWM-Frequenz variiert. Hi Ben, Genau das ist das Argument, dass ich auch immer höre. Die formulieren es nur anders. Die sprechen von Regelbandbreite. Regelbandbreite gibt mE aber nur mit dem Kleinsignalverhalten und dem Bode Plot (Frequenzgang) Sinn. Das, wovon du sprichst, ist doch viel mehr das Großsignalverhalten. Im Kleinsignalverhalten muss man nach wie vor die Phasenreserve etc bei der Reglerauslegung berücksichtigen.
Gockelst Du nach Bruno Putzeys, der ist der anerkannte Experte auf diesem Gebiet und hat ein paar white papers dazu veröffentlicht. Und ignoriere am besten die Mutmaßungen einiger Forenmitglieder hier.
Ben B. schrieb: > Ich hatte damals eine Endstufe > mit dem TA3020 aufgebaut, die hatte kein Grundrauschen, keine hörbaren > Nebengeräusche durch die PWM. Die davor aufgebauten Class-AB > IC-Verstärker hatten alle ein leises Grundrauschen Das ist Werbung. In Wirklichkeit ist das so: holm schrieb: > Das sind auch keine Verstärker, das sind gesteuerte Schaltnetzteile, > Class D, was erklärt warum die in so kleine Gehäuse passen. Und unter Technikern, die nicht marktpolitisch agitieren müssen, ist klar: Linear ist (bei gleichem Schaltungsaufwand) "sauberer" als getaktet. Gerne wird auch mal linear nachgeregelt. LG old.
Mark S. schrieb: > Gockelst Du nach Bruno Putzeys, der ist der anerkannte Experte auf > diesem Gebiet und hat ein paar white papers dazu veröffentlicht. Und > ignoriere am besten die Mutmaßungen einiger Forenmitglieder hier. Genau dieser Experte ist einer derjenigen, der die von mir angezweifelten Behauptungen gestellt hat. Und genau diese Experten hinterfrage ich. Vielleicht sind seine Behauptungen korrekt, seine Veröffentlichungen sind allerdings mangelhaft, denn in seinem Veröffentlichungen kann ich nur schlecht dokumentierte Messungen/Simulationen sehen. Die erste Frage, die sich mir zB aufstellt, ist, wie kann man die Übertragungsfunktion eines selbstschwingenden Klasse-D Verstärkers bis hin zur Schaltfrequenz messen (denn genau das ist die Behauptung, dass die Regelbandbreite so hoch wie die Schaltfrequenz selbst ist), wenn bei gewöhnlichen SMPS spätestens bei der halben Schaltfrequenz (Nyquist) Schluss ist, weil alles über der halben Schaltfrequenz nicht mehr richtig gedeutet werden kann? Wie will man also bei einem selbstschwingenden Verstärker ganz bis zur Schaltfrequenz (die bei mehreren 100kHz liegt) messen können? ? Irgendwas ist hier faul, und ich kann nicht richtig deuten, wo genau der Fehler liegt (bei mir oder beim Experten). Gruß,
Aus der W. schrieb: > Und unter Technikern, die nicht marktpolitisch agitieren müssen, > ist klar: > Linear ist (bei gleichem Schaltungsaufwand) "sauberer" als getaktet. > Gerne wird auch mal linear nachgeregelt. Unter Technikern, die nicht audiophil herumphantasieren, ist Class D schon seit dem letztem Jahrtausend alternativlos. Oliver
Oliver S. schrieb: > Unter Technikern Unter Kaufleuten, weil billiger und kleiner. Der Kühlkörper für Linearverstärker* ist deren Problemkind. Bei Röhren der Übertrager. Zu teuer, zu groß. *Warum nennt man die wohl so? Neues Hobby gefunden: Inverter für Motoren. :) LG old.
Bitte beim Thema bleiben. Class AB vs Class D hat hier nichts zu suchen. Danke,
Ach je, ob man nun audiophilen Goldohrquatsch in Class A, B, C, oder D diskutiert, ist doch völlig egal. 999,9999999% aller Eigenschaften werden den Dingern angedichtet, der Rest basiert zwar auf Fakten, spielt aber eh keine Rolle. Oliver
> Die davor aufgebauten Class-AB > IC-Verstärker hatten alle ein leises Grundrauschen ... Dürfte heute kaum noch relevant sein, weil ohnehin alles auf Maximum zusammengequetscht wird. https://de.wikipedia.org/wiki/Loudness_war
Aus der W. schrieb: > Das Schaltnetzteil dient übrigens der Lautstärkeregelung. > Ein Vorteil des d-amps den kaum jemand nutzt. Das war bis jetzt imho das einzige von Dir, was Sinn ergibt. Markus schrieb: > Bei kleinen > Amplituden ist die Schaltfrequenz höher. Im Umkehrschluss heißt das > aber, dass bei hohen Amplituden die Schaltfrequenz (sehr viel) kleiner > ist und die Filterung entsprechend nachlässt, also mehr Rippel am > Ausgang ankommt -> schlechtere Tonqualität. Und hohe Amplitude kommt oft > bei lauter Musik vor. Bei konstanter Schaltfrequenz ist die Filterung > konstant gut/schlecht. Betrachte diese Aussage(n) doch einfach mal im Umkehrschluß: Gerade bei kleiner Amplitude - da, wo das besonders stört - ist (bei fester Schaltfrequenz) der unerwünschte Anteil hoch. (Siehe THD vs. P_out Diagramme.)
k.k. schrieb: > Siehe THD vs. P_out Diagramme. Ich habe viele dieser Diagramme gesehen und auch schon selbst Messungen dazu gemacht. Der THD+N ist gerade bei hoher Leistung am höchsten (bei der die 1% Marke überschritten wird), nämlich da, wo die Schaltfrequenz bei selbstschwingenden Systemen plötzlich minimal wird und die Oberwellen sich deswegen besonders bemerkbar machen. ? aber du hast Recht, bei minimaler Leistung ist der THD+N ebenfalls höher als bei mittlerer Leistung, wenn auch weit unter 1%. Wobei ich noch nie einen direkten 1:1 Vergleich im THD+N gesehen habe, bei der ein selbstschwingender mit einem PWM basierten Klasse-D verglichen wurde. Ich habe eher das Gefühl, dass es sich damals so etabliert hat und nun, weil es alle so machen, es entsprechend richtig sein muss. Aber eine wirklich tiefgründige theoretische Analyse habe ich dazu noch nicht gefunden, dass selbstschwingende Verstärker deutlich bessere Regeleigenschaften aufweisen. Gruß,
Beim Selbstschwingenden sinkt die Bandbreite mit der momentanen Steilheit des Audiosignals. Das stört aber nicht, weil generell nur tieffrequente Signalanteile große Amplituden haben und starke Frequenzen die schwachen Frequenzen verdecken, nicht wahrnehmbar machen, nennt man Maskierung. Ein kräftiger Bass blockiert also einen gleichzeitigen Beckenschlag, wenn die Lautstärke zu hoch gewählt wird. Nimmt man die Lautstärke zurück, steigt die Bandbreite also an. Ein spezielles Problem ist das Ausgangsfilter, daß generell wegen der übertragenen Leistung passiv ist und daher der variablen Schaltfrequenz nicht nachgeführt werden kann. Im Leerlauf stellt sich die höchste Schaltfrequenz ein, daß verursacht dann hohe Ansteuerverluste der Endstufentransistoren. Ich habe das mal ausprobiert und mir hat es gefallen. Danach entdeckte ich, daß andere das auch schon erfunden hatten.
Abdul K. schrieb: > Ich habe das mal ausprobiert und mir hat es gefallen. Da hast du völlig Recht, und das möchte ich gar nicht bezweifeln. Das alles bezieht sich aber auf das Großsignalverhalten und nicht wirklich auf die Bandbreite im Kleinsignalverhalten (wie es bei der Reglerauslegung bei getakteten Schaltnetzteilen üblich ist - und ein Class-D ist im Prinzip nichts anderes). Dann lass mich dich bitte direkt fragen: Worauf hast du bei der Auslegung deiner Regelschleife Ausschau gehalten (falls du der Regelung wirklich große Beachtung geschenkt hast)? Bandbreite? Phasenreserve? Ist die Bandbreite wirklich so hoch wie die Schaltfrequenz? Nehmen wir an, dass du dich im Leerlauf befindest und dort zB 500kHz Schaltfrequenz hast, und dann ein kleines hochfrequentes Signal injezierst, um deine Regelschleife zu vermessen. Ist die Bandbreite wirklich ebenfalls 500kHz, dh du durchquerst die 0dB Achse bei 500kHz? Ich glaube kaum. Und genau darum geht es mir hier ??? Gruß,
So theoretisch arbeite ich selten. Der Verstärker bestand aus einem AAT4900 MOSFET-Treiber und einem LM311 Komparator sowie Gemüse. Zuerst in LTspice modelliert und auf sinnvolle Werte des Hühnerfutters getrimmt. Ohne Eingangssignal stellte sich ca. 3MHz ein. Das Ausgangsfilter habe ich auf die Hörbandbreite eines Menschen ausgelegt. Dahinter eine 8 Ohm Lautsprecherbox. Das reichte für Zimmerlautstärke locker aus. Damit dann eben rumgespielt. Weiter habe ich es dann nicht verfolgt. Zu dem Thema gibt es ja einiges im Internet und bei Patentanmeldungen zu lesen... Aus dem Kopf weiß ich gar nicht, wo der Unterschied zwischen Großsignal und Kleinsignal hier liegen soll. Wenn ich Schaltregler baue, dann schau ich mir nur die Sprungantwort bei schwacher und großer Last an. Das hat bislang immer gereicht. Am Ausgang ein Signal injizieren und so, das kenne ich nur aus der Theorie.
Wichtig ist am Eingang einen passenden Tiefpass einzubauen, sonst hört man Mischprodukte! Der ist bei analogen Verstärkern aber auch nötig. Prinzipiell kann man auch vor dem Filter am Ausgang den Rückkopplungspfad ansetzen.
Ein Vorteil des Selbstschwingers ist die Tatsache, dass
Nichtlinearitäten der Ausgangsdrosseln auch ausgeregelt werden können
("post filter feedback"). Bruno Putzeys hat durch geschickte
Kompensation sehr hohe Gegenkopplungsfaktoren bis 20kHz erreicht,
entsprechend extrem niedrige Verzerrungen im gesamten Audioband. Die
vielen Nullen hinter dem Komma bei THD und IMD sind längst jenseits der
Hörbarkeitsgrenze jeglicher Goldohren. Andererseits erreichen heutige
Festfrequenz Class-d-Amps inzwischen auch Verzerrungswerte jenseits von
Gut und Böse, so dass die ganze Diskussion um Festfrequenz- oder
Selbstschwingend rein akademisch und außerhalb der akustischen
Wahrnehmung verbleibt.
Just my 2 cents
Markus schrieb: > dass die Bandbreite so hoch wie die Schaltfrequenz sei. Wenn ich das so überlege, dann stimmt die Aussage stimmt und ist ein Trugschluss zugleich. Synchrone frequenzgleiche Signale oder Spikes finden sich im Ausgangssignal vor der Glättungsstufe.
Mark S. schrieb: > Diskussion um Festfrequenz- oder Selbstschwingend rein akademisch Na ja. Ich sehe da Projekt- und Ressourcenbezogen einen deutlichen Unterschied: Die Fehlersuche bei selbstschwingenden Systemen, die aufgrund von Bestückungsfehlern, kalten Lötstellen, kaputtes IC etc ist enorm nervig, weil man fast nicht systematisch vorgehen kann, denn die geschlossene Regelung ist Voraussetzung zur Schwingung. Wir haben das typische Henne-Ei Problem. Bei Festfrequenz kann man die Pizza in einzelne, kleine Stücke schneiden und jedes Stück isoliert betrachten. Das macht die Fehlersuche und Fehlerbeseitigung um Längen einfacher und schneller. Und genau deshalb frage ich, ob selbstschwingend von der Performance wirklich so ultimativ toll ist, das all die Nachteile (Fehlersuche, sehr niedrige Schaltfrequenz bei voller Aussteuerung, keine Möglichkeit das averaged switch PWM Modell nach Vorperian anzuwenden -> nervige und langatmige Spice Simulationen etc) überwiegt. Ich meine Nein, die Leistungselektroniker im Bereich SMPS meinen Nein, die Audio Leistungselektroniker meinen Ja. ? Diese Haltung herrscht nämlich bei uns in der Firma, dass selbstschwingend so viel besser ist und ich scheine der einzige im Team zu sein, der die ganze Sache ein wenig nüchtern betrachtet. ? deshalb würden mich weitere Meinungen interessieren. Gruß,
Um zu zeigen wo der Stand der Technik ist hänge ich mal 3 Meßplots meines DIY-TPA3255 PBTL-Monoblockes an.
Dieter schrieb: > Wenn ich das so überlege, dann stimmt die Aussage stimmt und ist ein > Trugschluss zugleich. Magst du das ein wenig näher erläutern? Gruß,
Mark S. schrieb: > Bruno Putzeys hat durch geschickte Kompensation sehr hohe > Gegenkopplungsfaktoren bis 20kHz erreicht, entsprechend extrem niedrige > Verzerrungen im gesamten Audioband Ja, aber das hat doch nichts mit selbstschwingend oder fest-PWM zu tun, sondern mit der Art der Regelung. Ein Post-filter Feedback ist doch nichts anderes als gewöhnlich "voltage mode control" wie man es bei Schaltnetzteilen und DC/DC Wandlern findet. Warum ist es auf einmal schwarze Magie in selbstschwingenden class-D Verstärkern? Genau da scheitert mein Verständnis. Gruß,
>> Tripath > Das ist Werbung. Quark mit Soße. Für eine Sache, die schon lange nicht mehr hergestellt/verkauft wird, wäre Werbung machen ziemlich sinnlos.
Mark S. schrieb: > Um zu zeigen wo der Stand der Technik ist Zumindest Ehrlich. https://www.mikrocontroller.net/attachment/447755/TPA3255PBTL_Gain_vs_Fq_1V_5R0_ALSA.png Mehr als 1dB bis 20KHz, das ist ausbaufähig. Liegt das am Filter? https://www.mikrocontroller.net/attachment/447756/TPA3255_PBTL_THD_STEPS_1kHz_NE5532.png Dass der Klirr mit der Leistung abnimmt ist nicht schön. Aber er bleibt auch bei kleinen Leistungen unter 0,1%. Aber dann ... Ich würde auf jeden Fall soft clipping machen, bevor das richtig hässlich klirrt. Dafür wie die dampler auf den Putz hauen , ist das nicht so toll. Die Linearverstärker haben da noch definitiv die Nase vorn. LG old.
Markus schrieb: > Mark S. schrieb: >> Bruno Putzeys hat durch geschickte Kompensation sehr hohe >> Gegenkopplungsfaktoren bis 20kHz erreicht, entsprechend extrem niedrige >> Verzerrungen im gesamten Audioband > > Ja, aber das hat doch nichts mit selbstschwingend oder fest-PWM zu tun, > sondern mit der Art der Regelung. Ein Post-filter Feedback ist doch > nichts anderes als gewöhnlich "voltage mode control" wie man es bei > Schaltnetzteilen und DC/DC Wandlern findet. Warum ist es auf einmal > schwarze Magie in selbstschwingenden class-D Verstärkern? Genau da > scheitert mein Verständnis. > > Gruß, Ist keine schwarze Magie. Hat BP in AES papers 2005 alles dargelegt: "Simple Self-Oscillating Class D Amplifier with Full Output Filter Control"
Man könnte meinen ein linearer Verstärker hat weniger Verzerrungen, aber der Schaltregler hat prinzipiell kleinere Übernahmeverzerrungen, weil die Zeit des gleichzeitigen Durchlaufs durch beide Endstufentransistoren minimalst ist. Warum die herkömmlichen Chips alle mit fester PWM-Frequenz arbeiten, ist einfach erklärbar: Die Einhaltung der zulässigen EMV-Maske kann gut vorhergesagt werden. Kein Chiphersteller will verwirrte und dann erboste Kunden haben, nur weil sie es nicht auf die Reihe kriegen! Da macht man lieber auf bewährt weiter... Fehlersuche: Was ist bei einem Schaltregler so schwer den Fehler zu finden? Man speist ein Testsignal ein. Beim Selbstschwinger ist das ein schnöder Rechteck aus dem Funktionsgenerator. Und folgt dem Signalpfad. Das ist ja kein der Ablenkfrequenz folgendes synchrones Schaltnetzteil wie in den alten Philips Röhren-TVs. Letztlich werden beide Ideologien gut genug sein für menschliche Ohren.
Ben B. schrieb: >>> Tripath >> Das ist Werbung. > Quark mit Soße. Für eine Sache, die schon lange nicht mehr > hergestellt/verkauft wird, wäre Werbung machen ziemlich sinnlos. Ja, aber Ideologien halten sich weitaus länger. Ford Mustang sach ich nur.
Abdul K. schrieb: > Man könnte meinen ein linearer Verstärker hat weniger Verzerrungen, aber > der Schaltregler hat prinzipiell kleinere Übernahmeverzerrungen, Nö, Klasse A hat prinzipiell gar keine Übernahmeverzerrungen. Abdul K. schrieb: > Ja, bezog sich auf Damp allgemein. LG old.
Sag mal OldEurope, du bist doch noch eher ein älterer Sack als ich. Also hörst du doch eh nur noch bis max. 6kHz und dast bestimmt schon den ein oder anderen Pieps im Ohr (Tinnitus) Warum also dieses Gedöns. Ich merke eindeutig, dass Musik in den letzten Jahren deutlich dumpfer klingt als früher weil die Höhen weg sind, und ich bin noch keine 60. Abdul K. schrieb: > Letztlich werden beide Ideologien gut genug sein für menschliche Ohren. So ist es
Muss man in Klasse-D-Verstärkern noch Transistoren selektieren und Ruheströme einstellen ? Wenn nicht wäre allein das schon ein riesen Vorteil!
Unfug schrieb: > und ich bin noch keine 60 Den Nick habe ich nach der Aussage von D. Rumsfeld gewählt. LG old.
Aus der W. schrieb: > Abdul K. schrieb: >> Man könnte meinen ein linearer Verstärker hat weniger Verzerrungen, aber >> der Schaltregler hat prinzipiell kleinere Übernahmeverzerrungen, > > Nö, Klasse A hat prinzipiell gar keine Übernahmeverzerrungen. > Gibt keine Nichtlinearitäten, denn das Signal wird digitalisiert mit einem 1-Bit Wandler und die Filter drumherum sind alle linear. Das ist übrigens auch der Grund, warum man ADCs nach diesem Prinzip auf beliebige Bitzahl erweitern kann. Letztlich begrenzt nur durch das Rauschverhalten. Klasse A hat keine prinzipiell lineare Kennlinie. Außerdem reden wir hier schon von richtig Leistung, nur da nimmt man ja Schaltregler.
Juhu schrieb: > Muss man in Klasse-D-Verstärkern noch Transistoren selektieren und > Ruheströme einstellen ? Wenn nicht wäre allein das schon ein riesen > Vorteil! Muß man nicht, aber spiegelsymmetrische Endstufentransistoren sind letztlich immer besser. Beim Schaltregler spielt das aber eine untergeordnete Rolle.
Markus schrieb: > Ich meine Nein, die > Leistungselektroniker im Bereich SMPS meinen Nein, die Audio > Leistungselektroniker meinen Ja. Was soll das denn für ein Gerät werden, daß da „Leistungselektroniker“ mitreden? Eigentlich gibts doch bei dem ganzen Audio-Kram nur zwei Richtungen: High-End, dann definieren die Marketingleute, was da rein muß, oder sonstigen Krach, da sinds die Kontroller. Oliver
Juhu schrieb: > Muss man in Klasse-D-Verstärkern noch Transistoren Wäre schon nicht schlecht, wenn highside und lowside gleiche(n) rdson und Anstiegszeiten haben. Speziell wenn man ohne Gegenkopplung arbeitet. Solche Fehler machen sich als Offset bemerkbar. Auch die Anforderungen an die Betriebsspannung sind bei Damps deutlich höher. Eine L-Stellung über die Betriebsspannung der Endstufe klappt beim Linearverstärker nicht so … Bei Damps kommt der psrr über "Aikido-Methoden" und Gegenkopplung zustande. LG old.
Aus der W. schrieb: > Auch die Anforderungen an die Betriebsspannung > sind bei Damps deutlich höher. Najaaa, ich weiß wohl was Du da meinst. Bei Linear-Verstärkung hast Du schon durch den typ LTP eine sehr hohe PSSR. Das ist aber mehr ein Schaltungsdetail der praktischen Umsetzung und nicht im grundstätzlichen Zusammenhang mit Class AB oder Class-D zu sehen. Guxtu den Original UCD in der diskreten Realisation, dann wirst Du ganz ähnliche oder sogar bessere PSSR wiederfinden.
Doch, weil der Mittelwert der PWM eine Funktion der Amplitude ist. Das ist eben der Preis dafür nur HIGH und LOW verarbeiten, sprich schalten, zu müssen. PWM und PWM-Amplitude (=Betriebsspannung) sind gleichermaßen am Ausgangssignal beteiligt. LG old.
Mark S. schrieb: > Hat BP in AES papers 2005 alles dargelegt: Ich meine, ich habe seine Papers mal gelesen, und kam währenddessen zu dem Entschluss, dass da einige Sachen unklar sind bzw mit denen ich nicht übereinstimme. AES Papers sind in meinen Augen qualitativ schlecht, da finde ich IEEE besser. Muss mal schauen, ob ich die Artikel BP noch habe. BP ist leider nicht der beste Verfasser in meinen Augen und betrachtet die Systeme nicht aus den Augen eines Leistungselektronikers sondern aus den Augen eines BP ;) Lass mich versuchen, den Artikel zu finden, um ihn noch mal zu studieren. Ggf kann ich dich dann ja noch mal bei konkreten technischen Details zu Rate ziehen. Gruß,
Jegliche Art der PWM-Reglung benötigt zur Signalrekonstruktion ein Mittelwertfilter. Indem man den bereits vorhanden Ausgangs-LC-Tiefpaß benutzt, ergeben sich grundsätzlich geringere Abweichungen als beim gesonderten Tiefpaßfilter eines pre-filter-feedback Festfrequenz Wandlers, und Nichtlinearitäten dieses Filters (Spulenkerne!) werden gleich noch mit ausgeregelt. Dies macht imho den Charme des UCD-Ansatzes aus. Von den aktuell bekannten class-d-Konzepten dürfte er das mit Abstand beste Einschwingverhalten haben, und das nahezu lastunabhängig. Auf der aktuellen Hypex-Seite finden sich einige der papers.
Als ich mich ganz kurze Zeit aus reiner Neugier mit Class-D beschäftigt habe, fand ich in den meisten Beiträgen das große Problem, die PWM- oder auch Modulatorfrequenz ausreichend! stabil zu halten. Die Entwürfe, die ich da gefunden habe, waren weit weg von der simplen PWM mit Tiefpass. Das waren richtige "Monsterschaltungen" und das, um bei wirklich moderaten Leistungen auch nur annähernd in die Größenordnung einer gut entworfenen AB-Endstufe zu kommen. Klar, was man oder frau hört, stand schon immer auf einem anderen Blatt...und bleibt letztlich ja auch reine Geschmacksache :-) Gruß Rainer
In den 90-Jahren habe ich mich auch daran versucht. Mit einigem Aufwand waren dann akzeptable Resultate zu erzielen mit Rauschabständen um 90dB. Aber neben der grundlegenden Funktion fehlten immer jegliche Schutzmechanismen, insbesondere Überstrom- und Übertemperaturschutz. Dies diskret zu implementieren führte mich an meine Grenzen so dass ich das Ganze wg mangelnder Robustheit irgendwann fallen ließ. Seit etwa 10 Jahren sind nun monolithisch integrierte Class-D-Verstärker auf dem Konsumentenmarkt angekommen. Diese liefern nicht nur ausgezeichnete Übertragungsqualität sondern eine Vielzahl an Schutzfunktionen die diese Teile nahezu unkaputtbar machen. Kleines Beispiel: Mein TPA-3255 Modul wollte anfangs nicht funktionieren, es startete einfach nicht sonder blieb stromlos. Nach längerer Suche fand ich einen Lötkleks zwischen einem Brückenausgang und pos. Versorgungsspannung. Dieser Kurzschluß wurde in der Startprozedur sofort erkannt und es folgte der latching shutdown. Seit der Entfernung dieses Kurzschlusses läuft das Teil einwandfrei. Mit einer diskreten Schaltung hätte so etwas sofort Puff gemacht. Bruno Putzey mag ja mit seinen NCore-Modulen ausgezeichnete Meßwerte reproduzieren die die Konkurrenz in dieser Hinsicht in den Schatten stellen. Exorbitante AudioDaten sind für mich aber nicht allein und kriegsentscheidend. Da die Technik dahinter proprietär, also geheim ist, kann ich mir über deren Robustheit kein Bild verschaffen - und deshalb sind für mich die TI-Bausteine ganz klar das Mittel der Wahl.
Wir sind alle nur Menschen mit einem Erfahrungshintergrund. Meinen kennt Ihr, der von voltwide ist ein Chip-Hersteller. Entsprechend lastig sind dann die Beiträge. Dein Personenkult mit heiligen Schriften kommt komisch rüber. Schreibe doch einfach: Der Bruno hatn Blog dazu geschrieben + Hyperlink. Mark S. schrieb: > Mein TPA-3255 Modul Das Teil würde ich nicht wechseln wollen. Deshalb erwarte ich da Schutzschaltungen. Sonnst kommt die Dekupiersäge und ein China-Modul zum Einsatz. Ich habe aber kein Problem damit, zwei TO220 MOSFETs, zwei Sicherungen und ein 8-Pin Dip IC zu tauschen. LG old.
Aus der W. schrieb: > Wir sind alle nur Menschen mit einem Erfahrungshintergrund. > Meinen kennt Ihr, der von voltwide ist ein Chip-Hersteller. > Entsprechend lastig sind dann die Beiträge. > > Dein Personenkult mit heiligen Schriften kommt komisch rüber. > Schreibe doch einfach: Der Bruno hatn Blog dazu geschrieben > + Hyperlink. Abgesehen vom ersten Satz ist so ziemlich alles falsch was Du da so schreibst. Ich bin beileibe kein Chip-Hersteller, sondern Hardware-Entwickler, um nur mal das klar zu stellen.
Aus der W. schrieb: > Ich habe aber kein Problem damit, zwei TO220 > MOSFETs, zwei Sicherungen und ein 8-Pin Dip > IC zu tauschen. Dies zählt nun nicht zu meinen Hobbys.
Da heutzutage die meisten Signalquellen digital sind, spielt auch eine Rolle, welche Art von DA-Wandler verwendet wird. Wenn das chipintern ist, dann passt entweder das eine oder andere Class D Prinzip besser. Ganz dunkel erinnere ich mich, dass das irgendwie bei den Erklaerungen fehlte.
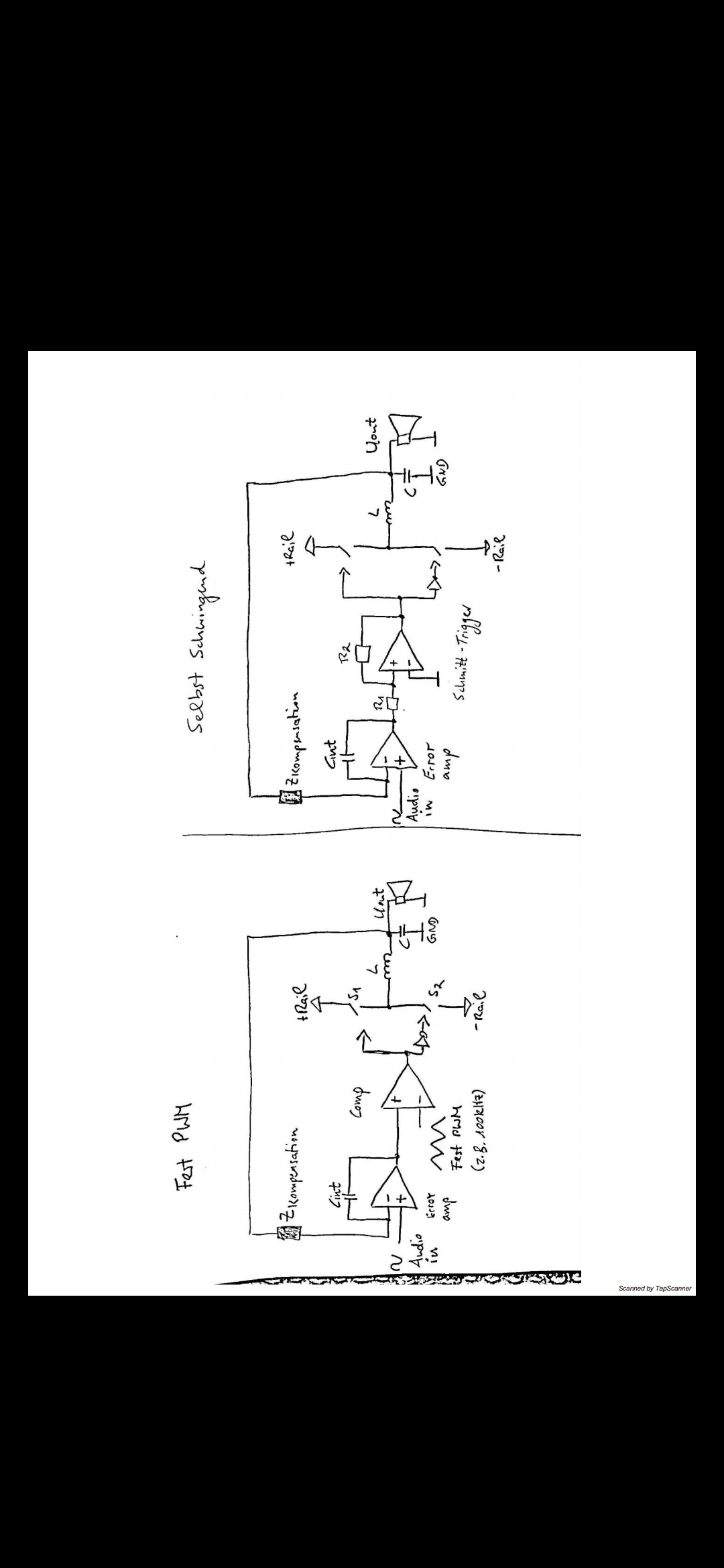
Hi, Vielen Dank für diese rege Diskussion. Ich habe gestern Abend ein Paar Artikel (unter anderem auch vom BP) gelesen, aber auch Artikel bezüglich selbstschwingenden Schaltwandler von anderen Doktorarbeiten und Artikeln. Bevor ich weiterhin viel Schaltprosa verwende und ggf Informationen missverständlich rüberbringe, habe ich einfach mal zwei Prinzipschaltungen aufgemalt und angehängt. Links ein klassischer Fest-PWM mit äußerer Spannungsregelung (Spannung nach dem LC Filter wird zurückgeführt und geregelt). Rechts ein Hysterese selbstschwingender Wandler, der ebenfalls die Ausgangsspannung regelt. Beide Schaltungen haben eine Spannungsregelung gemeinsam durch den Error amp sichergestellt. Einziger Unterschied ist, dass beim Fest-PWM ein Komparator mit einem externen Dreieck verwendet wird (100kHz im Bild), wohingegen der Hysterese selbstschwingender Wandler einen Schmitt Trigger verwendet, dessen Hysterese anhand von R1 und R2 eingestellt wird. Der Ausgang vom Regler regelt also bis zu den Grenzen des Schmitt Trigger und schaltet dann in die entgegengesetzte Richtung. Ich glaube, im Fachkreis nennt man das auch Relaxation oscillator. Jetzt meine Frage an euch Experten: Hat der selbstschwingende Wandler wirklich eine deutlich bessere Regeleigenschaft als der Fest-PWM? Ich verstehe, dass der Selbstschwinger die Schaltfrequenz bei einer Sprungänderung sinkt und darauf schneller reagieren kann. Aber macht sich das zB in einer THD+N Vermessung wirklich bemerkbar? Das Testsignal für THD ist ein reiner Sinus mit fixer Frequenz und kein Audio oder pink noise oder so. Gruß,
Markus schrieb: > Jetzt meine Frage an euch Experten: Hat der selbstschwingende Wandler > wirklich eine deutlich bessere Regeleigenschaft als der Fest-PWM? Sagen wir es einmal so: Wenn die Frequenz der Fest-PWM gleich hoch, wie die des selbstschwingenden class d bei sehr kleinen Pegeln und zur DA-Quelle synchronisiert waere, dann waere das zu verneinen.
Markus schrieb: > Jetzt meine Frage an euch Experten: Hat der selbstschwingende Wandler > wirklich eine deutlich bessere Regeleigenschaft als der Fest-PWM? Dieses Konzept brauchst Du nur, wenn Dein Phasenmodulator unlinear ist. Diese Überallesgegenkopplung ist DAS Problemkind bei Verstärkern. Und um PWM zu verstärken bedarf es keiner Gegenkopplung. Wer baut sich denn sowas freiwillig in einem Damp ein? Hallo? Baue Dir einen linearen Dreieckgenerator, verwende einen schnellen Komparator und baue Dir ab dann keine analogen Probleme mehr dazu. Es gibt heute so schöne Komparatoren, OTAs und OPVs für richtig gute lineare PWM-Modulatoren, da machst Du mit einer "Regelung" mehr kaputt als gut. Du baust da doch keinen PWM-Modulator mit einem Monoflop wie ich das damals gemacht habe. Und selbst da ist die Gegenkopplungschleife nur so kurz wie nötig! LG old.
Aus der W. schrieb: > Baue Dir einen linearen Dreieckgenerator, verwende einen > schnellen Komparator und baue Dir ab dann keine analogen > Probleme mehr dazu. So eine Endstufe hat praktisch keinen Dämpfungsfaktor. Der wird wahrscheinlich eh total überbewertet.
Sven S. schrieb: > So eine Endstufe hat praktisch keinen Dämpfungsfaktor. Doch, hat er. Prognose: Müsste in der Größenordnung des rdson liegen. LG old.
Aus der W. schrieb: > Diese Überallesgegenkopplung ist DAS Problemkind bei Verstärkern. > Und um PWM zu verstärken bedarf es keiner Gegenkopplung. > > Wer baut sich denn sowas freiwillig in einem Damp ein? Hallo? Diese Überallesgegenkopplung ist DAS Lösungskind bei Schaltnetzteilen und DC/DC Wandlern. Warum ist bei D-Amps plötzlich kein Tracking des Audiosignals nötig? Da kannst du am Eingang reintun was du willst, und hast keinerlei Ahnung was am Ausgang herauskommt. Natürlich sehe ich eine negative Rückkopplung als Notwendigkeit - auch in der Audiobranche. Weshalb sollte dort lediglich eine Steuerung reichen und keine Regelung? Gruß,
Aus der W. schrieb: > Sven S. schrieb: >> So eine Endstufe hat praktisch keinen Dämpfungsfaktor. > > Doch, hat er. > Prognose: Müsste in der Größenordnung des rdson liegen. So ein Schmarrn. Markus schrieb: > Diese Überallesgegenkopplung ist DAS Lösungskind bei Schaltnetzteilen > und DC/DC Wandlern. Du meintest wohl Problemkind.
Sven S. schrieb: > Du meintest wohl Problemkind. Kommt darauf an, von welchem Blickwinkel man es betrachtet. Ist die Regelung richtig implementiert, ist es das Lösungskind. Ist man von Regelungstechnik wenig Ahnung hat, ist sie das Problemkind im Design. Meine Erfahrung jedenfalls. Gruß,
Markus schrieb: > Diese Überallesgegenkopplung ist DAS Lösungskind bei Schaltnetzteilen > und DC/DC Wandlern. Warum ist bei D-Amps plötzlich kein Tracking des > Audiosignals nötig? > ... > > Weshalb sollte dort lediglich eine Steuerung reichen und keine Regelung? Bei einem Step-Down converter schaltest Du nur zwischen Pluspol und Last. Deshalb ist die Ausgangsspannung wie Gummi und Du musst sie regeln. Der Damp schaltet zwischen Plusminus Ub und Last. Da ist die Ausgangsspannung Tastgrad (D-0,5)*Ub. Deshalb ist der Dämpfungsfaktor da Lautsprecherwiderstand/rdson. Und das ist wahrlich ein hoher Wert. https://de.wikipedia.org/wiki/Tastgrad LG old.
Aus der W. schrieb: > Deshalb ist der Dämpfungsfaktor da Lautsprecherwiderstand/rdson. Du vergisst das wesentliche Detail: Die Induktivität.
Sven S. schrieb: > Du vergisst das wesentliche Detail: Die Induktivität. Das ist eine Hochfrequenz-Induktivität. Sie drosselt die Schaltfrequenz. Bei meinem amp macht sie nichtmal das. Der Lautsprecher macht das. LG old.
Dieter schrieb: > Sagen wir es einmal so: > Wenn die Frequenz der Fest-PWM gleich hoch, wie die des > selbstschwingenden class d bei sehr kleinen Pegeln und zur DA-Quelle > synchronisiert waere, dann waere das zu verneinen. Das wäre aber teilweise widersprüchlich zu deiner vorigen Aussage: Dieter schrieb: > Markus schrieb: >> dass die Bandbreite so hoch wie die Schaltfrequenz sei. > > Wenn ich das so überlege, dann stimmt die Aussage stimmt und ist ein > Trugschluss zugleich. Bei Fest-PWM geregelten Wandlern liegt die Bandbreite der Regelung Pi mal Daumen bei ca 1/10tel der Schaltfrequenz. Heißt also, Selbstschwingern wird nachgesagt, sie würden 10 mal so schnell wie Fest-PWM arbeiten. ?
Ich hatte mal vor Jahren es mit einer variablen PWM Frequenz gemacht. Da war das EMV verhalten besser und "klanglich" war es auch etwas besser. Jedenfalls waren die reinen Sinus Werte sauberer. Aber warum kann ich heute nicht mehr sagen. Ich habe das Teil aber inzwischen entsorgt und mir einen guten Vollverstärker (class D) zugelegt.
Markus schrieb: > Bei Fest-PWM Ich habe nichts dagegen, wenn Du einen DC-Offset wegregelst. Aber bitte lasse das Signal in Ruhe! LG old.
Aus der W. schrieb: > Das ist eine Hochfrequenz-Induktivität. > Sie drosselt die Schaltfrequenz. Bei meinem amp > macht sie nichtmal das. Der Lautsprecher macht das. Da hast Du einen Leistungssteller gebastelt. Dämpfungsfaktor: Null.
Sven S. schrieb: > Dämpfungsfaktor: Null. Im Gegenteil! Ich habe mal mit einem d-amp ohne Gegenkopplung einen Sinusformer für das Lichtnetz gebaut. (Und patentiert!) Glaube mir, der hätte ohne Dämpfungsfaktor nicht funktioniert. Ausgangsspannung = (D-0,5)*Ub Da ist prinzipiell kein Widerstand drin. Beitrag "Re: Klasse-D Verstärker - selbstschwingend wirklich so toll?" LG old.
Markus schrieb: > Das wäre aber teilweise widersprüchlich zu deiner vorigen Aussage: ..... >> Wenn ich das so überlege, dann stimmt die Aussage und ist ein >> Trugschluss zugleich. .... > Bei Fest-PWM geregelten Wandlern liegt die Bandbreite der Regelung Pi > mal Daumen bei ca 1/10tel der Schaltfrequenz. Heißt also, > Selbstschwingern wird nachgesagt, sie würden 10 mal so schnell wie > Fest-PWM arbeiten. ? Bei kleinen Amplituden hat der Selbstschwinger die hohe Frequenz. Bei gro0en Amplituden geht die Frequenz deutlich runter. Die Regelung PI wird auf 1/10 der hohen Frequenz ausgelegt und schon hast Du belegt, dass die Bandbreite so hoch wie die Schaltfrequenz sei im Vergleih zur Fest-PWM.
Dieter schrieb: > Bei kleinen Amplituden hat der Selbstschwinger die hohe Frequenz. Bei > gro0en Amplituden geht die Frequenz deutlich runter. Die Regelung PI > wird auf 1/10 der hohen Frequenz ausgelegt und schon hast Du belegt, > dass die Bandbreite so hoch wie die Schaltfrequenz sei im Vergleih zur > Fest-PWM. Diese Antwort kann ich so nicht nachvollziehen, und belegt wurde hier in meinen Augen nichts um ehrlich zu sein. Denn dann würde ich einfach die Fest-PWM Frequenz hochdrehen, so dass sie gleich der hohen Frequenz im Leerlauf des Selbstschwingers ist. :) Das wäre für ich eine passende Grundlage für einen fairen Vergleich der beiden Modulationsarten. Ich sehe die ganze Sache sowieso von einer anderen Betrachtungsweise: Anstatt zu sagen, dass die Frequenz bei kleinen Amplituden hochgeht, sage ich eher, dass die Frequenz bei hohen Amplituden heruntergeht. Heißt also, dass der Apfel-Apfel Vergleich für mich auf Basis der Leerlauffrequenz des Selbstschwingers ist. Gruß,
Hm. Man will doch bei beiden Topologien die maximale Schaltfrequenz für optimale Signalrekonstruktion, aber die minimalste für möglichst großen Wirkungsgrad. Was ist nun für euch die richtige Metrik? Hysterese brauch der Selbstschwinger nicht. Das ist im Prinzip ein RC-Selbstschwinger erweitert um eine verlängerte Durchlaufzeit hauptsächlich bestehend aus dem LC-Tiefpaß am Ausgang. Einfach mal in SPICE reinkippen und damit spielen. Und wie einfach ein Versuchsaufbau ist, habe ich ja vorgeführt. Meiner Meinung nach, nutzt der Selbstschwinger die natürlichen Höreigenschaften besser aus.
Abdul K. schrieb: > Was ist nun für euch die richtige Metrik? Die Schaltfrequenz so hoch wie möglich, ohne dass die MOSFETs zu heiß werden. Der quantitative Wert. Ob nun 100kHz, 500kHz oder 1MHz ist völlig egal, denn mir ging es darum, dass die Fest-PWM Frequenz gleich der Frequenz des Selbstschwingers im Leerlauf ist (also da, wo sie am höchsten ist), um einen fairen Regelvergleich zu haben. Abdul K. schrieb: > Hysterese brauch der Selbstschwinger nicht. Das ist im Prinzip ein > RC-Selbstschwinger erweitert um eine verlängerte Durchlaufzeit > hauptsächlich bestehend aus dem LC-Tiefpaß am Ausgang. Meiner Recherche nach gibt es mehrere Arten von Selbstschwinger. Phasenverschobene Selbstschwinger (RC phase shift oscillator) oder aber auch Hysterese Selbstschwinger (Relaxation oscillator). Darauf wollte ich in diesem Thread aber eigentlich nicht tiefer eingehen, sofern nicht sonderlich nötig. Ich wollte es eigentlich auf Fest-PWM vs. Selbstschwingend mit Hinblick der Regeleigenschaften belassen. :) RC Phase shift oscillator: https://en.wikipedia.org/wiki/Phase-shift_oscillator#/media/File:RC_phase_shift_oscillator.svg Relaxation oscillator: https://da.wikipedia.org/wiki/Fil:Op-Amp_Relaxation_Oscillator.svg Abdul K. schrieb: > Einfach mal in SPICE reinkippen und damit spielen. Und wie einfach ein > Versuchsaufbau ist, habe ich ja vorgeführt. Habe ich gemacht, sowohl für Fest-PWM und Selbstschwinger. Beide Sprungantworten für einen Lastsprung (1MegOhm -> 4Ohm) sowie Sprungantworten für einen Sprung am Eingang (0V -> 1V -> 2V etc.) ähneln sich sehr. In Spice kann ich keinerlei Unterschied feststellen. Genau das bestätigt meine Zweifel, dass der Selbstschwinger deutlich schneller regelt als ein Fest-PWM :) Abdul K. schrieb: > Meiner Meinung nach, nutzt der Selbstschwinger die natürlichen > Höreigenschaften besser aus. Magst du das näher erläutern? Inwiefern nutzt er sie besser aus? Gruß,
Gute Frage. Momentan weiß ich nicht so recht was ich drauf antworten soll. Den Selbstschwinger kann man wie oldeurope schon darlegte, als herkömmliches Push-Pull Schaltnetzteil ansehen. Dessen Referenzspannung ist nun nicht fest, sondern wird vom Eingangssignal geführt. Explizite Hysterese ist meiner Meinung nach nicht notwendig, kann aber vermutlich die gewünschte minimale Pulsdauer der Ansteuerung der FETs sicherstellen. Also Effizienzverbesserung im Tausch gegen schlechtere Audioqualität.
Hast du dir mal die FFT am Ausgang angesehen, bei verschiedenen Signalamplituden. Da müßte man einen Unterschied sehen. Ansonsten gilt das was ich zum Thema Maskierung sagte. Geht es überhaupt noch um Audiosignale mit ihren spezifischen Eigenschaften? Ich wollte damals damit was ganz anderes realisieren, es zeigte sich aber das ein Schaltregler für die Anwendung eher ungeeignet wäre, u.a. wegen sehr variabler Lastimpedanz und zu hohen Frequenzanteilen des Eingangssignals. Die FETs hätten im MHz-Bereich schalten müssen.
Hallo Leute, mal kurz meinen Senf dazu: Ich habe sowohl einen selbstschwingenden Amp als auch einen PWM fixed-frequency Amp einmal diskret aufgebaut. Beide Endstufen waren single supply BTL amps. Die eine Seite lief dann immer invertiert, Spannungsreferenz war auf 1/2 * Supply gelegt. Beim selbstschwingenden Amp habe ich mich an dem IR-Design des IRS2092 orientiert mit dem doppelten Integrator. Der größte Vorteil dürfte hier wohl sein, dass er extrem leicht zu designen ist, man braucht nur einen Audio Op-Amp (Behringer verwendet hier z.B. den NE5532 in seinen iNukes amps), clampt den Ausgang über eine Diode auf einen erträglichen Eingangspegel für die Gate-Driver und macht die Rückkopplung. Das selbstschwingende Konzept kann man auf eine fixe idle-Frequenz trimmen, die er dann hat, solange die Modulation bei 0 ist. Diese ist Abhängig hauptsächlich von der Auslegung des Integrators, der Spannung und der Delays die durch Gate-Treiber, Mosfets etc. verursacht werden. Je höher die Modulation ist, desto langsamer wird die Schaltfrequenz. Es ist faktisch eine Art großer sigma-delta Wandler eigentlich. Ich habe den Integrator aber mithilfe einer Transientensimulation im Spice vorher ausgelegt - habe echt gar nichts gefunden, wie man da ein AC Modell sich ableitet, um die loop-Kompensation korrekt zu bestimmen. Die fixed-frequency PWM hat das Problem, dass eine PWM selber (auch wenn das Audiosignal 1:1 korrekt auf den duty-cycle gemappt ist) Distortion ins Signal bringt, die die Regelschleife erstmal ausregeln muss. Dieses Problem hat der selbstschwingende Amp nicht und erreicht daher in der Praxis meistens geringere Werte im THD. Der selbstschwingende Amp ist daher eigentlich kein PWM amp, weil das keine richtige PWM ist die hinten raus kommt. Der Opamp schaltet einfach gerade so hin und her, dass sein Regelpunkt eingehalten wird. Ich habe inzwischen einige Schaltpläne gesehen und würde sagen, dass faktisch alle Designs in größeren Leistungsbereichen ab 300/400 Watt (PA Zeugs) auf dem selbstschwingenden Konzept basiert. Man kann dem selbstschwingenden sigma-delta Amp übrigens auch eine Frequenz aufzwingen, in dem man in den Summing-Node des Error-Amps einen kleinen Sinus mit der gewünschten Frequenz einspeist. Kann man z.B. hier in den Schaltplänen einer Yamaha DXR115 sehen: https://schematicscom.blogspot.com/2015/07/yamaha-dxr8-dxr10-dxr12-dxr15-powered.html der TDA7492 arbeitet übrigens auch nach diesem Prinzip, wenn man das Blockschaltbild mal genau ansieht: https://www.st.com/resource/en/datasheet/tda7492.pdf Die richtigen PWM Bausteine haben den Vorteil, dass man die Hauptschaltfrequenz vorhersehen kann. Gerade im automotive Bereich ist das sinnvoll, die EMV vorhersehen zu können. Es gibt übrigens noch eine 3. Form einen Class-D Amp zu bauen -> mit volldigitaler PWM Modulation. Siehe z.B. TAS5713. So etwas habe ich auch mal in einem FPGA nachgebaut und extern direkt einen Leistungsbrücke angeschlossen an den FPGA. Das größte Problem liegt hier darin, das Audiosignal mit 24 Bit Auflösung in eine PWM mit > 300 kHz moduliert zu bekommen. Hier bräuchte man theoretisch Timer die im zweistelligen Gigahertz-Bereich laufen um diese PWM Auflösung hin zu bekommen, was technisch natürlich nicht geht. Daher sind die PWM Generatoren meistens nur mit etwas zwischen 4-8 Bit Auflösungen und man baut einen Multibit-Sigma Delta Wandler digital auf, der dann den Quantisierungsfehler durch die schlechte PWM Auflösung über mehrere PWM Zyklen ausregelt und faktisch die Audioqualität bekommt, als hätte man z.B. 16 oder mehr Bit.
Class-D Amp schrieb: > Die fixed-frequency PWM hat das Problem, dass eine PWM selber (auch wenn > das Audiosignal 1:1 korrekt auf den duty-cycle gemappt ist) Distortion > ins Signal bringt, die die Regelschleife erstmal ausregeln muss. Woher soll diese Verzerrung kommen? Selbst wenn die existiert, kann man die Regelung lokal ausführen. Ich halte eine Regelung, damit ist tatsächlich Gegenkopplung gemeint, für völlig überflüssig. Schließlich kann man ja die Rampe beliebig formen. Das ist ein Vorteil des d-amps den man ruhig mal nutzen darf. LG old.
Aus der W. schrieb: > Woher soll diese Verzerrung kommen? http://www.openmusiclabs.com/learning/digital/pwm-dac/pwm-distortion-analysis/index.html
Aus der W. schrieb: > Markus schrieb: >> Jetzt meine Frage an euch Experten: Hat der selbstschwingende Wandler >> wirklich eine deutlich bessere Regeleigenschaft als der Fest-PWM? > > Dieses Konzept brauchst Du nur, wenn Dein Phasenmodulator > unlinear ist. > Diese Überallesgegenkopplung ist DAS Problemkind bei Verstärkern. > Und um PWM zu verstärken bedarf es keiner Gegenkopplung. > > LG > old. Wenn Du keine Ahnung hast, halt einfach mal die Klappe
Class-D Amp schrieb: > Die fixed-frequency PWM hat das Problem, dass eine PWM selber (auch wenn > das Audiosignal 1:1 korrekt auf den duty-cycle gemappt ist) Distortion > ins Signal bringt, die die Regelschleife erstmal ausregeln muss. Dieses > Problem hat der selbstschwingende Amp nicht und erreicht daher in der > Praxis meistens geringere Werte im THD. Der selbstschwingende Amp ist > daher eigentlich kein PWM amp, weil das keine richtige PWM ist die > hinten raus kommt. Der Opamp schaltet einfach gerade so hin und her, > dass sein Regelpunkt eingehalten wird. Hi Class-D Amp, Interessanter Beitrag. Lars Risbo hat seine Doktorarbeit über Sigma-Delta Modulation geschrieben im Bereich Klasse-D Verstärker. Zugegeben, mit meiner Brille eines Leistungselektronikers habe ich nicht viel verstanden. Vielleicht sollte ich mich in Sigma-Delta ADCs mal einlesen - dann kann ich selbstschwingende Verstärker vielleicht ja besser verstehen. Wobei ich hier noch mal direkt nachfragen möchte: Dass eine Fest-PWM bei niedriger PWM Frequenz Oberwellen ins niederfrequente Spektrum einbringt, ist klar. Entsprechend hoch sollte man die PWM Frequenz wählen, um am Ausgang einen möglichst sauberen Grundton zu erreichen, ohne Oberwellen. Aber dasselbe Problem hat ein Selbstschwinger doch auch, wenn dessen Frequenz nicht hoch genug ist? Oder missverstehe ich dich? Gruß,
Class-D Amp schrieb: > Aus der W. schrieb: >> Woher soll diese Verzerrung kommen? > > http://www.openmusiclabs.com/learning/digital/pwm-dac/pwm-distortion-analysis/index.html Durch die Phasenmodulation der "Trägerfrequenz" wenn diese im Ausgangssignal vorhanden ist und nah an der (doppelten) Signalfrequenz liegt. Tut sie das? Klirren soll es nicht bis zur halben oberen Hörfrequenz. Also ein Voodoo Problem, weil Du davon weit entfernt sein musst, um die obere Hörfrequenz übertragen zu können. Lösung: Phasenmodulation entfernen durch "Phase Correct PWM" Dann mach das doch. Keine Gegenkopplung notwendig. PS: >>> 1. PWM theory. >>> At its most basic level, PWM is amplitude modulation (AM) >>> of a carrier frequency (the PWM frequency). Trotz dieser Falschaussage lohnt es sich den Blog zu lesen. Danke dafür. Ist gespeichert. LG old.
Markus schrieb: > Aber dasselbe Problem hat ein > Selbstschwinger doch auch, wenn dessen Frequenz nicht hoch genug ist? > Oder missverstehe ich dich? Nach meinem Verständnis ist das hier nicht so, weil man keine fixe Trägerfrequenz wie beim fixed-PWM hat. Beim fixed-PWM entstehen dadurch definitiv Mischprodukte aus Audiofrequenz und Trägerfrequenz, die ausgeregelt werden müssen. Beim selbstoszillierenden ist es mehr oder weniger eine direkte binäre Repräsentation des Audio-Signals ähnlich wie bei PDM Modulation. Die Distortion die hier übrig bleibt ist dann im Prinzip nur der nicht-idealen Bauelementen geschuldet (z.B. begrenzte Slew-Rate der Leistungsbrücke, Überschwinger erzeugt durch PCB Induktivitäten und dem schnellen Schalten, begrenzten inneren Loop-Gains und des Schleifendelays).
Class-D Amp schrieb: > Nach meinem Verständnis ist das hier nicht so, weil man keine fixe > Trägerfrequenz wie beim fixed-PWM hat. Beim fixed-PWM entstehen dadurch > definitiv Mischprodukte aus Audiofrequenz und Trägerfrequenz, die > ausgeregelt werden müssen. Definitiv nicht, weil es hier genau so unwahrscheinlich ist einen fixen Phasenbezug zur Signalfrequenz zu bekommen. LG old.
Class-D Amp schrieb: > Nach meinem Verständnis ist das hier nicht so, weil man keine fixe > Trägerfrequenz wie beim fixed-PWM hat. Beim fixed-PWM entstehen dadurch > definitiv Mischprodukte aus Audiofrequenz und Trägerfrequenz, die > ausgeregelt werden müssen. > > Beim selbstoszillierenden ist es mehr oder weniger eine direkte binäre > Repräsentation des Audio-Signals ähnlich wie bei PDM Modulation. Aaaah, vielleicht ist jetzt der Groschen gefallen. Bei fixed-PWM hat man immer zwei Frequenzen, nämlich den Audio-Grundton und dann die externe höherfrequente PWM Frequenz. Das gibt dann im Komparator eine PWM Folge, die sowohl aus Audio-Grundton und hochfrequenter Trägerfrequenz besteht. Grahame Holmes hat ein Buch über PWM Theorie geschrieben, in der er das Spektrum dieser PWM Folge analytisch berechnet - spannendes Buch! Beim Selbstschwinger fällt die externe höherfrequente PWM Frequenz am Komparator weg, so dass die PWM Folge am Ausgang des Komparators nicht mehr ein Mischprodukt aus Audio-Grundton und hochfrequenter Trägerfrequenz ist, sondern jetzt Audio-Grundton und "irgendwas anderes", wobei das "irgendwas anderes" für mich jetzt ein wenig undefiniert ist. Deshalb kommt vielleicht (sowohl von dir als auch anderen Artikeln) der Vergleich zum Delta-Sigma Modulator :) Ich glaube, dass meine Motivation bezüglich Delta-Sigma ADCs nun wesentlich gestiegen ist :) Vielen Dank! Gruß,
Wenn du noch etwas Lektüre haben magst: https://www.analog.com/media/en/analog-dialogue/volume-40/number-2/articles/class-d-audio-amplifiers.pdf Analog-Devices hat es hier auch nochmal erklärt unter dem Kapitel "Modulation Technique".
Markus schrieb: > und "irgendwas > anderes", wobei das "irgendwas anderes" für mich jetzt ein wenig > undefiniert ist. Das "irgendwas anderes" ist im Prinzip ein schwaches sehr breitbandiges Rauschen im Gegensatz zu konkreten Mischprodukten beim fixed-PWM. Der Sigma-Delta Regler schiebt die Rauschprodukte aber im Frequenzbereich nach oben, sodass sie im für Menschen hörbaren Bereich so stark wie möglich reduziert werden. Du kannst im Netz auch mal nach "Noise Shaping" suchen.
TDA7492 sieht nicht nach Selbstschwinger aus. Das Blockschaltbild ist da vermutlich irreführend, denn der Oszillatorausgang wird ne Stromquelle sein, nicht spannungsgeführt. Vermutlich alles per gm-Zellen realisiert Weiter hinten im DB beschreiben sie auch ne feste Frequenzeinstellung inkl. Chip zu Chip Synchronisierung.
Class-D Amp schrieb: > Das "irgendwas anderes" ist im Prinzip ein schwaches sehr breitbandiges > Rauschen im Gegensatz zu konkreten Mischprodukten beim fixed-PWM. Deine Art von fixed-PWM verwendet aber kein mir bekannter Damp. Dazu müsste man das Audiosignal begrenzen und vervielfachen um daraus das Dreiecksignal für den Komparator zu liefern. Ich verstehe unter fixed-PWM eine bei welcher der Dreieckgererator seine Frequenz aus einem, nach Möglichkeit frequenzstabilen, Oszillator bekommt. Da es bei letzterem weder in Phase noch in Frequenz einen fixen Bezug zum Audiosignal gibt, besteht kein Unterschied zwischen fremd- und selbsterregt. Im Bezug zum Audiosignal sind beide nicht fix. Beim selbstschwingenden besteht theorethisch die Möglichkeit, dass er irgendwie auf die Audiofrequenz rastet und die von Dir beschriebenen Probleme generiert. Bei selbstschwingend könnte es Schwebungstöne aus linkem und rechtem Kanal geben, wenn der Lautsprecher in der Lage ist die Taktfrequenz in Schall umzusetzen. Bei 50KHz schaffen das manche Hochtöner. Deshalb rate ich Euch für beide (alle) Kanäle einen Mutteroszillator zu verwenden. In meinem Fall ist das ein Quarzoszillator. Das waren jetzt mal zwei Argumente gegen selbstschwingend. LG old.
Bei Class D wird es ein Knuddel-Muddel wenn nicht zwischen analoger Quelle oder direkter digitaler Einspeisung unterschieden wird. Ein Beispiel hierzu: Wenn das Signal von einer CD kommt, mit 5 fachen oversampling und digital an den class D (internen DA-Wandler) übertragen wird, dann wäre es optimal, wenn dieser mit synchroner festen PWM (220.5kHz oder vielfache davon) arbeiten würde. Außerdem werden die theoretischen Vorteile von selbstschwingenden Class D Verstärkern durch Mitnahme der damit möglichen Einsparungen an Kosten (bei den Chipsätzen) in der Regel bereits wieder einkassiert.
Dieter schrieb: > Ein Beispiel hierzu: Wenn das Signal von einer CD kommt, mit 5 fachen > oversampling und digital an den class D (internen DA-Wandler) übertragen > wird, dann wäre es optimal, wenn dieser mit synchroner festen PWM > (220.5kHz oder vielfache davon) arbeiten würde. Das wird bei den voll-digitalen Class-D Amps mit I2S Eingang in der Regel auch so gemacht. Siehe TAS5760.. Hier ist die Switching Frequenz als ein 8 oder 16 vielfaches der Input-Sampling Rate angegeben. Der interne Digitallogik bzw. der Noise-Shaper / PWM Modulator läuft dann komplett voll-synchron zum Audio-Eingang. Es gibt noch andere I2S Amps, bei denen das Zwangsläufig nicht so ist, die brauchen dann aber einen asynchronen Samplerateconverter -> braucht aber sehr viel Chipfläche.
Abdul K. schrieb: > Juhu schrieb: >> Muss man in Klasse-D-Verstärkern noch Transistoren selektieren >> und Ruheströme einstellen ? >> >> Wenn nicht wäre allein das schon ein riesen Vorteil! > > Muß man nicht, > aber spiegelsymmetrische Endstufentransistoren... > Beim Schaltregler spielt das aber eine untergeordnete Rolle. Bzw. gar_keine Rolle. Man benutzt für Klasse D Halb- wie auch Vollbrücken (geschaltete Mosfets) wenigstens zumeist keine P-Ch. in der Highside, denn wg. der besseren Eigenschaften/Chipfläche ist 2x (o. 4x) N-Ch. besser. "Komplementäre" Ts (also P + N auch noch möglichst identisch bei möglichst vielen Parametern) gibt es zwar auch bei Klasse D [Wenn man bei symm. Versorgung (aka +/- Rails) beide vom gleichen Signal ansteuern will, völlig ohne Invertierung und Level Shift - genau so, wie gewöhnlich bei den Linearverst. ... manchmal frage ich mich, ob der 1. Klasse D Amp Zufall war. ;-) Ok, not really. 2 x N als Linearverst. wäre ja ebfs. überhaupt kein Problem, wenn (w/o Aufwand) ein invertiertes, levelgeshiftetes Signal (hier als Analogsignal) zur Verfügung stünde. Das Prinzip "Quasikomplementär" ist praktisch nur wg. d. untersch. Transistor-Grundschaltung @ +/- (Kollektor- (/Drain-) vs. Emitter- (/Source-) Schaltung) so mies.], aber beim DC Output Buck mit P-Ch + N-Ch (wg. o. g. Vereinfachung auch noch heutzutage zu finden) sind sie nicht mögl. identisch, sondern werden, wie bei 2 x N-Ch. auch, entweder schlicht halbwegs gleich gestaltet (integr. CMOS @ monolith. Konverter-IC), oder an das ÜV (also dir jew. Leitend-Zeiten) angepaßt. Somit ist "untergeordnete Rolle" noch untertrieben, finde ich.
k.k. schrieb: > Das Prinzip "Quasikomplementär" ist (...) mies. Was man allerdings schon (durch Beifügung einiger "korrigierender" weiterer Bauteile im unteren Zweig) ein Stück verbessern kann - für daran Interessierte etwas Lesestoff (dann Offtopic Ende): http://www.keith-snook.info/wireless-world-magazine/Wireless-World-1989/Evolutionary%20Audio.pdf
Aus meinen mittlerweile doch schon 10 Jahre zurückliegenden Class-D Basteleien erinnere ich mich noch daran, so etwas ähnliches wie Übernahmeverzerrungen, also Nichtlinearitäten im Nulldurchgang gesehen zu haben. Zurückgeführt habe ich das dann darauf, dass bei kleinen Ausgangsspannungen der Strom durch das Ausgangsfilter anfängt zu lücken und damit das Verhältnis von Tastgrad zu Ausgangsspannung nicht mehr linear ist. Konnte zu dem Zusammenhang so auf die schnelle nichts wirklich brauchbares finden, oder bin ich da auf dem falschen Dampfer?
Aus der W. schrieb: > Ich verstehe unter fixed-PWM eine bei welcher der Dreieckgererator > seine Frequenz aus einem, nach Möglichkeit frequenzstabilen, > Oszillator bekommt. Ja und das ist auch so. Nur dass es eben verdammt schwierig ist, einen ausreichend guten Dreieckgenerator hinzubekommen! Einige der Schaltungsentwürfe, die ich mir seinerzeit angesehen hatte, haben deshalb auch versucht, ohne "Dreieck" auszukommen. Wie gesagt...Monsterschaltungen...es gab sogar LT-Spice-Entwürfe (über mehrere Blätter), die ich hier liebend gern einstellen würde - zur Abschreckung?! - wenn ich sie nur noch hätte :-) Gruß Rainer
Rainer V. schrieb: > Ja und das ist auch so. Nur dass es eben verdammt schwierig ist, einen > ausreichend guten Dreieckgenerator hinzubekommen! Ist es nicht. Ein FM-Demodulator arbeitet an einer S-Kurve und das reicht schon aus. Welchen Klirrfaktor strebst Du denn an? LG old.
Lukas K. schrieb: > oder bin ich da auf dem falschen Dampfer? Ja, das Grundprinzip des damp lässt das nicht zu. Beitrag "Re: Klasse-D Verstärker - selbstschwingend wirklich so toll?" LG old.
Tact/Lyngdrof verwendet in seinen Verstärkern (Ultra-Linear) Referenz- Signalgenerator mit konstanter Schaltfrequenz. z.b. beim SDA2175 Ist viel hifi-geschwurbel dabei: Geräte der Lyngdorf SDA Verstärkerserie sind folgendermaßen aufgebaut : Digitaler Schaltverstärker mit Analog-Eingang, oder allgemeiner auch als Class D Verstärker bezeichnet. Das Class D Verstärkerprinzip kann verschiedenste Arten eingesetzt werden. Der Lyngdorf SDA basiert auf einem Class AD Konzept mit einem Ultra-Linear Referenz- Signalgenerator mit konstanter Schaltfrequenz. Dies steht im Gegensatz zu anderen selbst-modulierten Schaltverstärkern die vom Ausgangssignal abhängig ihre Schaltfrequenz ändern. Um die besonderen Qualitäten verstehen zu können, müssen wir bestimmte spezielle Merkmale hervorheben. Andere TacT und Lyngdorf Verstärker wie der Millennium und der M2150 arbeiten völlig gegenkopplungsfrei mit Ausnahme der Regelung des Netzteils. Das schafft gewisse Vorteile, die sich auch in der Gegenkopplungsstruktur des SDA Verstärkers niederschlagen. Die Gegenkopplung im SDA gründet auf 2 getrennten Kreisen mit gemäßigter und linearer Gegenkopplung über den gesamten Audiobereich (etwa 30 dB) und Feed Forward Kompensation des Netzteils. Die lineare Gegenkopplungsschaltung bietet diverse Vorteile. Zunächst ist die Gegenkopplung konstant, ebenso bei höheren Frequenzen, damit wird eine exzellente Unterdrückung von Verzerrungen im kritischen oberen Frequenzband erreicht, wo andere Verstärker mit steigenden Verzerrungen reagieren. Das Konzept mit 2 Gegenkopplungskreisen kompensiert auch Lastschwankungen in einem weiten Bereich, besonders wichtig beim Treiben komplexer Lasten wie Lautsprecher, im Gegensatz zu den linearen Lastwiderständen eines Laborprüfstands. Die Feed Forward Kompensation des Netzteils korrigiert jegliche Welligkeit im Netzteil der Ausgangsstufe. Deshalb kann die Gegenkopplung der Ausgangsstufe in Maßen gehalten werden, was dem Verstärker exzellente Verzerrungswerte selbst bei großem Ausgangspegel beschert. Die Ausgangsstufe ist ähnlich wie beim Tact Millennium aufgebaut, mit patentierten Konzept der H-Brücken, welche mit sehr schnellen Schaltzeiten eine sehr natürliche Wiedergabe wie in den voll digitalen Verstärkern erzielt. Wesentlich ist die bereits sehr gute Leerlaufverstärkung um die unvermeidbaren Nebeneffekte einer Gegenkopplung in Grenzen zu halten. Dank des patentierten Konzepts hat der SDA Verstärker extremschnelle Schaltzeiten in den Halbbrücken der Ausgangsstufe, nahe der idealen Modulation. Das Konzept ist so linear, daß Verzerrungen von weniger als 0.1% auch bei Vollaussteuerung über die volle Übertragungsbandbreite erreicht werden. Darüberhinaus können die angewandten Techniken auch für präzise Strommessungen genutzt werden. Also kann eine Schutzschaltung außerhalb des Signalwegs liegen. So wird sowohl der Verstärker als auch die Last geschützt, ohne die Qualität des Audiosignals zu beeinträchtigen, wie es für Überstromsicherungen oder Widerstände typisch wäre. Der Verstärker ist voll symmetrisch vom Eingang bis zum Ausgang aufgebaut, die Vorteile hinsichtlich Brumm- und Störgeräuschenunterdrückung liegen auf der Hand. Selbst die interne Gegenkopplung loop in der Ausgangsstufe ist voll symmetrisch. Soweit irgend möglich ist die Schaltung gleichspannungsgekoppelt. Abgesehen von einem Koppelkondensator mit einer Grenzfrequenz weit unterhalb des Audiobereichs (bei 0.3Hz) ist der Rest des Verstärkers gleichspannungsgekoppelt, was eine Diskussion über die Qualität der verwendeten Kondensatoren hinfällig macht. Im analogen Signalweg werden nur höchstwertige Bauteile eingesetzt. Verzerrungsärmste Burr-Brown Operationsverstärker in der Eingangsstufe und Polypropylenkondensatoren in der Ausgangsfilterstufe. In dieser Glättungsfilterstufe eines Schaltverstärkers wird gern von den meisten Herstellern gespart, sowohl aus Platz- wie aus wirtschaftlichen Gründen, zumal das Filter außerhalb des Hörbereichs zu liegen scheint. Aber selbst Filter, die mehrere Oktaven oberhalb des Hörbereichs liegen, beeinflussen die Linearität innerhalb des Audiobereichs, so daß das SDA Ausgangsfilter aus einer um einen Ferritstab gewickelten Spule mit geringem Verlust und Polypropylenkondensatoren besteht, die gemeinsam ein sehr verzerrungsarmes Filter bilden. Ferritstäbe haben gegenüber Ringkernen einen sehr großen Luftspalt mit sehr geringer Parallelkapazität, was zu sehr geringer Elektro Magnetischer Interferenz (EMI) auf der Ausgangsseite des Filters führt. Damit hat der Verstärker keine Schwierigkeiten, alle CE-Bestimmungen für ElektroMagnetische Verträglichkeit (EMV) zu erfüllen – selbst mit längeren Lautsprecherkabeln. Darüberhinaus werden die Schaltfrequenz- Komponenten am Verstärkerausgang effizient gedämpft. Damit kommen wir zu einem weiteren wichtigen Thema. Einer der Gründe, warum die Modulation im SDA Verstärker auf einer festen Referenzfrequenz aufbaut, (was Aufwand und Kosten in die Höhe treibt) ist die Tatsache, daß die Schaltfrequenz bei etwa 400 kHz konstant gehalten wird – selbst bei voller Modulation. In den meisten selbst-modulierten Schaltverstärkern fällt die Schaltfrequenz bei hohem Ausgangssignal - in manchen Fällen geht die Modulationsfrequenz sogar bis 100 kHz herunter. Mit einem auf 80 kHz abgestimmten Ausgangsfilter kann man sich leicht vorstellen, daß die Welligkeit des Ausgangssignal bedeutend ansteigt. In einigen High-End Konzepten versucht man diesen Nachteil durch Ausgangsfilter höherer Ordnung zu beheben, mit höheren Verlusten und Verzerrungen. Noch ist nicht vollständig erforscht, inwieweit hochfrequente Schaltanteile am Ausgang des Verstärkers den Lautsprecher beeinflussen, aber es ist wohl bekannt, daß hochfrequente Energie auf den Lautsprechergegeben, die magnetischen Materialien sättigt, die Schwingspule des Hochtöners erhitzt, und deshalb dei Arbeitspunkte verschiebt und Verzerrungen erzeugt. Konsequenterweise begrenzt im Tact SDA das Ausgangsfilter die Schaltanteile auf unter hundert mV an der Lautsprecherklemme, zu wenig, um den Lautsprecher zu beeinträchtigen. Ein weiterer Vorteil der genauen Referenzfrequenz im Modulationsprozess ist, daß das Grundrauschen sich im Gegensatz zu anderen Schaltverstärkern nicht mit dem Signal moduliert. Und das Grundrauschen vom Verstärker selbst ist extrem niedrig – was einen sehr guten Störabstand von 117 dB bedeutet. Selbst mit wirkungsgradstarken Lautsprechern in Aktivsystemens ist kein Grundrauschen wahrnehmbar. http://www.fl-electronic.de/neu/lyngdorf-sda2175.html
Aus der W. schrieb: > Und unter Technikern, die nicht marktpolitisch agitieren müssen, > ist klar: > Linear ist (bei gleichem Schaltungsaufwand) "sauberer" als getaktet. > Gerne wird auch mal linear nachgeregelt. > > LG > old. Unter Graubärten und Audiophiliespinnern gilt das als Konsens. Der E-Techniker weiß aber, dass der "Lärm", den Klasse-D-Verstärker produzieren sich oberhalb des hörbaren Bereiches abspielt. Praktisch und theoretisch sind Klasse-D-Verstärker in allen Belangen besser.
Zum Thema PSRR: Weihnachtsmann schrieb: > Die Feed Forward Kompensation des Netzteils korrigiert jegliche > Welligkeit im Netzteil der Ausgangsstufe. Deshalb kann die Gegenkopplung > der Ausgangsstufe in Maßen gehalten werden Bestätigt diesen Post von mir: Aus der W. schrieb: > Bei Damps kommt der psrr über "Aikido-Methoden" und > Gegenkopplung zustande. Ich meine man kann die Gegenkopplung in der PWM-PA ganz weglassen. PWM ist keine AM, sie gehört zu den Modulationsarten bei denen der Flankenwechselzeitabstand die Information enthält wie FM und PM. Und was glaubt Ihr über wie viele Stufen solch Modulierte Signale ohne Gegenkopplung laufen. Warum soll die Gegenkopplung in der PWM-Endstufe ausgerechnet der Heilsbringer sein ? Ihr verbaut Euch damit diverse Optionen. Angefangen bei der Lautstärke-Steuerung über die Ub der PA. LG old.
Lukas, das kommt vermutlich von der Totzeit beim Umschalten der Endstufentransistoren. Kleine Eingangsamplitude bedeutet hohe Schaltfrequenz und damit deutlicher werdende Fehlzeiten im Gesamtsignalzyklus. Man brauch also eine dynamische Nachführung der Totzeit, damit diese immer minimal wird. Unabhängig von Bauelementetoleranzen und Betriebsbedingungen. Reine CMOS Chips sind da ideal, manche MOSFET-Treiber haben sowas auch drin. Bei 5ns Umschaltzeit und 3MHz maximaler Schaltfrequenz fiel mir das hörtechnisch nicht auf. Eher das es kristallklar klang. Betreffend SDA2175: Das ist echtes Marketinggeschwafel, wo einer versucht seinen fertiggebrachten Weg als den einzig Glückseligen zu verkaufen. Das Ding mag ja gar nicht schlecht sein, aber es ist vollkommen überzogen dargestellt.
> Praktisch und theoretisch sind Klasse-D-Verstärker in allen > Belangen besser. Und die nachgeschalteten Lautsprecher (ggf. mit Frequenzweichen) um mindestens 2 Dekaden schlechter ...
Abdul K. schrieb: > Lukas, das kommt vermutlich von der Totzeit beim Umschalten der > Endstufentransistoren. Kleine Eingangsamplitude bedeutet hohe > Schaltfrequenz und damit deutlicher werdende Fehlzeiten im > Gesamtsignalzyklus. 3. Argument gegen selbstschwingend. LG old.
Ich kann nicht fassen, dass achtundzwanzig Jahre danach die Leut' immer noch zwischen Ubmax tackern und sich Filter in den Signalweg bauen müssen. LG old.
Aus der W. schrieb: > Ich kann nicht fassen, dass achtundzwanzig Jahre danach > die Leut' immer noch zwischen Ubmax tackern und sich > Filter in den Signalweg bauen müssen. Das sind sicherlich dieselben Leute, die es nicht fassen können, dass es nach achtundzwanzig Jahren immer noch Leute gibt, die keine geschlossene Regelschleife in Klasse-D Amps verwenden oder einen Ausgangsfilter ? Gruß,
Haben den Unterschied zwischen analog und digital nicht verstanden und behandeln den Damp wie einen Analog Amp. Die Verarbeitung eines Rechtecksignals bedarf keiner Gegenkopplung. LG old.
Aus der W. schrieb: > und behandeln den Damp wie einen Analog Amp. Ist er ja auch. https://www.hypex.nl/img/upload/doc/an_wp/WP_All_amps_are_analogue.pdf
Markus schrieb: > Aus der W. schrieb: >> und behandeln den Damp wie einen Analog Amp. > Ist er ja auch. > > https://www.hypex.nl/img/upload/doc/an_wp/WP_All_amps_are_analogue.pdf Die Einführung ist schon falsch. Für die Jungs ist alles, was nicht codiert ist, analog. Codiertes ist für die Digital. Wer so schwammig definiert, kommt zu entsprechenden Resultaten. Ich mag bei solch falschen Ansätzen eigentlich gar nicht weiterlesen tue das aber trotzdem weil viele Leser sich ja nach solchen Schriften richten. Ich unterscheide zwischen drei Arten: analog, digital und codiert. LG old.
Aus der W. schrieb: > Ich mag bei solch falschen Ansätzen eigentlich gar nicht weiterlesen Verschiedene Menschen, verschiedene Meinungen. Ich (und mehrere andere hier in diesem Thread) sind nicht unbedingt mit dir einer Meinung. Sonst wäre die Welt ja auch sehr einseitig :) Gruß,
Aus der W. schrieb: > Ich unterscheide zwischen drei Arten: > analog, digital und codiert. Deinen Seniorenindividualismus in Ehren, aber Du bist nun mal nicht maßgeblich in diesem Feld. Besser Du schwadronierst über Röhren, da kannst Du ja noch mit reden.
Meinst Du nicht, dass man Aspekte besser beurteilen kann, wenn man sie trennt, statt sie in einen Topf zu werfen? Zumindest verstehe ich jetzt, weshalb Ihr zwischen Damp und analog per Convention [sic!] nicht unterscheidet, weil PWM ist für Euch ja analog. Interessant. Ich glaube Ihr verbaut Euch da den Weg. Da ich differenzierter urteile, kann ich Euer Handeln nun nachvollziehen. Umgekehrt geht das nicht. So stehen da halt unterschiedliche Meinungen im Raum. LG old.
Aus der W. schrieb: > Ich glaube Ihr verbaut Euch da den Weg. Idealerweise sollten wir uns zusammen setzen und gemeinsam zwei Verstärker entwickeln (einmal nach deinen Vorstellungen und einmal nach meinen) und im Labor unter gleichen Bedingungen (Messgeräte, Quellen, Lasten etc) vermessen. Alles andere endet in einer Glaubensfrage, bei der die Meinungen auseinanderlaufen ? Gruß,
Mark S. schrieb: > Besser Du schwadronierst über Röhren Ich bin in beiden Welten gut zu hause. LG old.
Markus schrieb: > Idealerweise sollten wir uns zusammen setzen und gemeinsam zwei > Verstärker entwickeln (einmal nach deinen Vorstellungen und einmal nach > meinen) und im Labor unter gleichen Bedingungen (Messgeräte, Quellen, > Lasten etc) vermessen. Wie soll das gehen? Bei mir kommt ein digitales Signal raus und bei Dir ein analoges. [Ironie] Mag zwar sein das Du da keinen Unterschied siehst, aber ein Rechteck sieht auf meinem Scope anders aus als ein Sinus.[/Ironie] LG old.
Der Vorschlag ist doch nicht schlecht. Am Ende wohnt ihr nur ein Haus auseinander ;-) Beide Verstärker geben doch ein tiefpaßgefiltertes Signal aus. Könnte man auch in SPICE machen. Nur leider nicht direkt als Differenzsignal am Ausgang, weil die Durchlaufzeiten vermutlich doch zu unterschiedlich sind.
Aus der W. schrieb: > Ich unterscheide zwischen drei Arten: > analog, digital und codiert. Der ganz grosse Mist bei allem hier ist, dass aller Schall ueber analoge Uebertragung in jedes Ohr kommt. Es fehlt da noch der digitale Direktanschluss beim Menschen. Nur Synthesizer direkt abgegriffen sind digitale Quellen. Fundiertes Wissen ist welche Art von Klirrfaktoren unangenehmer klingt als andere gleicher Staerke. Unstrittig ist, dass an die kleine Baugroesse und Wirkungsgrade eine Roehrenendstufe nie heran kommt. Uebrigens gab es class d Endstufen schon mit Roehren. In einer Fachbibliothek stiess ich im letzten Jahrtausend mal drauf unter den ausrangierten Buechern.
Class-D hat auch nichts mit digital zu tun. Class-B ist auch nicht binär und Class-A nicht für'n Arsch. Am ehesten noch Class-C für Christen, weil deren Ausgangssignal oft gen Himmel fährt.
Dieter schrieb: > Der ganz grosse Mist bei allem hier ist, dass aller Schall ueber analoge > Uebertragung in jedes Ohr kommt. Es fehlt da noch der digitale > Direktanschluss beim Menschen. Ganz im Gegenteil. Indem man mithilfe der Massenträgheit des Lautsprechers aus PWM eine analoge Schallübertragung macht, ist man sehr nah am Menschen dran. LG old.
Das strahlt aber wie blöde und erhitzt unnötig die Schwingspule, deswegen ist das nur die Billiglösung
Aus der W. schrieb: > Ich kann nicht fassen, dass achtundzwanzig Jahre danach > die Leut' immer noch zwischen Ubmax tackern und sich > Filter in den Signalweg bauen müssen. Abdul K. schrieb: > Das strahlt aber wie blöde und erhitzt unnötig die Schwingspule Ja, mein Reden. Die Integration im Lautsprecher ist der interessante Aspekt des damp. Wer darauf verzichten muss, hat's nicht verstanden. LG old.
Aus der W. schrieb: > Massenträgheit des Lautsprechers Die kommt im Ersatzschaltbild des Lautsprechers vor. Ziel ist aber diese durch eine Regelung zu minimieren. Bei direkt digital gespeisten class d ist das als Modell bereits hinterlegt. Die Steuerimpulse beinhalten die Vorverzerrung bereits prediktativ. Der Filter ist da nur noch aus EMV Gruenden am Ausgang. Das ist der Unterschied zwischen 25 Euro Bluetooth Boxen und 250 Euro Geraeten gleicher Leistung.
Aus der W. schrieb: > Die Integration im Lautsprecher ist der interessante Aspekt > des damp. Wer darauf verzichten muss, hat's nicht verstanden. Interessant... Da gibt es ganze F&E Abteilungen mit klugen Ingenieuren, und eigentlich sind sie doch so dumm, weil das Geheimnis die Spule im Lautsprecher ist? Und du bist der einzige, der das rallt :)
Markus schrieb: > Interessant... > Da gibt es ganze F&E Abteilungen Ich habe Dir erklärt, worauf es mir ankommt. Was andere machen (müssen um Marktkompatibel zu sein), das ist deren Ding. Genau wie es deren Ding ist zu behaupten PWM=AM, oder PWM=analog. Solche Leute sind für mich keine Vorbilder denen ich was nachmache. Zum Glück standen mir solche Schriften damals nicht zur Verfügung. Ich habe Methoden gefunden um im Lautsprecher integtieren zu können, ohne das der überhitzt. Mir ist das wichtig und ich mache das dann so. Was ich bei Euch inkonsequent finde, bei Elektromotoren tackert Ihr ohne Filter mit voller Zwischenkreisspannung. Beitrag "Re: Arduino Kondensatormotor Drehzahlsteuerung" 05.03.2020 08:39 LG old.
Aus der W. schrieb: > Was ich bei Euch inkonsequent finde, bei Elektromotoren > tackert Ihr ohne Filter mit voller Zwischenkreisspannung. Bei Motoren steht die Qualität der Stromes bzw der Spannung auch nicht als Hauptfaktor im Vordergrund. Aber lassen wir das Thema. Schade, wie ein technisch interessanter Thread wegen solch Murks zugrunde geht. Gruß,
Die Erwärmung durch die Schaltfrequenz ist bei Lautsprechern und Motoren ein wichtiger Aspekt: Abdul K. schrieb: > Das strahlt aber wie blöde und erhitzt unnötig die Schwingspule, Markus schrieb: > Aber lassen wir das Thema. In Ordnung, Du hast als Themenstarter hier das Sagen. LG old.
Markus schrieb: > Schade, wie ein technisch interessanter > Thread wegen solch Murks zugrunde geht. Das ist typisch für Threads, in denen Darius auftaucht. Sein Hauptanliegen ist es, zu zeigen dass er der Klügste ist, alle Anderen nur Idioten.
Aus der W. schrieb: > Ich habe Methoden gefunden um im Lautsprecher > integtieren zu können, ohne das der überhitzt. > Mir ist das wichtig und ich mache das dann so. Und, kann man das irgendwo kaufen, oder lässt Du die Welt sonstwie daran teilhaben, oder willst Du Dich nur wichtig machen, wie damals im Kindergarten?
Rein technisch gesehen, gibt der Thread jetzt momentan auch nichts mehr her. Wie soll es weitergehen?
Abdul K. schrieb: > Wie soll es weitergehen? Wir könnten den Thread so lange pausieren, bis zum eigentlichen technischen Thema "Selbstschwinger vs. Fest-PWM" Neues hinzukommt. Nur weil das eigentliche Thema vorerst behandelt ist, heißt das nicht, dass man danach die wilde Sau rauslassen kann :) Ich werde den Thread abspeichern in der Hoffnung, dass, wenn es nennenswerte Neuigkeiten gibt, er wieder aktuell wird. Vielen Dank an alle für die Beiträge. Gruß,
Wie lautet denn Dein Fazit? Auch 3:0 für fix? LG old.
Markus schrieb: > Aus der W. schrieb: >> Die Integration im Lautsprecher ist der interessante Aspekt >> des damp. Wer darauf verzichten muss, hat's nicht verstanden. ...... > Und du bist der einzige, der das rallt :) Er ist nicht der Einzige. Der feine Unterschied, oder besser gesagt kleine vollkommene unbedeutende Unterschied ist jener, dass es ihm egal zu sein scheint, ob irgendein Geraet in der Nachbarschaft dadurch gestoert wird, oder ein Tierchen jault oder vergrault wird.
Dieter schrieb: > Der feine Unterschied Danke. Um hier nicht zu stören, habe ich einen Thread für das Thema aufgemacht: Beitrag "d-amp: Mit oder ohne Filter?" Und im Startbeitrag das Argument gebracht, welches dem selbsterregten Amp das Genick bricht. LG old.
Aus der W. schrieb: > Mark S. schrieb: >> Besser Du schwadronierst über Röhren > > Ich bin in beiden Welten gut zu hause. > > LG > old. Ich verschenke ein "gleich".
Bitte melde dich an um einen Beitrag zu schreiben. Anmeldung ist kostenlos und dauert nur eine Minute.
Bestehender Account
Schon ein Account bei Google/GoogleMail? Keine Anmeldung erforderlich!
Mit Google-Account einloggen
Mit Google-Account einloggen
Noch kein Account? Hier anmelden.


