Hallo zusammen, momentan versuche ich ein mit einem Raspberry Pi Pico erzeugtes PWM Signal über einen 8 Ohm 0.5W Lautsprecher auszugeben. Da der Pico mit 3 AA Batterien betrieben wird sollte auch der Verstärker mit 4.5V laufen. Dazu habe ich verschiedene Emitterschaltungen als auch die hier beschriebene Gegentaktstufe (https://www.mikrocontroller.net/articles/Klangerzeugung) ausprobiert (als Transistoren hatte ich BC327 und BC337 verwendet). Der Ton wird zwar ausgegeben aber ist extrem leise. Ist es möglich einen Verstärker mittels BC327 und BC337 aufzubauen, um den Ton etwas lauter auszugeben und evtl die 0.5W des Lautsprechers auszunutzen? Welche Schaltung ist dafür zu empfehlen? Danke für eure Hilfe.
Hannes schrieb: > Da der Pico mit 3 AA Batterien betrieben wird sollte > auch der Verstärker mit 4.5V laufen. Batterien sind nicht ewig voll. Du brauchst einen Verstärker für 2,7 bis 5 Volt. Mit einer Brückenendstufe kannst du die Leistung verdoppeln. Class-C Endstufen haben darüber hinaus weniger Verluste, als Class-B. PAM8403 Module gehen in diese Richtung. Für eine Zimmerlautstärke mit ein wenig Bass reicht die Spannung aber nicht. Da wirst du wohl einen Step-Up Wandler auf mindestens 6 Volt brauchen.
Steve van de Grens schrieb: > Hannes schrieb: >> Da der Pico mit 3 AA Batterien betrieben wird sollte >> auch der Verstärker mit 4.5V laufen. > > Batterien sind nicht ewig voll. Du brauchst einen Verstärker für 2,7 bis > 5 Volt. > > Mit einer Brückenendstufe kannst du die Leistung verdoppeln. Class-C > Endstufen haben darüber hinaus weniger Verluste, als Class-B. PAM8403 > Module gehen in diese Richtung. > > Für eine Zimmerlautstärke mit ein wenig Bass reicht die Spannung aber > nicht. Da wirst du wohl einen Step-Up Wandler auf mindestens 6 Volt > brauchen. Vielen Dank für die Rückmeldung. Bass bzw. gute Klangqualität benötige ich nicht, da eh nur ein 3s Klingeln ausgegeben werden soll. Kann auch etwas leiser als Zimmerlautstärke sein, sollte aber im gut hörbaren Bereich liegen und am besten wenig Verluste haben, damit die Batterien möglichst lange halten. Schade, habe darauf gehofft dies möglichst einfach diskret aufbauen zu können.
Hannes schrieb: > Schade, habe darauf gehofft dies möglichst einfach diskret aufbauen zu > können. Nee, das wird ziemlich aufwändig, wenn du kein fertiges IC verwendest. Ich würde wie gesagt ein PAM8403 Modul nehmen. 5 Stück kosten bei Aliexpress zusammen keine 3 Euro. Amazon ist teurer, liefert aber schon nächste Woche: https://www.amazon.de/ANGEEK-PAM8403-Stereo-Verst%C3%A4rker-Digital/dp/B07KQCKWF8 https://www.amazon.de/Fafeicy-PAM8403-Digitaler-Audioverst%C3%A4rker-Leistungsverst%C3%A4rkermodul/dp/B08D9MGHM2 https://www.amazon.de/DollaTek-5V-Audioverst%C3%A4rker-Digitalendstufenmodul-Stereo-Verst%C3%A4rker-Potentiometer/dp/B07DJWGQVY
Ich würde zunächst mal probieren den Ausgangselko auf 470yF zu setzen. Weiter den 20 Ohm 4,7yF Filter auf 10 Ohm 2,2yF runtersetzen, oder/und einfach mal andere Lautsprecher ausprobieren.
Gustav schrieb: > Ich würde zunächst mal probieren den Ausgangselko auf 470yF zu > setzen. > Weiter den 20 Ohm 4,7yF Filter auf 10 Ohm 2,2yF runtersetzen, oder/und > einfach mal andere Lautsprecher ausprobieren. Da kommt trotzdem nicht viel mehr bei raus. Selbst beim Weglassen der Bauteile 20R und 4,7uF, weil Kollektorschaltung. Oder den TDA2822M als Brückenschaltung einsetzen. Der hat aber auch Ruhestromverbrauch, wenn auch nur sehr gering.
Hannes schrieb: > beschriebene Gegentaktstufe > (https://www.mikrocontroller.net/articles/Klangerzeugung) ausprobiert Dein PiPico liefert nur 3.3V high, da kommen am Lautsprecher nur 1.3Vss an (3.3-1-1). Das bringt an 8 Ohm nur 52 Milliwatt, klar ist das leise. Ein Pegelwandler wie 74HCT00 vorweg hebt das auf ((4.5-1-1)/2/8)^2=0.19W an, immer noch wenig. Steve van de Grens schrieb: > Ich würde wie gesagt ein PAM8403 Modul nehmen. Eine vernünftige Wahl, aber wer ist hier schon vernünftig, es muss bei den Rentnern hier immer mit Opas Grabbelkiste gehen. Er konnte die Schaltung 2 mal aufbauen, mit 74HCT00 einmal fas auf 4.5V verstarkte und einmal das invertierte Signal anlegen als BTL und bekommt die Leistung zum 3-fachen Aufwand. Immerhin nur noch ein Elko nötig, wenn man disable einbaut kann man sich den sogar sparen.
Hannes schrieb: > momentan versuche ich ein mit einem Raspberry Pi Pico erzeugtes PWM > Signal über einen 8 Ohm 0.5W Lautsprecher auszugeben. Da der Pico mit 3 > AA Batterien betrieben wird sollte auch der Verstärker mit 4.5V laufen. > Dazu habe ich verschiedene Emitterschaltungen als auch die hier > beschriebene Gegentaktstufe > (https://www.mikrocontroller.net/articles/Klangerzeugung) ausprobiert > (als Transistoren hatte ich BC327 und BC337 verwendet). Der Ton wird > zwar ausgegeben aber ist extrem leise. 1) Die GPIOs des PiPico sind zwar längst nicht so leistungsfähig wie etwa die der AVR8, aber sie können (wie auch beim AVR8) parallel geschaltet werden, weil es MOSFET-Treiber sind. 2) Das Konzept des Gegentakts kann man auch direkt beim PiPico verwenden, man muss halt dann zwei GPIOs (bzw.: 2*n, wenn man zusätzlich das Konzept aus 1) verwendet) benutzen. Schau dir das Ausgabedevice hier an: Beitrag "Re: Westminster Soundgenerator mit ATtiny85" Den Aufwand bezüglich der Konstruktion einer 10Bit-PWM aus einem 8Bit-Timer kannst du beim PiPico in den Skat drücken. Es bleibt: synchronisiere mehrere PWMs taktgenau und benutze eine Parallelschaltung der entsprechenden Ausgänge, ggf. zusätzlich eine Parellelschaltung der invertierten Ausgänge. Geht definitiv alles auch mit dem PiPico, aber natürlich anders als beim AVR8.
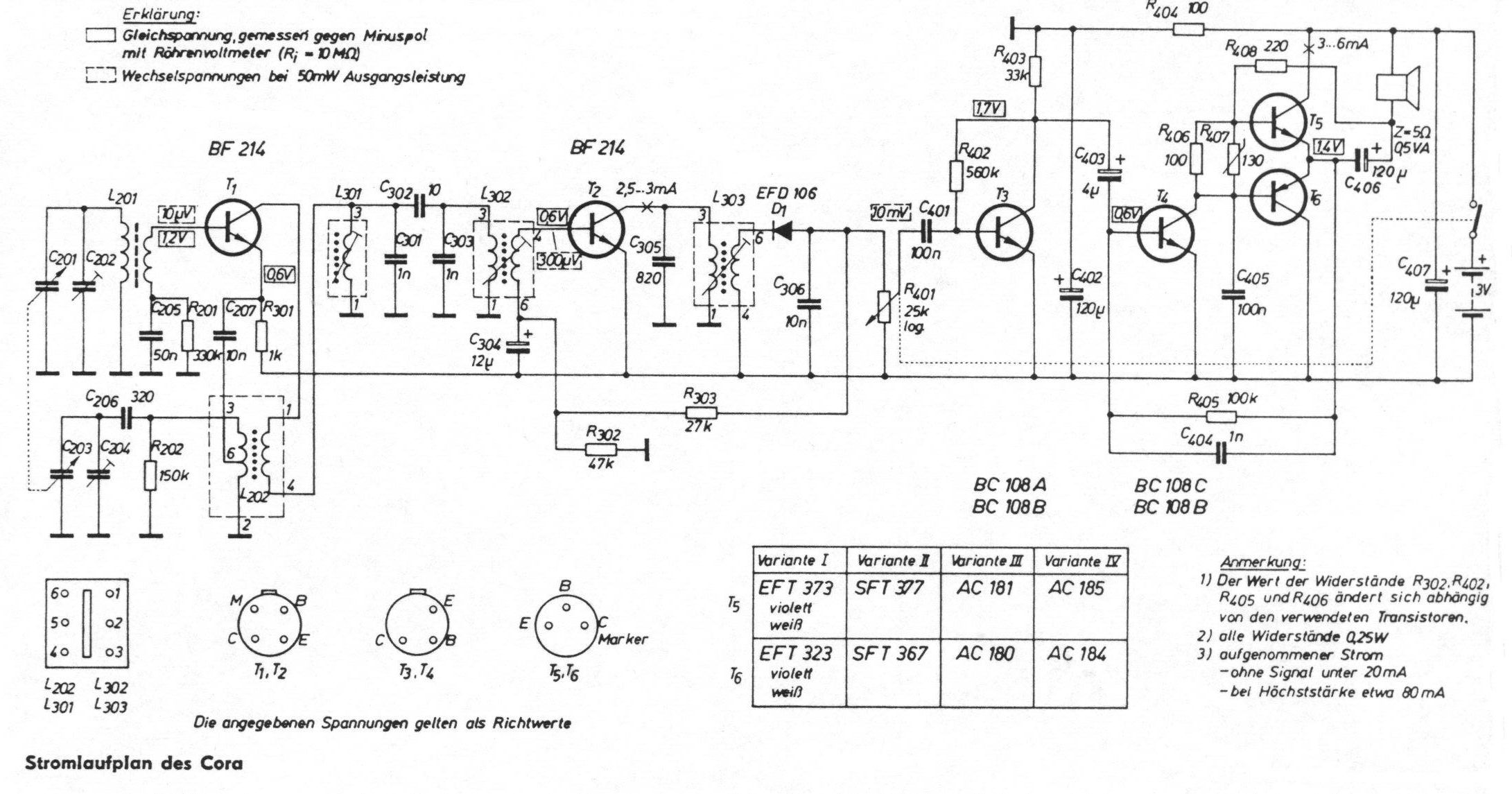
von Hannes schrieb: >Ist es möglich einen Verstärker mittels BC327 und BC337 aufzubauen, um >den Ton etwas lauter auszugeben und evtl die 0.5W des Lautsprechers >auszunutzen? Welche Schaltung ist dafür zu empfehlen? Bau den NF-Verstärker vom Taschenradio Cora nach, der hat mit nur 3V funktioniert. Schalte aber ein Tiefpass vorneweg, damit der Verstärker ein analoges Signal bekommt und keine PWM.
Gustav schrieb: > Ich würde zunächst mal probieren den Ausgangselko auf 470yF zu setzen. Das ist sehr, sehr, sehr wenig. Bereits die Leitungskapazität zweier in einem Raum lose herumliegender Drähte dürfte höher sein. y = Yokto, 10^-24 1 pF = 10^12 yF (1 deutsche Billion) Dem Threadersteller ist besser geholfen, wenn er einen Kondensator mit 470 µF verwendet. 1 µF = 10^18 yF (1 deutsche Trillion)
Harald K. schrieb: > y = Yokto Sehr schön klug geschissen, du Klassenclown. Kannst dich mir Rainer zusammen tun. Ihr wärt ein lustiges Paar. Beitrag "Re: LiFePo4 3,2V Ladegerät"
Steve van de Grens schrieb: > Sehr schön klug geschissen, du Klassenclown. Ein µ kann man ohne Verrenkungen auf jeder hierzulande üblichen Tastatur eingeben. Auf deutschsprachigen PC-Tastaturen steht das Zeichen sogar auf der Tastatur drauf. Und hier wurde ganz offensichtlich ein deutschsprachiges Tastaturlayout verwendet, wie die korrekt genutzten Umlaute zeigen. Beim Mac muss man halt wissen, wo sich das Zeichen verbirgt, aber auch das ist keine Raketenwissenschaft. Wen das intellektuell überfordert, der ist wohl ein Freund der zunehmenden Verblödung.
Steve van de Grens schrieb: > Mit einer Brückenendstufe kannst du die Leistung verdoppeln. Sicher? Ich hätte vermutet, dass dadurch die zur Verfügung stehende Spannung etwa doppelt so hoch ist und man folglich auf die 4-fache Leistung kommt.
Harald K. schrieb: > Wen das intellektuell überfordert, der ist wohl ein Freund der > zunehmenden Verblödung. Wer sich an solchen Kleinigkeiten aufreibt, der hat ein trauriges Problem.
> PAM8403 https://www.box73.de/product_info.php?products_id=4392 "an RL = 4 Ω bei UB = 3,0 V PA 1,3 W" oder aus Tschechien https://www-hezkyden-sk.translate.goog/soucastky/moduly-sk/usb-moduly-sk/?_x_tr_sl=cs&_x_tr_tl=de&_x_tr_hl=de&_x_tr_sch=http den gibt es auch mit Stereo-Lautstärkepoti Oder auch mit PAM8610 je nach Händleraussage mit 2*10 oder 2*15Watt, aber der dürfte nicht mit 3V laufen "6 - 15 V"
Harald K. schrieb: > Ein µ kann man ohne Verrenkungen auf jeder hierzulande üblichen Tastatur > eingeben. So so. Deine Welt ist halt sehr beschränkt.
Harald K. schrieb: > Ein µ kann man ohne Verrenkungen auf jeder hierzulande üblichen Tastatur > eingeben. Auf meiner Tastatur ist das "Mikro-Zeichen" übrigens auch nicht zu finden. Auch nicht auf der zweiten und dritten Ebene! Deswegen nehme ich einfach völlig schmerzfrei das normale kleine "u" und fertig.
Michael B. schrieb: > Harald K. schrieb: >> Ein µ kann man ohne Verrenkungen auf jeder hierzulande üblichen Tastatur >> eingeben. > > So so. Wenn alle Sticke reißen, kann man auch "uF", "müF" oder "mueF" tippen. Immer noch kein Grund, das "yF" zu schreiben.
Zunächst einmal möchte ich mich beim TE für mein schnell dahingetipptes Statement entschuldigen, kaum auszudenken wenn er jetzt eine 470yF Elko eingelötet hätte. Ich wollte inhaltlich etwas zur Diskussion beitragen und da ist mir dieser schlimme Schnitzer passiert... Weiter bedauere ich die wirklich ungewollte Kränkung der intellektuellen Elite dieses Forums ! Durch Eingabe von AltGr + M kann man das normalerweise eingeben> µ. ....ich konnte in der Situation gerade nicht auf meinen Ikopp zugreifen.. Also: Wenn das Pferd tot ist sollte man absteigen !
Gustav schrieb: > kaum auszudenken wenn er jetzt eine 470yF Elko > eingelötet hätte. Das wird nicht passieren denn es wird keinen Händler geben der einen 470yF Elko liefern könnte. Und Zuhause herumliegen hat man so etwas auch nicht.
Hannes schrieb: > Bass bzw. gute Klangqualität benötige > ich nicht, da eh nur ein 3s Klingeln ausgegeben werden soll. Geht da nicht einfach ein Piezo-"Lautsprecher"?
Rolf schrieb: > Geht da nicht einfach ein Piezo-"Lautsprecher"? Unwahrscheinlich, dass der Hannes damit glücklich wird.
..vielleicht findet sich ja so ein kleiner Quäkser mit ner Plastikmembrane der die geforderte Tonhöhe laut wiedergibt..kann ja auch ne andere Ohmzahl haben...da bei diesen Dinger eh oft keine Daten zur Induktivität der Schwingspule vorliegen bleibt halt das Ausprobieren...
Rainer W. schrieb: > Sicher? > Ich hätte vermutet, dass dadurch die zur Verfügung stehende Spannung > etwa doppelt so hoch ist und man folglich auf die 4-fache Leistung > kommt. noch NIE, die 4-fache Leistung ist nur theoretisch, im RL kann man von 3-facher Leistung ausgehen, so lernte ich das mal, aber man darf ja auch mal an 4-facher Leistung glauben.
Ja, der Laststrom verdoppelt sich fast und damit die Spannungsabfälle der Endstufen-Transen ja auch.
Solange der Verstärker im linearen Bereich bleibt, ist es so gut wie 4-fache Leistung bei gleicher Aussteuerung.
Abdul K. schrieb: > Ja, der Laststrom verdoppelt sich fast und damit die Spannungsabfälle > der Endstufen-Transen ja auch. Der Spannungsabfall ist in Class-B MOSFET Endstufen klein und in Class-D Endstufen nahe Null.
µ Bei mir geht's so! Mit AltGr und m Gustav schrieb: > Weiter bedauere ich die wirklich ungewollte Kränkung der intellektuellen > Elite dieses Forums ! Gehöre ich ab jetzt dazu? mfg
Hannes schrieb: > da eh nur ein 3s Klingeln ausgegeben werden soll. Wenn das nur summt oder piepst, dann ginge das mit Transistoren zu lösen. Ergänzt werden müßte dabei die Schaltung um Bootstrapping. Das hätte dabei auch zwei Funktionen. Verbessern des Nachteils der 0,7V Verluste an der Stufe und erhöht den Ruhestrom für den Arbeitspunkt (Verzerrungen) nur während der Tonausgabe. https://www.elektroniktutor.de/analogverstaerker/class_ab.html Und ggf auch Quasikomplementär, um im unteren Zweig die 0,7V Abfall auch zu reduzieren. https://www.elektroniktutor.de/analogverstaerker/qu_kompl.html
Axel S. schrieb: > Wenn alle Sticke reißen, kann man auch "uF", "müF" oder "mueF" tippen. > Immer noch kein Grund, das "yF" zu schreiben. "uF" reicht ja wohl und führt zu keinen Verwechselungen. Oder man schreibt ganz einfach "0,47mF". Das eine Zeichen mehr wäre vielleicht gerade noch zu schaffen. Die 2te Welt schafft es doch auch, die Werte von Kondensatoren anzugeben, ohne "nF" zu verwenden.
Dieter D. schrieb: > dann ginge das mit Transistoren zu lösen. Wobei die Lösung mit dem PAM, siehe Christofs Post, natürlich besser wäre. Rainer W. schrieb: > "uF" reicht ja wohl und führt zu keinen Verwechselungen. Sehe ich auch so. Auf der Smartphone und Tabletttastatur ist das Sonderzeichen meist gar nicht, oder nur sehr umständlich, zu erreichen.
Dieter D. schrieb: > Auf der Smartphone und Tabletttastatur ist das Sonderzeichen meist gar > nicht, oder nur sehr umständlich, zu erreichen. 😃 Ich hab's gefunden! Und die Alt-Grau-Taste ist direkt neben der M-Taste. Das Mikrozeichen lässt sich also bequem einhändig erzeugen. Also zwei Finger, die an derselben Hand dran sind müssen simultan für die Runterdrückkraft der beiden Tasten benutzt werden, wobei die Alt-Grau-Taste ein Mikrosekündchen vorher gedrückt sein sollte, damit nicht versehentlich doch noch ein "m" gezeugt wird. 👆
Enrico E. schrieb: > die Alt-Grau-Taste Das heißt Alt-Germany Nein, was Spaß. Es heißt tatsächlich Alt-Graph oder Alternate-Graphic.
vielen Dank für die Antworten. Hab heute mal etwas rumprobiert und bis jetzt war eine einfach Emitterschaltung mit vorgeschaltetem Tiefpass am lautesten (mit dem Lautsprecher im Kollektorzweig). Hab auch verschiedene Lautsprecher getestet, aber keiner war großartig laut. Schade, werde mir jetzt das PAM Modul bestellen... Mit dem PAM8043 Modul ist es aber nicht möglich den 0.5W Lautsprecher zu betreiben oder? (da es eine Ausgangsleistung von 3W hat)
Hannes schrieb: > momentan versuche ich ein mit einem Raspberry Pi Pico erzeugtes PWM > Signal über einen 8 Ohm 0.5W Lautsprecher auszugeben. Da der Pico mit 3 > AA Batterien betrieben wird sollte auch der Verstärker mit 4.5V laufen. Am einfachsten geht das mit einem LM386.
Hannes schrieb: > Mit dem PAM8043 Modul ist es aber nicht möglich den 0.5W Lautsprecher zu > betreiben oder? Das geht schon, du musst halt die Lautstärke passend einstellen. Die 3 Watt erreicht er bei 5 Volt an 4 Ohm in Stereo, dann muss man aber satte 10% Verzerrung ertragen. Bei 3,6 Volt, 8 Ohm in Stereo und 1% Verzerrung sind es nur noch 0,7 Watt. In Mono nur noch 0,35 Watt. Passt doch!
Harald W. schrieb: > Am einfachsten geht das mit einem LM386. Am einfachsten ging das 1978 mit dem schwingfreudigen, schwachbrüstigen, grosse Elkos benötigenden LM386, seit dem hat sich viel zur Vereinfachung getan. Übrigens hat der TO keine 5V, nicht mal mit vollen Batterien.
Dieter D. schrieb: > Shift-AltGr-Q wird auch öfters benötigt. Ω Funktioniert bei meinem Win10 nicht, egal ob links oder rechts geshiftet wird. Das hatten wir aber schon vor Kurzem mal im Beitrag "Re: 1GOhm Widerstand" durchgekaspert.
Lothar M. schrieb: > Funktioniert bei meinem Win10 nicht, ... Stimmt, aber am dem Raspi geht es. Ganz dunkel erinnere ich mich was von einem Bug mit einer Groupware gelesen zu haben, wofür einige Sonderzeichen beschränkt wurden. Solange weder ich noch andere im Forum eine Quelle zum Verlinken gefunden haben, nehmt erstmal an es wäre unwahr.
Das "alte graue" geshiftete Ohm Ω funktioniert auch in Ubuntu. Der Lautsprecher wird schon nicht durchbrennen. Ob die Daten nur für Stereo gelten sehe ich hier nicht, jedenfalls haben die gängigen Kleinlautsprecher 8Ω, kein 4Ω wie im Datenblatt des "Funkamateur", und da erreicht der Ausgang nur 1,3Watt bei 3V: https://www.box73.de/file_dl/sonstiges/PAM8403.pdf
Ich weiß zwar nicht genau, was Du mit „3s Klingeln“ meinst, aber würde sich da nicht ein komplett digitaler Weg zum Lautsprecher via I2S eignen? Der allseits beliebte MAX98357 wandelt diverse PCM-Formate direkt an einen Lautsprecher.
Vielen Dank :) alles digital und per MAX98357 wäre denk ich auch möglich, hab jetzt aber das PAM Modul bestellt. Habe gerade gesehen, dass dies einen Ruhestrom von 8mA - 10mA hat, was leider für die AA Batterien auf Dauer auch etwas zu hoch ist. Ist es irgendwie möglich die Versorgungsspannung über ein GPIO zu schalten (Transistor oder FET?), dass man es halt immer nur wenn benötigt anschaltet um den Ruhestrom zu umgehen?
Der PAM hat doch einen Shutdown-Pin, aber vermutlich bei einem fertigen Modul nicht herausgeführt. Entweder freilegen oder einen externen P-Kanal MOSFET z.B. IRLML6401, S an +5V, D an das Modul, Gate=L=ON GATE=H=OFF. Es könnte allerdings im Lautsprecher knacken, evtl. geht das mit dem echten Shutdown-Pin besser.
Hannes schrieb: > Ist es irgendwie möglich die Versorgungsspannung über ein GPIO zu > schalten? Wenn du noch einen GPIO übrig hast, dann kannst du damit gleich zwei Erbsen mit nur einer Gabel aufspießen. Immer wenn es klingelt soll der GPIO 50kHz ausgeben, nach dem Klingeln soll er wieder auf Low schalten und dann fließt auch kein Strom mehr. Mit dem 50kHz Signal wird ein Step-Up-Wandler angesteuert, der die 3,3V auf etwa 10V anhebt. Damit kann dann ein handelsübliches NF-Verstärkermodul betrieben werden (LM386). Gleichzeitig wird ein PNP-Transistor eingeschaltet, der den Wandler und den NF-Verstärker versorgt.
habe heute ein PAM8403 modul bekommen. Habe auch den Enable pin rausgeführt und das schalten an sich funktioniert soweit. Auch ein Aux Signal wird gut verstärkt und kann über Enable an bzw. ausgeschaltet werden. Das Problem ist, dass bei der PWM am Eingang nur Rauschen raus kommt (PWM -> RC Tiefpass 220Ω 66nF -> PAM8403) Hat jemand eine Idee woran das liegt?
Hannes schrieb: > 220Ω 66nF > Hat jemand eine Idee woran das liegt? Das ergibt eine Grenzfrequenz von 10 kHz. Damit das sinnvoll funktioniert, muss deine PWM Frequenz mindestens 100 kHz haben was bei 8 Bit eine Timer-Taktfrequenz von 25 MHz ergibt. Oder anders gesagt, du brauchst eine viel niedrigere Grenzfrequenz. Mit einem L/C Filter würde es besser funktionieren. https://www.digikey.de/de/resources/conversion-calculators/conversion-calculator-low-pass-and-high-pass-filter Außerdem könntest du mit einem anderen Verstärker vergleichen, zum Beispiel den Aktiv-Boxen auf deinem Tisch (falls vorhanden).
Hallo! Ich nehme für solche Zwecke bereits seit Jahren den TDA7052. Unkomplizierter und weniger Aussenbeschaltung als der LM386. Wegen des Brückenbetriebes auch mehr Ausgangsleistun bei geringer Betriebsspannung. ...und billig!
Bitte melde dich an um einen Beitrag zu schreiben. Anmeldung ist kostenlos und dauert nur eine Minute.
Bestehender Account
Schon ein Account bei Google/GoogleMail? Keine Anmeldung erforderlich!
Mit Google-Account einloggen
Mit Google-Account einloggen
Noch kein Account? Hier anmelden.





