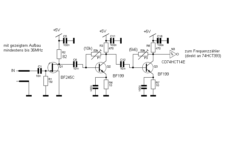
Hallo, als j310 Ersatz scheint er in diesem HF Vorverstärker völlig überfordert ;-(( http://www.liebl-net.de/hard/frequ_counter/frequency_counter.pdf Der BF dämpft sogar das Eingangssignal. Am Drain erscheint nur Schrott. Gibt es hier HF taugliche Amateurfunker die mir einen Tipp geben können ? Danke
Der J310 ist doch noch problemlos erhältlich? Aus welchem Grund möchtest Du einen anderen Typen verwenden?
Na Problemlos ist relativ, bei den üblichen Lieferanten (Reichelt und Konsorten eben nicht). Ebay hat schon Quellen. Ich wundere mich etwas, dass der J310 so "speziell" ist und eine einfache HF Eingangsstufe mit einem BF245C schon so Probleme bereitet. Ich habe aber wenig praktische Erfahrung mit HF... Oder hast Du eine andere einfache Quelle? Danke, Dietmar
Es gibt ihn z.B. beim box73.de oder qrp-shop.biz. Dass der BF245C nicht gut geht mag daran liegen, dass er schlicht übersteuert ist. Der J310 ist meines Wissens vergleichsweise großsignalfester.
Sigi Selm schrieb: > als j310 Ersatz scheint er in diesem HF Vorverstärker völlig überfordert > > http://www.liebl-net.de/hard/frequ_counter/frequency_counter.pdf > > Der BF dämpft sogar das Eingangssignal. Nicht nur der, auch der J310. Der hat eine Steilheit von 12mA/V, was an 75R eine Verstärkung von <0,9 ergibt. Zwei BF245B parallel ergeben etwa einen J310.
Na die Daten sind eben verschieden. Siehe z.B. Steilheit und Abschnürspannung. Auch der Strom bei Gate und Source verbunden ist verschieden(Igs0?). Der BF245 wird durchaus in UKW Tunern verwendet. Die C-Kennung gibt die höchste Abschnürspannung an und ist kein direktes Verstärkungsmerkmal wie beim BC238C zum Beispiel.
Die Schaltung empfinde ich als suboptimal. Falls der J310 sowieso nicht verstärkt, sondern mit 3dB dämpft, kann man ihn auch gleich in Drain-Schaltung betreiben. Damit wird auch der Frequenzgang etwas besser. Gruß, Bernd
Hallo Bernd. das ist sehr beeindruckend. Und danke das Du dir die Mühe gemacht hast das einzugeben. Ich habe dazu einige Fragen. 1) Ich denke das ist ein Spice Modell? 2) Habe ich auch die Möglichkeit das einmal auszuprobieren, oder benötigt man dafür SW Lizenzen. 3) Ist das nur eine "Richtschnur" oder kann man sich darauf verlassen, dass es in der realen Welt auch so funktioniert? Da ich noch keinen J310 habe, baute ich auch folgende HF Vorverstärker Schaltung auf: http://www.amateurfunkbasteln.de/blackforestcounter/counter.html Leider auch mit unbefriedigendem Ergebnis. Ich habe das nach Monte Carlo Prinzip auf einer doppelseitigen CU Platine aufgebaut mit Stützpunkten, kurzen Masseverbindungen etc. Kannst Du das auch mal durchnudeln, oder mir kurz beschreiben wie das geht ? Danke, Dietmar
> Habe ich auch die Möglichkeit das einmal auszuprobieren, oder > benötigt man dafür SW Lizenzen. Hier gibts das Programm - für lau, nur Registrierung: http://www.linear.com/designtools/software/#LTspice Und hier gibts ein deutschspragies Tutorial dazu: http://www.gunthard-kraus.de/LTSwitcherCAD/index_LTSwitcherCAD.html Ansonsten, bemühe einfach mal die Suchfunktion hier im Forum mit "LT-Spice", das beantwortet die meisten deiner Fragen. Have Fun
Sigi Selm schrieb: > als j310 Ersatz scheint er in diesem HF Vorverstärker völlig überfordert > ;-(( > > http://www.liebl-net.de/hard/frequ_counter/frequency_counter.pdf > > Der BF dämpft sogar das Eingangssignal. > Am Drain erscheint nur Schrott. Hallo Dietmar, die Schaltung ist ja ganz nett, man darf nur keine Eingangsspannung anlegen ;-) Eine ganz einfache Möglichkeit, Signale für Frequenzzähler aufzubereiten, ist ein Puffer gefolgt von einem Komparator: http://www.mino-elektronik.de/fmeter/eingangsstufe.htm#fm_ein5 Eine zuverlässige Signalaufbereitung erfordert etwas mehr Aufwand: Beitrag "Eingangsstufe für Frequenzzähler DC-50MHz, +5V"
Hallo Sigi > 1) Ich denke das ist ein Spice Modell? LTspice Simulation > 3) Ist das nur eine "Richtschnur" oder kann man sich darauf verlassen, > dass es in der realen Welt auch so funktioniert? Das sollte so funktionieren, es empfiehlt sich aber, die beiden Potis vorzusehen und am Ende durch Festwiderstände zu ersetzen. Das Ausgangssignal muss die beiden Schaltschwellen des nachfolgenden Schmitt-Triggers über bzw unterschreiten, weshalb der Ruhezustand des letzten Transistors bei der halben Betriebsspannung liegen sollte. > Da ich noch keinen J310 habe, baute ich auch folgende > HF Vorverstärker Schaltung auf: > http://www.amateurfunkbasteln.de/blackforestcounte... Der Q2 dieser Schaltung wirds nicht lange machen, denn dessen Basis bricht bei -2,5 Volt durch. Da gehört eine Schutzdiode rein. JFets sind da etwas robuster, die halten ca 20V am Gate aus. Da lohnt sich ein Blick ins Datenblatt. Bau lieber die andere Schaltung nach. Bei der Drain-Schaltung kann man auch einen BF245C verwenden, lediglich die Verstärkung geht um 3dB zurück. Freundliche Grüße, Bernd
Hallo Bernd, nur um nochmal sicher zu gehen, Du empfiehlst also den Verstärker mit dem J310 am Eingang, gemäß Simulation? Ich werde dan dann am Wochenede nochmal aufbauen. Dann habe ich auch dem J310. Danke für die Hilfe, ich werde berichten.
> Du empfiehlst also den Verstärker mit dem J310 am Eingang Der J310 funktioniert gut, der BF245C geht zur Not auch, falls sich noch einer in der Bastelkiste befindet. Der BF245C ist abgekündigt bzw. wird nicht mehr hergestellt. Ob die Schaltung jetzt mit 47dB oder 50dB verstärkt, ist IMO nicht entscheidend.
B e r n d W. schrieb: > Der BF245C ist abgekündigt bzw. wird > nicht mehr hergestellt Das gilt nur für die bedrahteten Gehäuse. Die meisten JFET Chips gibt es weiterhin im SMD Gehäuse: Der J310 heißt dann MMBFJ310 Die BF245 Typen nennen sich BF545.
Sigi Selm schrieb: > Hallo, > > > als j310 Ersatz scheint er in diesem HF Vorverstärker völlig überfordert > ;-(( > > http://www.liebl-net.de/hard/frequ_counter/frequency_counter.pdf > > Der BF dämpft sogar das Eingangssignal. > Am Drain erscheint nur Schrott. > > Gibt es hier HF taugliche Amateurfunker die mir einen Tipp geben können > ? > > Danke Hello, please change BFR90 with SMD type BFR92 and not BFR93 . Usually, BFR93 tends to oscillate. Best regards LE: This is what I use for front-end.
Cristi P. schrieb: > LE: This is what I use for front-end. Das Gate von Q4 ist ja genauso ungeschützt, wie bei der ersten Schaltung. Einfach mal einen Pol eines Steckernetzteiles an HF-in halten und schon ist Schluß mit lustig. B e r n d W. schrieb: > JFets sind > da etwas robuster, die halten ca 20V am Gate aus. Da lohnt sich ein > Blick ins Datenblatt. So ist es! Oder besser gesagt: nur 20 V.
Es fehlt bei so einigen der Schaltungen hier noch ein Schutz des Eingangs. Beim JFET mit Gate auf GND Niveau reichen da 2 Dioden nach GND.
Ulrich H. schrieb: > Beim JFET mit Gate auf GND Niveau reichen da 2 Dioden nach GND. Das ist ungeschickt! Besser sind Dioden noch V++ und V--; siehe Link weiter oben. Eine einfache Begrenzung kann zu deutlichen Triggerfehlern führen, wenn nicht gerade Rechteck oder Sinus am Eingang anliegen.
Die Begrenzung nach GND hin ist schon ganz passend, denn Lineare Bereich des Verstärkers geht sowieso nur etwa -0.1 V bis +0.1 V. Darüber Begrenzt dann eine der Verstärkerstufen. Mit den Diode schon an Eingang (hinter dem Kondensator zur AC Kopplung bleibt wenigstens der DC Pegel bei etwa 0. Mit Dioden nach 0 V und z.B. 5 V würde der DC Pegel ggf. auch noch wandern, und man bekommt dann erst recht Probleme. Die einfache Verstärkung ist so oder so ein Kompromiss, der je nach Wellenform gut geht, oder auch nicht.
Dioden gegen Plus und GND haben den Vorteil, dass sie in Sperrichtung vorgespannt werden. Dies verringert die Sperrschicht-Kapazität. Bei 80 MHz kostet das sonst schon ein paar dB.
B e r n d W. schrieb: >> Du empfiehlst also den Verstärker mit dem J310 am Eingang > > Der J310 funktioniert gut, der BF245C geht zur Not auch, falls sich noch > einer in der Bastelkiste befindet. Der BF245C ist abgekündigt bzw. wird > nicht mehr hergestellt. Ob die Schaltung jetzt mit 47dB oder 50dB > verstärkt, ist IMO nicht entscheidend. Werden der BF245A und der BF245B auch nicht meer hergestellt? Und mit welchen anderen Typen FETs können sie ersetzt werden?
> Werden der BF245A und der BF245B auch nicht mehr hergestellt? Aus, vorbei! Der 2N3819 endspricht ungefähr dem BF245B, er hat jedoch bezüglich Ruhestrom bei Ugs mit 2-20mA eine größere Streuung.
Ulrich H. schrieb: > Mit Dioden nach 0 V und z.B. 5 V würde der DC Pegel ggf. > auch noch wandern, und man bekommt dann erst recht Probleme. Die zweite Diode nicht an GND sondern an eine negative Versorgungsspannung (V--). Wenn Du z.B. ein 5 Vss Signal mit 1 V Spikes hast, kann durch die einfache Klemmung mit zwei Dioden der Spike mit gezählt werden. > Die einfache Verstärkung ist so oder so ein Kompromiss, der je nach > Wellenform gut geht, oder auch nicht. Daher schlage ich vor, hinter dem Puffer mit BFxxx gleich einen Komparator zu verwenden. Dadurch hat man noch die Möglichkeit, die Triggerschwelle und/oder Hysterese anzupassen.
Mast schrieb: > Werden der BF245A und der BF245B auch nicht meer hergestellt? Und mit > welchen anderen Typen FETs können sie ersetzt werden? bf545 a b c ist der ersatz.
Sigi Selm schrieb: > als j310 Ersatz scheint er in diesem HF Vorverstärker völlig überfordert > ;-(( > > http://www.liebl-net.de/hard/frequ_counter/frequency_counter.pdf Ich habe genau diese Eingangsstufe vor ein paar Monaten aufgebaut mit einem BF245C und dahinter 2x BF199 - funktioniert bis 50_MHz problemlos (mehr konnte ich nicht ausprobieren, weil mein f-Zähler nur bis 50MHz geht). Hast du denn den Eingangsteil kapazitätsarm aufgebaut?
PeterPolz schrieb: > Ich habe genau diese Eingangsstufe vor ein paar Monaten aufgebaut mit > einem BF245C und dahinter 2x BF199 - funktioniert bis 50_MHz problemlos PS: Bei einer Betriebsspannung von 4,8V liegen bei mir am Drain (gemessen gegen Masse) 2,85V an. Eventuell musst du den Rd (75R) entsprechend an deinen FET mit seiner Exemplarstreuung anpassen!?!
Hallo Peter, ich hab das nach Monte Carlo Prinzip gebaut mit mögl. kurzen Drähten auf doppelseitig CU Platine. Bei welchem Eingangspegel funktioniert das denn bei dir, oder besser über welchen Bereich, problemlos? Ich hab den Eindruck das der spätestens bei der 2 Stufe wild schwingt. Mein Hameg spinnt und ich bekomme meinen Rigol wohl erst in 2 Wochen, daher kann ich nichts "sehen". Hab auch alles schön mit den Kerkos an den Kollektorenden gegen Masse geblockt.... Danke für Deine Hilfe. Komm jetzt noch nicht weiter, da Reichelt noch nicht geliefert hat.
Wenns schwingt, dann erst mal die Emitterwiderstände auf 22 Ohm erhöhen, um die Verstärkung zu verringern. Dann die Betriebsspannung zwischen den beiden BJTs besser entkoppeln, indem eine Drossel 10...100µ eingefügt wird und vor und danach einen Blockkondensator gegen GND. Der Verstärker hat bei über 100 MHz noch eine Verstärkung >> 20dB, also am besten auf einer durchgehenden Massefläche GND aufbauen. Lochraster kann Probleme bereiten. Manchmal hört die Schwingung schon auf, wenn man ein kleines Blech zwischen zwei Stufen an die Masse fläche hält. Möglicherweise koppelt der Ausgang auf das Gate am Eingang zurück.
Hallo Sermon, ich habe den Schaltplan hier http://www.liebl-net.de/hard/frequ_counter/frequency_counter.pdf bis hinter den 74AC14 aufgebaut, das Signal wird also direkt am Ausgang des Schmitt-Triggers abgegriffen und zum Counter (mit Binärteiler in der eingangsstufe) geleitet. Als Messgenerator habe ich ein handelsübliches AD9851-Modul verwendet (nach meinem Wissen ein Ausgangswiderstand von 200 Ohm und 1Vss). Damit habe ich ein 50-MHz-Signal generiert und dann die beiden Trimmer an den Transistoren so eingestellt, dass die 50 MHz sicher richtig gemessen wurden. Danach die Widerstandswerte von den Trimmern ermittelt und durch Festwiderstände ersetzt. Bei niedrigeren Frequenzen kann man auch sehr viel kleinere Pegel als 1Vss messen. Das Hauptproblem ist, dass der ausgangswiderstand der HF-Quelle mit der Eingangskapazität des FETs einen Tiefpass bildet - ab einer bestimmten Frequenz hilft es dann nichts mehr, dass der FET-Eingang ansonsten hochohmig ist. Die beiden BF199 laufen bei mir ohne Ferritperlen o.ä. - einen sehr schwingfreudigen BF199 habe ich allerdings am Anfang direkt ausgetauscht, weil der mit nichts zu bremsen war. Man könnte sagen, die verwendeten Ts sind auf "schwingfaulheit" selektiert. J310 vs BF245A, B, C Beitrag "Re: Gibt es den BF245 als Modell bei LTspice" Sermon schrieb: > Hab auch alles schön mit den Kerkos an den Kollektorenden gegen Masse > geblockt.... Du hast aber nicht direkt an die Kollektoren, sondern an die kalte Enden der Kollektorwiderstände geblockt, oder???
Schau mal hier: Beitrag "Re: Analogen Oszillator mit digitalem Frequenzzähler messen" im Prinzip habe ich es wie da beschrieben nachgebaut. Nur R1, P2, P3 weichen bei mir leicht ab, weil ich es auf die 50 MHz optimiert habe. Abschließend muss man wohl sagen, dass der J310 die bessere Wahl gewesen wäre, weil er eine viel größere Steilheit besitzt - hatte zu der Zeit allerdings keinen vorrätig.
PeterPolz schrieb: > Du hast aber nicht direkt an die Kollektoren, sondern an die kalte Enden > der Kollektorwiderstände geblockt, oder??? Oder meintest du die Emitter (die Anschlüsse mit den Pfeilen)?
PeterPolz schrieb: > Oder meintest du die Emitter (die Anschlüsse mit den Pfeilen)? Natürlich nicht, ich weiß schon was die Pfeile bedeuten;-) Direkt von den + Anschlüssen der Kollektorwiderstände geht je ein 100nF nach Masse. Anbei mal zwei Bilder, denke schon das ist "HF-fest". Übrigens jetzt mit einem J310, der kam heute aus der Bucht.. Die zweite Stufe mit einem BFR90 (unter dem 15k Ohm). Das ist übrigen ein Neuaufbau, ich dengele mal die 3. Stufe dran und berichte. Danke
Wollte nur noch mal zur Sicherheit nachfragen. Der Aufbau sieht auf jeden Fall gut aus! Sigi Selm schrieb: > Die zweite Stufe mit einem BFR90 (unter dem 15k Ohm). > Das ist übrigen ein Neuaufbau, ich dengele mal die 3. Stufe dran und > berichte. Hatte es zuerst auch mit einer BiPo-Verstärkerstufe probiert und meine mich zu erinnern, dass damit kurz über 20MHz Schluss war. Willst du den Schmitt-Trigger ganz weglassen? Ja, berichte mal!
Nein Schmittchen kommt natürlich dazu, baue erst mal step by step. Gerade mit nem BFR90 die 3. Stufe dazu und schon wird's wieder Kappes;-(( Sobald ich das Signal auf die Basis von T3 lege, bricht es einfach zusammen.
Sigi Selm schrieb: > Gerade mit nem BFR90 die 3. Stufe dazu und schon wird's wieder > Kappes;-(( Kappes klingt nach Rheinland :O) Sigi Selm schrieb: > Sobald ich das Signal auf die Basis von T3 lege, bricht es einfach > zusammen. Auch bei niedrigen Frequenzen? Woran machst du das fest? Ist der Koppel-C dicht? Ist der Trimmer P3 auf Maximum (zumindest > einige kOhm) gestellt? T richtig angeschlossen?
Hab es nach dem Ltspice Modell von Bernd aufgebaut. Hab kein Poti drin. Gemessen bei 300 KHz. Was meinst Du mit C dicht? Ich sehe es am Oszillographen
Sermon schrieb: > Was meinst Du mit C dicht? Ob der C irgendwelche Leckströme hat. Arbeitest du mit 10uF als Koppel-C? Falls Elko, ist er richtig gepolt (ich spule eichfach mal durch, was mir so einfällt)? Sind die Arbeitspunkte an den beiden Kollektoren bei kurzgeschlossenem Eingang ok? Bevor du Q2 an der dritten Stufe angeschlossen hast, kannst du an dessen Kollektor deutlich das verstärkte Signal im Oszi erkennen - sobald die Basis von Q3 angeschlossen ist, ist dieses Signal am Kollektor von Q2 verschwunden... so?
10 uF (100 nF parallel) Minus Richtung Ausgang der Stufe, also an Basis Q3.. Habe jetzt einen Trimmer über B/C T3. So und jetzt auch mal Klingeldraht weg und Koaxkabel vom Generator an den Eingang. Das sieht nun schon gaaaanz anders aus, nämlich besser !!! Ich muß mich jetzt um die Familie kümmern, später mehr Ergebnisse. Danke Euch für die tolle Unterstützung !! Dietmar
Hallo Bernd W, Kann Spice auch eine Darstellung der Verstärkung in Abhängigkeit von Amplitude und Frequenz des Eingangssignals darstellen? Hättest Du Lust und Zeit dazu? Die Schaltungen verhalten sich mit deinen Werten aus dem Spice Modell erstaunlich genau nach dem Modell. Bei 20 MHz muss ich aber schon mindestens 100 mV Signalstärke haben um am Ausgang ein sauberes Signal zu erhalten, sonst flattert schon die erste Stufe mit dem BFR92A ( Vishay). Hab den BFR 93 nicht parat. Danke
Hallo Sigi Das kann natürlich auch an der Signalquellen-Impedanz liegen. Die sollte bei 20 MHz nicht größer als 1000 Ohm betragen. Ein abgeschirmtes Kabel am Eingang stellt auch eine Last für das Messobjekt dar, deshalb ist es oft besser, den Verstärker in einen Tastkopf zu packen und das verstärkte Signal zum Digitalteil zu führen. Gruß, Bernd PS Die drei Dateien müssen sich im selben Verzeichnis befinden.
Danke, dann beschäftige ich mich mal mit Spice;-).. Werde auch mal das Koaxkabel ( ca. 1,5 Meter) vom ELV DDS 20 massiv kürzen oder mal direkt kurze Drähte anschließen. Danke für den Hinweis.
Am Funktionsgenerator mit 50 Ohm Ausgang ist ein 50 Ohm Koax Kabel von ein paar Metern noch kein Problem - so hoch die Dämpfung normal nicht. Eine Kapazitive Last wird es für einen hochohmigere Quelle.
Falls der DDS-Funktionsgenerator eine Ausgangsimpedanz von 200 Ohm hat, bildet sich mit der Kabelkapazität zusammen schon ein Tiefpass mit 12dB Abfall bei 20 MHz.
Bitte melde dich an um einen Beitrag zu schreiben. Anmeldung ist kostenlos und dauert nur eine Minute.
Bestehender Account
Schon ein Account bei Google/GoogleMail? Keine Anmeldung erforderlich!
Mit Google-Account einloggen
Mit Google-Account einloggen
Noch kein Account? Hier anmelden.





