Hallo, habe mir einige Projekte dazu bereits im Netz angeschaut. Habe auch hier im Forum einiges dazu gefunden. Was mir zusagen würde zum nachbauen wäre dies bin natürlich auch für weitere Vorschläge offen. https://www.mikrocontroller.net/attachment/555588/Dip2.JPG von Phasenschieber S. Möchte aber keins kaufen oder ein anderes Gerät was moderner wäre. Danke schon mal fürs lesen.
Schau doch mal in der Antennen-Bibel von Rothammel nach, da sind einige Vorschläge drin. Das Schöne am Dipper ist, daß es im Prinzip nur einen einfachen Oszillator braucht - eine Röhre, (J)FET oder HF-Transistor reichen. Einen Frequenzzähler wie kann man dranbasteln (Pufferstufe). Dreipunktoszillator von etwa 1 .. 150 MHz. Jeweils Bereiche in Dekaden mit Steckspulen wie das auch bei käuflichen Geräten gelöst ist. HF-gerechter Aufbau. Drehkondensator oder Kapazitätsdiode zur Abstimmung. Metallgehäuse.
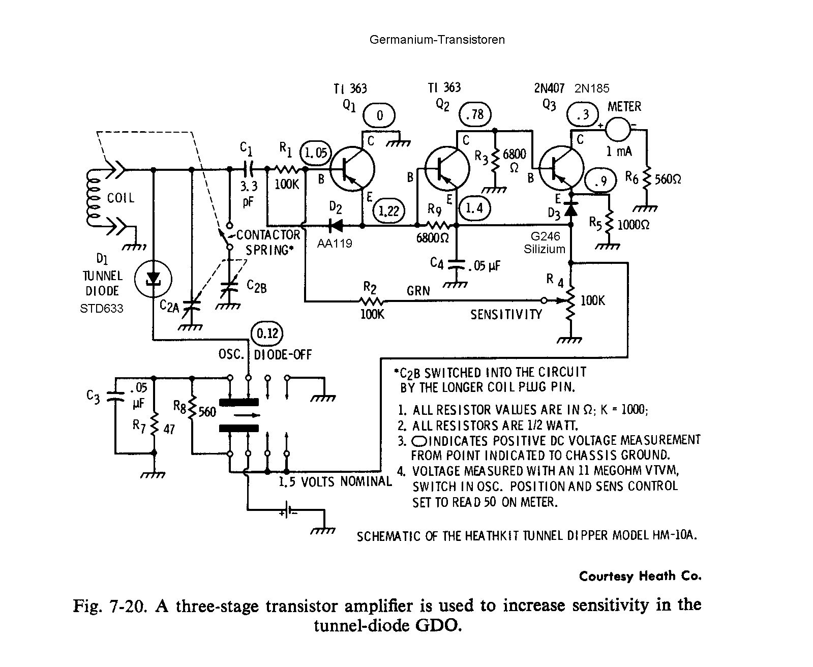
Die gab es sogar mit einer Tunneldiode als aktivem Element.
Jochen F. schrieb: > Die gab es sogar mit einer Tunneldiode Der Tunneldipper von Heathkit. Wahrscheinlich auch als Bausatz. Die Steckspulen waren m.W. aber vorgefertigt. Ich habe aber nur mit einem Fertiggerät gespielt. Die originalen Unterlagen gibts noch im Netz.
Jochen F. schrieb: > Die gab es sogar mit einer Tunneldiode als aktivem Element. Tunneldioden sind aber ziemlich mimosig. Ich hatte mal einige davon (sowjetischer Bauart), ich glaube, es hat leider keine überlebt. Eine EC92 war der Klassiker, irgendein JFET geht sicher genauso. Hatte vor Jahren mal angefangen, sowas selbst zu bauen, eigentlich ist die Mechanik das Aufwändigste dran. Irgendwann nach 1990 hatte mir ein Freund dann zwei kommerzielle (RFT) Grid-Dipper in die Hand gedrückt, die er bei der Verramschung irgendeines VEBs "auf Vorrat" mit eingesackt hatte. Seither benutze ich diese, wenn ich sowas mal brauche. Der "Dip" ist aber wirklich ziemliche Gefühlssache. Hat man an das Ziel zu wenig angekoppelt, sieht man fast nichts, hat man zu viel angekoppelt, gibt es arge Mitzieh-Effekte, sodass man die eigentliche Resonanzfrequenz nur schwierig ablesen kann.
Jörg W. schrieb: > Der "Dip" ist aber wirklich ziemliche Gefühlssache. Soll ja auch kein Präzisionsmeßgerät sein, sondern ein Gerät um 'mal eben' die ungefähre Resonanzfrequenz eines Kreises o.ä. abzuschätzen. Und als solches schon praktisch, wenn auch aus der Mode gekommen.
Danke schon mal für die Infos. Mohandes H. schrieb: > Schau doch mal in der Antennen-Bibel von Rothammel nach, werde ich machen Hp M. schrieb: > Der Tunneldipper von Heathkit. werde ich mal nach suchen Jörg W. schrieb: > Eine EC92 war der Klassiker, irgendein JFET geht sicher genauso. hatte an HF-Transistor oder JFET gedacht, einer mit EC92 wäre dann ein zweites Projekt
Hallo Hobbybastler, es gibt im Netz viele Bauvorschläge dazu, vom Superduper-Dipper bis zu ganz simpel. Kommt ganz darauf an was du damit anstellen möchtest. Er ist ein "Schweizer Messer" und somit zwar vielfältig, hat aber auch seine Grenzen. Ich möchte es mal ganz grob umreißen: Du kannst ein superempfindliches Gerät bauen in Bezug auf Resonanzmessungen, sehr gut geht das mit Tunneldioden. Selbige schwingen so schwach, daß jeglicher Entzug von HF-Energie sofort zu einem Einbruch der Energieanzeige führt. Vorteil: Schwingkreisresonanzen sind sehr gut aufzuspüren. Nachteil: Keine konstante Amplitude über einen großen Frequenzbereich und viele Fehlmessungen wegen irgendwelcher hf-absorbierenden parasitären Elementen. Im Netz wirst du auch den Superduper Dipper finden, welcher seine Empfindlichkeit aus der Schwebung einer Modulationsfrequenz mit einer Festfrequenz bezieht. Es gibt da einige Konzepte. Da du das Bild von meinem Dipper gezeigt hast, möchte ich auch nur dazu etwas sagen. Meine Aufgabenstellung war: Konstante Amplitude über einen möglichst großen Frequenzbereich, um z.B. das Gerät auch als Signalgenerator zu betreiben. Digitale Frequenzanzeige. Einfache Spulen, ohne Anzapfungen und dergleichen. Schwingsicherheit über alle Bereiche mit wenigen Spulen. Einsetzbar als Absorbtionsfrequenzmesser. u.v.a.m. letztendlich Stromversorgung mit 9V-Batterie und Aufbau mit Teilen aus der Krabbelkiste. Ergebnis: Das Ding kriegt fast alles zum Schwingen; von der nassen Wäscheleine bis zum Regenabflussrohr verschmäht er nichts ;-) Bei Interesse, gehe ich etwas näher darauf ein und poste auch den Schaltplan. Achso, noch nachschieb: Mein Dipper reicht von 1,5MHz bis 230MHz
Willst du ohne Scope messen? Wenn nicht, reichen ggf zwei Transistoren und ein Poti sowie Spulen und Drehko was die Restekiste herbibt. Schwacher Schwingungseinsatz, Dip und Frequenz lassen sich ja am Scope + ggf. Counter ablesen/einstellen. Schau hier mal nach NICOS Beitrag "NICOS – der Negative Impedance Converter - Oszillator"
Phasenschieber S. schrieb: > Da du das Bild von meinem Dipper gezeigt hast, möchte ich auch nur dazu > etwas sagen. > .... > Bei Interesse, gehe ich etwas näher darauf ein und poste auch den > Schaltplan. Hallo Phasenschieber S., ja das wäre sehr nett von Dir hatte ja schon in dem anderen Thread dazu mal nachgefragt. Danke schonmal !
Dipper-Schaltungen: https://g4rvh.files.wordpress.com/2008/08/morden_gdo.pdf Schaltung mit großem Frequenzbereich: http://sm0vpo.altervista.org/use/gdo.htm Schaltung mit Lambda-Diode (Ersatzschaltung): http://www.ea4nh.com/articulos/dipmeter/dipmeter.htm
Henrik V. schrieb: > Willst du ohne Scope messen? Hallo Henrik, ja bei dem Projekt hier mit dem Dip Meter geht mir das darum das ich mir gerne ein bauen möchte. Eins was mir auf anhieb gefallen hatte hab ich ja weiter oben schon verlinkt gehabt. Hallo HabNix, auch hier danke für die Links. Das es kein Präzisionsmeßgerät ist und Heutzutage auch sicher schon etwas aus der Mode gekommen ist , ist mir natürlich klar. Für mich ist das eher ein lern Projekt , denn gerade ein Dipper ist ja nicht so ganz ohne würde ich jetzt mal sagen.
Hobby B. schrieb: > ja das wäre sehr nett von Dir hatte ja schon in dem anderen Thread dazu > mal nachgefragt. Okay, dann nurnoch eine kurze Erklärung dazu: Mein Hauptanliegen war nicht eine äußerst hohe Empfindlichkeit in Bezug auf den Dip zu bekommen, sondern ich wollte eine möglichst konstante Amplitude über den ganzen Frequenzbereich, ohne irgendetwas nachstellen zu müssen. Quasi ein Universal-Frequenzgenerator für viele Aufgaben. Somit verfügt das Gerätchen nur über einen Ein/Ausschalter, Wechselsystem für die Spulen und den Drehknopf für die Frequenz: "as simple as can be" :-) Bei meinem ersten Entwurf saß der Oszillator noch zwischen Frequenzmeßmodul und Drehko, siehe 2.Bild, welchen ich später aber noch weiter platzsparend unter den Frequenzzähler platzierte. Die Batterie liegt in einer Kupferblechbehausung unter dem Messinstrument. Der Drehko entstammt einem UKW-Tuner der mal bei Pollin für 5€ angeboten wurde. Den Frequenzmesser hatte ich damals für ca. 10€ bei ebay erstanden, Beispiel: https://www.ebay.de/itm/313525216160 Das Spulensystem besteht aus alten GU10-Sockeln, siehe Bild. Das Messinstrument entstammt einem Sat-Finder, welchen ich mal bei Lidl für 5€ erstanden habe. Wenn du noch mehr Infos brauchst, nur zu, frage einfach. Achso ja, noch nachschieb: Versuche mit Varicaps, anstelle Drehko, habe ich auch unternommen, siehe rechte Platine im mittleren Bild. Mit Varicaps komme ich allerdings nicht über 50MHz hinaus und der Stellbereich ist auch deutlich kleiner, sodaß es auch mehr Spulen braucht.
Phasenschieber S. schrieb: > Wenn du noch mehr Infos brauchst, nur zu, frage einfach. Hallo Phasenschieber S., erstmal vielen Dank für die Infos zu deinem Gerät. Phasenschieber S. schrieb: > Der Drehko entstammt einem UKW-Tuner Also ca. 2x 20p bis 320p dann ? Den Frequenzmesser hast über extra Kondensator angekoppelt oder ging das direkt ? Hast Du auch zufällig noch zu den Spulen weitere Infos Werde dann erstmal nach sehen was ich so da habe schon und mir den Rest besorgen für den Nachbau. Gruß und Danke erstmal.
Hobby B. schrieb: > Also ca. 2x 20p bis 320p dann ? Wie damals üblich, besitzt der Drehko zwei Sequenzen, nicht verwechseln mit den Kammern, eine war für UKW gedacht, ca. 5-20pF, und eine für MW bis 320pF gedacht, wobei der Drehko aber auf dem UKW-Modul saß. Wenn du den Drehko genau anschaust, siehst du in jeder der zwei Kammern ganz rechts 2 Platten mit etwas grösserem Abstand, welche den "kleinen Drehko" darstellen. Hier, als Dipper, werden aber die die großen Sequenzen benutzt. Hobby B. schrieb: > Den Frequenzmesser hast über extra Kondensator angekoppelt oder ging das > direkt ? Der Frequenzzähler besitzt am Eingang einen eigenen Kondensator, also wäre ein zusätzliches C überflüssig. Hobby B. schrieb: > Hast Du auch zufällig noch zu den Spulen weitere Infos Ja, du nimmst alte Halogen-Strahler, entfernst den Glaskörper und hast dann den blanken Keramiksockel. Ein kurzes Stück Installationsrohr klebst du mit Epoxy in diesen Sockel und wickelst dort die Spule drauf. Das Gegenstück zum GU10-Sockel entnimmst du einer alten Halogenlampe.
Phasenschieber S. schrieb: > Guckmal, ein ganzes Arsenal an Spulen :-) Ach von alten Halogenstrahlern sind die - auf die Idee muß man erst mal kommen, die so zu recyceln. Ich dachte zuerst an alte Starter von Leuchtstofflampen, die sehen vom Sockel her ähnlich aus. An dieser Stelle führen wahrscheinlich viele Wege nach Rom.
...und nochetwas Interessantes zu diesem Gerätchen: Man kann es auch zum Audion umfunktionieren, wie das geht, vielleicht später einmal :-)
Hallo, ich glaube jetzt habe ich erstmal soweit alle Infos zusammen. Werde wohl die nächsten Tage, dazu auch noch einiges zu lesen haben. Bis auf den kleinen Frequenzmesser, den Drehko und der GU10 Geschichte sollte ich alles andere da haben. Mit den Spulen muss ich mich dann noch mal extra befassen Wickeldaten, Wickelart und Induktivität der Spulen. Gruß und Danke erstmal.
Hobby B. schrieb: > Mit den Spulen muss ich mich dann noch mal extra befassen Wickeldaten, > Wickelart und Induktivität der Spulen. Mach dir da mal keinen großen Kopp, geh pragmatisch vor. Wie ich schon schrieb, der Oszillator bringt so ziemlich alles zum Schwingen, einfach mal ne Spule wickeln, Windung an Windung, bis der Spulenträger voll ist, der Frequenzzähler zeigt dir genau wo du dabei rauskommst. So entstand meine erste Spule mit keine Ahnung wievielen Windungen und ich landete bei 1,8MHz-8,2MHz. Die Zweite dann von 8-38MHz und mit der Dritten landest du schon bei 38-180MHz. Also im Prinzip brauchst du nur 4 Spulen um bis 235MHz zu kommen. Dank des großen Drehkos ein sehr weiter Frequenzbereich mit annähernd konstanter Amplitude. Wenn du es ganz genau wissen willst, mache ich mal den Schrumpfschlauch ab und zähle die Windungen, kein Problem.
Phasenschieber S. schrieb: > Wenn du es ganz genau wissen willst, mache ich mal den Schrumpfschlauch > ab und zähle die Windungen, kein Problem. Hallo Phasenschieber S., nein das brauchst Du nicht extra machen.
Ich staune, dass du mit dem vergleichsweise großen C bis über 200 MHz gekommen bist. Angesichts dessen, dass der Drehko eh noch zwei weitere Pakete für den ehemaligen UKW-Teil des Radios hat, hätte ich wohl beim Aufbau standardmäßig nur die 2 x 12 pF benutzt und dann per Steckspule für die niedrigen Frequenzen die 2 x 330 pF parallel geschaltet. Aber dann wäre natürlich die coole Variante mit den recycelten GU10-Sockeln nicht mehr gegangen.
Jörg W. schrieb: > Ich staune, dass du mit dem vergleichsweise großen C Ich weiß jetzt nicht wie klein/groß das minimalste C dieses Drehkos ist, vermute, daß es im Bereich von ~5-8pF liegt. Versuche, die ich anstellte um den Drehko zu ersetzen, z,B. durch Varicaps, deuteten auf diesen Bereich hin. Anzumerken ist in diesem Zusammenhang, daß bei dieser Schaltung ja die Cs der beiden Drehkosequenzen in Reihe geschaltet sind, also nur hälftig in den Schwingkreis eingehen. Ersatzschaltung wäre, Spule mit zwei in Reihe geschalteten Kondensatoren, welche mittig geerdet sind. Klar? Jörg W. schrieb: > Angesichts dessen, dass der Drehko eh noch zwei weitere > Pakete für den ehemaligen UKW-Teil des Radios hat, hätte ich wohl beim > Aufbau standardmäßig nur die 2 x 12 pF benutzt und dann per Steckspule > für die niedrigen Frequenzen die 2 x 330 pF parallel geschaltet. Mein Anliegen war, wie ich schon schrub: keep it as simple as can be. Bei einer Umschaltung zwischen den Drehkosequenzen wäre es ziemlich kompliziert geworden und gewonnen hätte ich fast nichts. Es geht dir um die hohen Frequenzen und dabei besitzt der "kleine" Drehko eine untere Wertdifferenz zu dem "großen" Drehko, zumal noch unter Betrachtung der Reihenschaltung, von vielleicht 2-3 pF. Was solls also?
Jörg W. schrieb: > hätte ich wohl beim > Aufbau standardmäßig nur die 2 x 12 pF benutzt und dann per Steckspule > für die niedrigen Frequenzen die 2 x 330 pF parallel geschaltet. Das könnte man ja eventuell mit einen zusätzlichen Umschalter beim Nachbau dann machen, oder spricht da etwas dagegen ? Na ja ich bin erstmal mit der Antennen-Bibel von Rothammel beschäftigt. Da sind auch gleich Tabellen mit bei für die Spulen. Einige Schaltungen gehen bis in den UHF Bereich die ich mir angesehen habe auch im Rothammel. Aber ob man das so hinbekommt. Auch muss ich mir das mit der Modulation die in einigen Schaltungen als Eingang vorhanden ist noch mal alles genau ansehen. Habt ihr dazu auch noch Infos oder Anmerkungen oder Vorschläge. Gruß und Danke erstmal.
Hobby B. schrieb: > Jörg W. schrieb: >> hätte ich wohl beim >> Aufbau standardmäßig nur die 2 x 12 pF benutzt und dann per Steckspule >> für die niedrigen Frequenzen die 2 x 330 pF parallel geschaltet. > > Das könnte man ja eventuell mit einen zusätzlichen Umschalter beim > Nachbau dann machen, oder spricht da etwas dagegen ? Kann man auch machen, aber wenn du einen mehrpoligen Stecker für die Steckspulen nimmst, kannst du die entsprechenden Kurzschlussbrücken auch gleich da hinein bauen. "Klassiker" waren Röhrenfassungen und entsprechende Stecker (7 oder 9 Pins). Wird man heute kaum noch bekommen. Aber ein 08/15-DIN-Stecker wird's sicher auch tun. > Einige Schaltungen gehen bis in den UHF Bereich die ich mir angesehen > habe auch im Rothammel. Aber ob man das so hinbekommt. Nimm dir nach oben nicht zu viel vor. Bringt eh nichts, denn bei UHF hast du praktisch nirgends mehr Schwingkreise in der Form, dass du da mit einem Dipmeter rangehen kannst. Phasenschieber S. schrieb: > Es geht dir um die hohen Frequenzen und dabei besitzt der "kleine" > Drehko eine untere Wertdifferenz zu dem "großen" Drehko, zumal noch > unter Betrachtung der Reihenschaltung, von vielleicht 2-3 pF. Stimmt natürlich, aber von da dann bis 165 pF hinauf ist schon ein ganz schönes Stückchen. Wenn's funktioniert – hätte ich halt nicht so erwartet.
Jörg W. schrieb: > Nimm dir nach oben nicht zu viel vor. Bringt eh nichts, denn bei UHF > hast du praktisch nirgends mehr Schwingkreise in der Form, dass du da > mit einem Dipmeter rangehen kannst. Ja das ist richtig , fand es erstmal Interessant was mit so einen Aufbau so möglich sein soll. Phasenschieber S. schrieb: > Anzumerken ist in diesem Zusammenhang, daß bei dieser Schaltung ja die > Cs der beiden Drehkosequenzen in Reihe geschaltet sind, also nur hälftig > in den Schwingkreis eingehen. > > Ersatzschaltung wäre, Spule mit zwei in Reihe geschalteten > Kondensatoren, welche mittig geerdet sind. Klar? Ja soweit habe ich das auch verstanden. Zur Modulation habt ihr dazu auch noch Infos oder Anmerkungen oder Vorschläge. Gruß und Danke
Hobby B. schrieb: > Zur Modulation habt ihr dazu auch noch Infos oder Anmerkungen oder > Vorschläge. Mach doch erstmal das Dipmeter. ;-) Modulation habe ich da noch nie gebraucht.
Hobby B. schrieb: > Zur Modulation habt ihr dazu auch noch Infos oder Anmerkungen oder > Vorschläge. Wie du in meinem Schaltplan sehen kannst, gibt es einen Eingang für Modulation. Da kannst du eine Audioquelle anschließen, egal ob Tongenerator, Mikrophone oder Musik und das Signal modulieren. Du kannst dazu entweder eine Buchse am Gerät zur Aufnahme des Audiosignals installieren, oder fest einen Tongenerator mit ins Gerät integrieren. Die Modulationsart wird auf Grund der Simplizität des Gerätes dabei eine Mischform aus Frequenz- und Amplitudenmodulation sein. Dennoch sehr gut in beiden Empfängerversionen zu demodulieren sein. Viel Spaß wünsche ich dir damit :-)
Jörg W. schrieb: > Wenn's funktioniert – hätte ich halt nicht so > erwartet. Es funktioniert! Sogar bis 311MHz. Das war der höchste Wert den ich erreicht habe, bei Optimierung aller Komponenten. Es kommt halt drauf an, was man überhaupt mit so einem Gerät erreichen will. Wie ich schon schrub, es ist ein "Schweizer Taschenmesser", kann keine Bäume fällen, auch keine Autos reparieren, aber es kann Blinden den Weg zeigen. ...und eines ist mir sehr wichtig zu sagen: Es ist ein Lernobjekt von sehr hohem Wert, auch wenn es aus heutiger Sicht obsolet erscheint.
Phasenschieber S. schrieb: > Es ist ein Lernobjekt von sehr hohem Wert, auch wenn es aus heutiger > Sicht obsolet erscheint. Würde ich komplett unterstreichen, auch wenn ich mein eigenes Projekt damals mittelmäßig halbfertig aufgegeben habe. Es war für den Stand an Kenntnissen und Fähigkeiten (auch mechanischer Art) zum Zeitpunkt, da ich es begonnen hatte, etwas überambitioniert, hat so halbwegs funktioniert, aber war nie ganz fertig. Nach 1990 flogen mir dann, wie schon geschrieben, die alten RFT-Geräte zu, und damit hatte sich mein Eigenbau halt erledigt.
Jörg W. schrieb: > Mach doch erstmal das Dipmeter. ;-) Bin schon dran , habe gerade den Frequenzmesser dafür bestellt. ;-) Was noch fehlt ist das Messinstrument aus altem Sat-Finder aber da lasse ich mit schon noch was einfallen zu. Phasenschieber S. schrieb: > Da kannst du eine Audioquelle anschließen, egal ob Tongenerator, > Mikrophone oder Musik und das Signal modulieren. Also wenn dann würde ich ein Tongenerator bevorzugen. Phasenschieber S. schrieb: > Viel Spaß wünsche ich dir damit :-) Werde ich sicher damit haben. Phasenschieber S. schrieb: > ...und eines ist mir sehr wichtig zu sagen: Es ist ein Lernobjekt von > sehr hohem Wert, auch wenn es aus heutiger Sicht obsolet erscheint. Lernobjekt richtig genau darum geht es mir bei dem Projekt :-)
Hobby B. schrieb: > Was noch fehlt ist das Messinstrument aus altem Sat-Finder aber da lasse > ich mit schon noch was einfallen zu. https://www.pollin.de/p/aussteuerungsanzeige-vu-meter-830951 https://www.pollin.de/p/einbau-messinstrument-0-50-a-830877
Jörg W. schrieb: > Es war für den Stand an > Kenntnissen und Fähigkeiten (auch mechanischer Art) zum Zeitpunkt, da > ich es begonnen hatte, etwas überambitioniert, Okay das ein Dip Meter das dann auch noch das macht was es machen soll nicht gerade ein einfaches Projekt ist, ist mir schon klar. Hobby B. schrieb: > Für mich ist das eher ein lern Projekt , denn gerade ein Dipper ist ja > nicht so ganz ohne würde ich jetzt mal sagen. Danke für die Links. Aussteuerungsanzeige, VU-Meter Na mal schauen eventuell wird es sowas oder ein A277D :-)
Jörg W. schrieb: > Phasenschieber S. schrieb: >> Es geht dir um die hohen Frequenzen und dabei besitzt der >> "kleine" Drehko eine untere Wertdifferenz zu dem "großen" >> Drehko, zumal noch unter Betrachtung der Reihenschaltung, >> von vielleicht 2-3 pF. > > Stimmt natürlich, aber von da dann bis 165 pF hinauf ist > schon ein ganz schönes Stückchen. Wenn's funktioniert – > hätte ich halt nicht so erwartet. Ja, auf den ersten Blick ist das schon verblüffend. Der Knackpunkt ist wahrscheinlich der, dass das L im Schwingkreis klein genug sein muss -- dann ergibt sich am oberen Ende ein einigermaßen gängiges L/C-Verhältnis. Der Preis dafür wird ein abseitig niederohmiger Kreis am unteren Ende sein -- dort hat aber der Transistor wieder mehr Power, so dass sich das vermutlich ausgleicht. Die Abstimmsteilheit wird am oberen Ende auch ganz schön hoch sein, so 10MHz/° oder so...
Jörg W. schrieb: > Ich staune, dass du mit dem vergleichsweise großen C bis über 200 MHz > gekommen bist. Der Tunneldipper ging bis 260MHz und hatte Art AM-FM-Luftdrehko, wie er in Radios verwendet wird. Dort waren allerdings regelmäßig Doppeldrehkos drin. An Quellen für einfache AM-FM-Drehkos kann ich mich nicht erinnern. Die Steckspulen hatten den koaxialen Cinch Stecker, und bei den Spulen für die AM-Bereiche war der Mittelpin etwas länger, sodass beim Einstecken der AM-Drehko parallelgeschaltet wurde. Das Arbeiten damit war ganz angenehm und dank der Tunneldiode und den damals (ca. 1963) zeitgemässen Ge-Transistoren kam das Teil mit einer einzigen 1,5V-Zelle aus. https://manuals.cornpone.net/Heathkit/HM-10A%20tunnel%20dipper%20%20manual.pdf https://www.youtube.com/watch?v=uQ3VTnNw9qk https://www.youtube.com/watch?v=qkUbyTC1QjA HabNix schrieb: > Schaltung mit Lambda-Diode (Ersatzschaltung) Könnte man mal probieren. Allerdings sind p-Kanal JFETs einigermassen selten, und ganz sicher gehts dann nicht mit 1,5V. Die TD braucht nur um 200mV Betriebssspannung und ist schnell ohne Ende....
Ein sehr einfaches Dipmeter sieht man unter http://www.b-kainka.de/bastel126.html. Dies war auch Gegenstand der Diskussion bei: Beitrag "Einfaches DIP Meter Eigenbau", wo auch einige Tipps zu lesen sind. Der (ganz oben) gezeigte Oszillator ist nicht ein Dreipunkt-Oszillator wie ein Colpitts oder Hartley o.ä. sondern es ist ein sog. emittergekoppelter Oszillator. Mit solchen emittergekoppelten Oszillatoren (in der Literatur auch 'Peltz-Oszillator' genannt) habe ich auch mal experimentiert. Der Trick dabei ist, den gemeinsamen Emitterwiderstand so hoch zu machen, daß die Schwingung gerade nicht abreißt. Ansonsten produziert der Oszillator zu viele Oberwellen und rastet beim Dippen u.U. auf einer höheren Frequenz ein. So interessant der emittergekoppelte Oszillator auch ist, ich würde für einen Dipper einen 'normalen' Oszillator mit JFET a la BF245 o.ä. nehmen. Oder mit Röhre. Ich habe hier noch verschiedene Bleistiftröhren, die auch schnell genug sind und vor allem sehr wenig Heizstrom und geringe Anodenspannung brauchen. Versorgung über Batterie. Ein Grid-Dipper mit EC92 oder ECC81/82/83 ist ja schön, braucht aber immer ein Netzkabel. Das Projekt mit den Bleistiftröhren ist momentan wegen anderer Projekte eingeschlafen aber nicht außer Sicht. Letztlich wichtig ist ja ein Oszillator, der von 1 MHz .. 150 MHz stabil läuft. Gab auch käufliche Geräte ab 150 kHz und bis 300 MHz.
Edit: mein Favorit unter den Bleistiftröhren ist die russische 1SH24B: http://www.jogis-roehrenbude.de/Russian/1SH24B.htm Braucht bei 1,2V nur 13mA Heizstrom! Allerdings reichen 9V Anodenspannung nicht (?), so daß man vermutlich zwei 9V-Batterien bräuchte. Gab es mal bei Oppermann und Pollin für unter €1,-. Ist aber eine vollwertige HF-Pentode. Wie gesagt, Projekt Dipper mit Miniaturröhre vorläufig eingeschlafen. Könnte aber sein, daß es mich doch wieder packt. Und, wie Jörg schreibt: die Mechanik ist nicht zu unterschätzen. Aber Phasenschieber zeigt ja wie es auch einfach und trotzdem über einen weiten Frequenzbereich geht.
Egon D. schrieb: > Die Abstimmsteilheit wird am oberen Ende auch ganz schön hoch > sein, so 10MHz/° oder so... Nein. Schau dir mal an wie solche Drehko-Platten geschnitten sind. Das sind keine Halbkreise, sondern die werden mit einer ganz ausgeklügelten Steigung geschnitten, sodaß beim Abstimmen eines Schwingkreises ein annähernd lineares Verhalten dabei erreicht wird.
Hp M. schrieb: > Der Tunneldipper ging bis 260MHz Die Herausforderung habe ich gerade mal angenommen. Habe als Spule einfach einen Bügel in den Sockel gesteckt, könnte man noch kleiner machen, aber ich glaube, das reicht jetzt. Der Dipper bringt so ziemlich alles in Schwingung, kann man sogar die Resonanzfrequenz einer Büroklammer bestimmen ;-)
Mohandes H. schrieb: > Edit: mein Favorit unter den Bleistiftröhren ist die russische 1SH24B: Mit einer 1Ж29Б habe ich mal bis Frankreich gefunkt, mit einem einfachen Meißner-Oszillator. ;-) Ja, diese kleinen Teile sind nett. Edit: allerdings mit 8 x 6LR61 (9-V-Alkaline) als Anodenbatterie.
Mohandes H. schrieb: > Mit solchen emittergekoppelten Oszillatoren Möchte man recht hohe Frequenzen erreichen, ist der Peltz auch nicht zu empfehlen, da die parasitären Kapazitäten doppelt zu Buche schlagen. Mit einer haarnadelförmigen Inuktivität in Hartleyschaltung bin ich auf ca. 700MHz gekommen. Der Dipper hat da noch funktioniert.
Phasenschieber S. schrieb: > Egon D. schrieb: >> Die Abstimmsteilheit wird am oberen Ende auch ganz >> schön hoch sein, so 10MHz/° oder so... > > Nein. So. Na, dann zeig mal Messwerte...
Phasenschieber S. schrieb: > Ja, du nimmst alte Halogen-Strahler, Oder alter Starter, etwas leichter, handlicher und bespulbar.
Hobby B. schrieb: > Wickelart und Induktivität der Spulen. Online Spulenrechner nehmen Dir die Arbeit ab. Egon D. schrieb: > Na, dann zeig mal Messwerte... Oja, die Messwerte bitte, bitte!
Rategeist schrieb: > Oja, die Messwerte bitte, bitte! Lass gut sein, war ein Scherz, die Werte sind ja im Display...
Rategeist schrieb: > Oder alter Starter, etwas leichter, handlicher und bespulbar. Nein. Eignet sich garnicht. Der Starter passt auch nicht in einen GU10-Sockel und die Startersockel sind dazu nicht zu gebrauchen. @ Hobby B. (bastler2022) wenn du das nachbauen möchtest, hier noch ein paar Hinweise zur mechanischen Ausführung: Alles sitzt auf einer kupferkaschierten Platine als Träger. Der GU10-Sockel, siehe Bild, besitzt zwei Löcher welche du sehrgut zur Befestigung desselben benutzen kannst. Das Bild spricht für sich. Wie du sicher schon mitbekommen hast, habe ich zwei dieser Dipper. Der eine ist die "dirty" Version mit welchem ich verschiedene Veränderungen/Verbesserungen ausprobiere, quasi drinherum bruzzele und wenn das dann positiv verläuft, wird es in den "schöneren" übernommen. Momentan suche ich noch nach einem passenden Gehäuse, nachdem das alte wegen Schrumpfung des Gerätes nichtmehr passt.
Phasenschieber S. schrieb: > @ Hobby B. (bastler2022) > > wenn du das nachbauen möchtest, Guten Morgen Phasenschieber, ja werde mich bei meinem Dip Meter größtenteils an die Vorlage von deinem Aufbau halten. Wo ich mir noch nicht ganz sicher bin ist das mit dem GU10 Sockel, ist ein super Einfall von Dir und funktioniert. Na mal sehen. Na und bei dem Messinstrument werde ich auch Improvisieren müssen. Habe da aber schon einen Plan zu. Der Frequenzmesser soll wohl Heute auch schon kommen. Phasenschieber S. schrieb: > Momentan suche ich noch nach einem passenden Gehäuse, nachdem das alte > wegen Schrunpfung des Gerätes nichtmehr passt. Wie sind denn jetzt eigentlich die Maße deines Aufbaus damit man wegen Gehäuse mal schauen kann.
Phasenschieber S. schrieb: > Wie du sicher schon mitbekommen hast, habe ich zwei dieser Dipper. > Der eine ist die "dirty" Version mit welchem ich verschiedene > Veränderungen/Verbesserungen ausprobiere, quasi drinherum bruzzele und > wenn das dann positiv verläuft, wird es in den "schöneren" übernommen. Guter Tipp, ist für alle möglichen Basteleien und Entwicklungen zu gebrauchen. > suche ich noch nach einem passenden Gehäuse, nachdem das alte wegen > Schrumpfung des Gerätes nichtmehr passt. Huch ... wie konnte das passieren (Schrumpfung)? Es gibt schöne Alu-Druckgussgehäuse von Hammond in allen möglichen Größen. Gibt's z.B. bei Pollin. Das größte Teil ist ja vermutlich der Drehkondensator. B e r n d W. schrieb: > ist der Peltz auch nicht zu empfehlen, da die parasitären Kapazitäten > doppelt zu Buche schlagen. Jain, oder vertue ich mich? Der eine der beiden Transistoren ist in Basisausschaltung wodurch die Eingangskapazität weniger ins Gewicht fällt bzw. sogar kompensiert werden kann. > Hartleyschaltung bin ich auf ca. 700MHz gekommen. Ist für einen Dipper uninteressant, aber gibt es einen theoretischen Vorteil von Hartley gegenüber z.B. Colpitts was die maximale Frequenz angeht?
Hobby B. schrieb: > Aussteuerungsanzeige, VU-Meter Schau Die doch mal dies an: https://www.b-kainka.de/bastel53.htm Ganz unten ein Dipper (wieder mit emittergekoppeltem Oszillator), der eine akustische Anzeige hat. Ein Multivibrator wird verstimmt. Da das Ohr sehr fein auf kleine Änderungen reagiert, ist das vermutlich sehr empfindlich.
Hobby B. schrieb: > Wo ich mir noch nicht ganz sicher bin ist das mit dem GU10 Sockel Ja klar, es gibt noch viele andere Möglichkeiten. Ich habe einfach genommen was ich hatte und es sollte simpel sein/bleiben. Meine Bilder sollen dir nur als Ideengeber dienen. Hobby B. schrieb: > Wie sind denn jetzt eigentlich die Maße deines Aufbaus damit man wegen > Gehäuse mal schauen kann. Trägerplatte ist 120X60mm. Wenn der Drehko ausgedreht ist, erreicht er 35mm. Also mit Trägerplatte und den Schrauben darunter, müsste das Gehäuse 40mm hoch sein. Mohandes H. schrieb: > Huch ... wie konnte das passieren (Schrumpfung)? Ich habe die Baugruppen komprimiert, siehe Bild, sollte so klein wie möglich werden und ja, der Drehko ist der Klotz. Wie ich schon schrieb, hatte ich auch Versuche unternommen den Drehko durch Varicaps zu ersetzen. Das Hauptproblem dabei ist, daß die 9V der Batterie nicht ausreichen um die Varicaps auf ihre geringstmögliche Kapazität zu bekommen, dazu bedarf es deutlich höherer Spannung. Selbst wenn ich einen winzigen Wandler eingebaut hätte, wäre die Restkapazität der Dioden immernoch zu groß für mein gesetztes Ziel von 200MHz gewesen. Nagut, wenn einem der Frequenzbereich bis 50MHz reicht, kann man sich den Drehko sparen.
Mohandes H. schrieb: > Schau Die doch mal dies an: > https://www.b-kainka.de/bastel53.htm Hallo Mohandes, auch Dir Danke für den Link zur akustischen Anzeige. Hat natürlich auch Vorteile eine akustische Anzeige. Mohandes H. schrieb: > Phasenschieber S. schrieb: >> Wie du sicher schon mitbekommen hast, habe ich zwei dieser Dipper. >> Der eine ist die "dirty" Version mit welchem ich verschiedene >> Veränderungen/Verbesserungen ausprobiere, quasi drinherum bruzzele und >> wenn das dann positiv verläuft, wird es in den "schöneren" übernommen. > > Guter Tipp, ist für alle möglichen Basteleien und Entwicklungen zu > gebrauchen. Ja okay das werde ich mir mal merken für das nächste Projekt dann.
Phasenschieber S. schrieb: > Meine Bilder sollen dir nur als Ideengeber dienen. Ja das machen sie auf jeden Fall. Phasenschieber S. schrieb: > Trägerplatte ist 120X60mm. Wenn der Drehko ausgedreht ist, erreicht er > 35mm. > Also mit Trägerplatte und den Schrauben darunter, müsste das Gehäuse > 40mm hoch sein. Damit habe ich ja schon mal eine ungefähre Größe, Danke. Phasenschieber S. schrieb: > Nagut, wenn einem der Frequenzbereich bis 50MHz reicht, kann man sich > den Drehko sparen. Also ich wäre schon zufrieden wenn ich bis 150 MHz mit meinem Nachbau dann komme. Allerdings habe ich wohl bei der Bestellung des Frequenzmesser, was falsch gemacht oder übersehen. Die gehen wohl erst ab 1 MHz oder ist das bei dem von Dir auch so.
Hobby B. schrieb: > Die gehen wohl erst ab 1 MHz oder ist das > bei dem von Dir auch so. Ich habe leider keine Datenblätter mehr von meinen, deshalb habe ich gerade mal ausprobiert wieweit ich damit herunter komme und siehe da, bei 100kHz ist Schluß. Habe meinen Signalgenerator an den Eingang gehängt und 1Vss eingespeist. Unterhalb 100kHz reisst die Anzeige abrupt ab. Wenn deiner erst ab 1Mhz misst, wäre doch auch nicht schlimm. Wie oft wirst du bei Frequenzen unterhalb 1MHz operieren? Außerdem habe ich die untere Grenzfrequenz des Dippers noch nicht wirklich ausgelotet. Meine Spulen fangen bei 1,5MHz erst an. Ich war einfach zu faul noch eine größere Spule zu wickeln.
Hier ein Gehäuse von Hammond (1590P1) aus Alu-Druckguss. Gibt es, wie gesagt, in vielen Größen. Dies hat 150x80x45 mm3. Darunter Cinchstecker und -Einbaubuchsen. Die hatte ich geplant für die Steckspulen. Nicht gerade HF-gerecht, bis 150 MHz sollte es reichen? Schöner wären mehrpolige Sockel & Fassungen für Röhren. Damit kann man auch interne Drahtbrücken oder eine zusätzliche Kapazität auf der Steckspule realisieren. Langsam erwärme ich mich für das Thema Dipper. Ich habe gerade ein anderes Projekt auf dem Tisch (Fledermausdetektor) und den Hang mich zu verzetteln, so daß ich inzwischen erst ein Projekt beende, bevor ich mit dem nächsten beginne. Drehkondensator habe ich auch, diesen von Pollin mit 2x320 pF. Hat €5,- gekostet, inzwischen werden die Dinger für das Doppelte gehandelt. Eine Kapazitätsdiode plus Poti ist natürlich viel kleiner.
Nachtrag: als Oszillator werde ich einen JFET a la BF245 oder J113 nehmen. Oder eine Bleistiftröhre wie die 1SH24B. Mit 1,2V/13mA Heizung tauglich für Betrieb mit 9V-Batterie. Nur die minimale Anodenspannung muß ich noch ermitteln. Die 1SH24B ist für kleine Anodenspannungen <60V geeignet. Vermutlich muß ich dann 2x9V spendieren. Oder einen Spannungswandler 9V --> 48V was aber dann Probleme mit Störspannungen mit sich bringt.
Phasenschieber S. schrieb: > Habe meinen Signalgenerator an den Eingang gehängt und 1Vss eingespeist. > Unterhalb 100kHz reisst die Anzeige abrupt ab. Vielen Dank für den schnellen Test , na werde ja sehen was meiner dann macht soll ja Heute kommen. Phasenschieber S. schrieb: > Wenn deiner erst ab 1Mhz misst, wäre doch auch nicht schlimm. Wie oft > wirst du bei Frequenzen unterhalb 1MHz operieren? Das stimmt auch wieder eher selten , aber habe noch von anderen kleinen Projekten Spulen die in den Bereichen arbeiten, deshalb wäre das Interessant gewesen. Phasenschieber S. schrieb: > Ich war > einfach zu faul noch eine größere Spule zu wickeln. Ja das kenne ich auch aber egal. Mohandes H. schrieb: > Schöner wären mehrpolige Sockel & Fassungen für Röhren. Damit kann man > auch interne Drahtbrücken oder eine zusätzliche Kapazität auf der > Steckspule realisieren. Ja das ist richtig aber so gut wie nicht zu bekommen habe jedenfalls noch nichts gefunden ( mehrpolige Sockel ) Fassungen gibt ja. Mohandes H. schrieb: > Ich habe gerade ein > anderes Projekt auf dem Tisch (Fledermausdetektor) Auch eine Interessante Geschichte.
Mohandes H. schrieb: > ier ein Gehäuse von Hammond (1590P1) aus Alu-Druckguss. Gibt es, wie > gesagt, in vielen Größen. Dies hat 150x80x45 mm3. Danke Mohandes, das wäre mir allerdings zu groß und meine Anstrengungen das Ding klein zu machen wären damit für die Katz gewesen :-) Aaaber ich bin ja Meister im Improvisieren. Habe schon sehr viel aus Plexiglas (Acryl) gebaut und mir dazu extra eine Dekupiersäge und einen Spezial-Acrylglaskleber zugelegt. Damit kann ich Paßgenau ein Gehäuse basteln. Mohandes H. schrieb: > Schöner wären mehrpolige Sockel & Fassungen für Röhren. Ja, das war mal der klassische Ersatz-Sockel für Grid-Dipper. Konnte man auch gut Spulen mit Anzapfungen machen, es gab ja genug Beine dazu. Alte, kaputte Röhren denen man den Fuß klauen konnte gab es auch genug. Da muss halt jeder schauen was er besorgen kann. Es ist so schade, daß so manches Bastelprojekt nicht zustande kommt, oder nie vollendet wird, weil es dem Bastler nicht gelingt die benötigten Teile zu beschaffen.
Hobby B. schrieb: > Mohandes H. schrieb: >> Ich habe gerade ein >> anderes Projekt auf dem Tisch (Fledermausdetektor) > > Auch eine Interessante Geschichte. Ja, da schliesse ich mich an. Würde mich auch interessieren. Hintergrund: Ich sitze mit Frau im Garten und sie sagt: Hörst du wie laut die Vögel zwitschern? Ich: Nö, höre keine einziges Geräusch. Meine Frau: Im Keller piepst etwas, hörst du das nicht? Ich: Nö, was soll das sein? Es war die Gefriertruhe ;-) Na gut, ein bisschen tiefer als Fledermaus-Töne sollte das Ding schon gehen :-)
Phasenschieber S. schrieb: > weil es dem Bastler nicht gelingt die benötigten Teile zu beschaffen. Das ist die eigentliche Herausforderung. Die Mechanik und die benötigten Teile. Aber generell ist der Charme eines Dippers, daß er grundsätzlich sehr simpel aufgebaut ist. Und ein sehr lehrreiches Projekt. Oszillatoren, Spulen, HF-gerechter Aufbau ... Hobby B. schrieb: > Mohandes H. schrieb: > >> Ich habe gerade ein >> anderes Projekt auf dem Tisch (Fledermausdetektor) > > Auch eine Interessante Geschichte. Ja! Wollte ich letztens Jahr schon bauen, dann kam der Herbst und die Fledermäuse gingen schlafen. Dieses Jahr soll es rechtzeitig klappen. Das Prinzip: das Fledermaussignal verstärken und mit dem Signal eines LO (local oscillator) mischen und so in den hörbaren Bereich transformieren. Ist ein Direktmischempfänger, also ein Superhet mit ZF = Null. Im Moment kämpfe ich mit der Mischstufe. Hauptproblem wieder wie oben: wie bekomme ich das alles mit Platine, Batterie, Lautsprecher, Potis, usw. in ein möglichst kleines Gehäuse.
Phasenschieber S. schrieb: > Ja, da schliesse ich mich an. Würde mich auch interessieren. Ok, dann werde ich das hier mal vorstellen. Verbunden mit der Frage wie man den Mischer sinnvoll dimensioniert und den Pegeln von Signal und LO. Als Mischer nehme ich einen Transistor, an die Basis das Signal, LO an Emitter. Habe schon rumprobiert und simuliert, bin aber noch nicht zufrieden. Ich könnte auch einen SA612 nehmen. Oder einen Synchrondemodulator bauen (LO = NE555 mit Rechteckausgang). Also die Tage hier im HF-Forum (auch wenn die Frequenzen bei 20 ... 120 kHz sehr klein sind). Sorry für off-topic.
Mohandes H. schrieb: > Also die Tage hier im HF-Forum (auch wenn die Frequenzen bei 20 ... 120 > kHz sehr klein sind). > > Sorry für off-topic. Kein Problem ist für mich wie gesagt auch eine Interessante Geschichte.
Phasenschieber S. schrieb: > Wie oft wirst du bei Frequenzen unterhalb 1MHz operieren? Der Klassiker wären hier AM-ZF-Filter, bspw. bei der Reparatur eines Röhrenradios.
Jörg W. schrieb: > Der Klassiker wären hier AM-ZF-Filter, bspw. bei der Reparatur eines > Röhrenradios. Ja gut, dann muß man bei der Auswahl der Teile von vorneherein darauf achten. Jeder der so etwas baut, sollte sich schon vor Beginn des Projektes eine Aufgabenliste erstellen, was das Gerät alles können soll. Wenn aber dabei rauskommt: "Kann alles, aber nichts davon richtig", dann war das Aufgabenheft zu voll :-) Ich schrub ja ganz am Anfang schon: Phasenschieber S. schrieb: > Mein Hauptanliegen war nicht eine äußerst hohe Empfindlichkeit in Bezug > auf den Dip zu bekommen.... Wer tatsächlich den Schwerpunkt auf besondere Empfindlichkeit beim Dip legt, sollte besser einen Tunneldiodendipper bauen, oder ganz abgehoben einen Schwebungsfrequenzmesser, ähnlich diesem Projekt: https://www.qrpproject.de/dipit.htm Wobei dieses Projekt wegen Benutzung von Varicaps auch nicht über 40MHz hinaus kommt. Also es gibt viele Konzepte, für jeden ist etwas dabei.
Phasenschieber S. schrieb: > diesem Projekt: https://www.qrpproject.de/dipit.htm Auch ein spannendes Konzert, wo um die Dip-Frequenz herum gewobbelt wird. Dazu gab es hier eine Diskussion: Beitrag "Eigenbau Dipmeter (DipIt-inspiriert)" Mir ist es zu kompliziert. Nicht die Schaltung ansich - ich mag eben einfache Konzepte wie einen Dipper mit 1-2 Transistoren wo dann das 'Geheimnis' im Feintuning liegt, im guten Aufbau, der Dimensionierung. Ist aber nur mein persönlicher Geschmack. > Wobei dieses Projekt wegen Benutzung von Varicaps auch nicht über 40MHz > hinaus kommt. Generell oder nur beim DipLt? Was begrenzt bei Varicaps den Frequenzbereich auf 40 MHz? Kapazitätsdioden haben hohe Güten von >200. Auch in kommerziellen Geräten (Tuner) werden für die Abstimmung Varicaps genommen. Deswegen sind Drehkondensatoren ja auch fast obsolet geworden.
Jörg W. schrieb: > Der Klassiker wären hier AM-ZF-Filter, bspw. bei der Reparatur eines > Röhrenradios. 10,7 MHz und 455 kHz sollte ein Dipper schon können. Wobei käufliche Geräte oft erst ab 1 MHz beginnen. Warum eigentlich? Wenn der Oszillator stabil läuft, sollte doch eine kleinere Frequenz kein Problem sein. Oder wird dann das L/-Verhältnis ungünstig (wenn der Dipper >150 MHz macht)?
Mohandes H. schrieb: > Jörg W. schrieb: >> Der Klassiker wären hier AM-ZF-Filter, bspw. bei der Reparatur eines >> Röhrenradios. > > 10,7 MHz und 455 kHz sollte ein Dipper schon können. Wobei käufliche > Geräte oft erst ab 1 MHz beginnen. Hallo, also der Frequenzmesser ist angekommen und fängt erst bei 1 MHz an. Darunter möchte er nicht. Okay das war soweit zu erwarten stand ja auch da 1 MHz bis 500 MHz. Bestellt mit blauen Display okay ich weiß ist Geschmackssache geliefert wurde mit dem netten grünen Display. Da werde ich allerdings noch mal anfragen deshalb. Habe mal ein Bild von der Rückseite angehängt , das mit JP1 bis JP3 muss ich mir mal anschauen eventuell kann man den ja Programmieren darüber.
Mohandes H. schrieb: > Mir ist es zu kompliziert. Nicht die Schaltung ansich - ich mag eben > einfache Konzepte wie einen Dipper mit 1-2 Transistoren wo dann das > 'Geheimnis' im Feintuning liegt, im guten Aufbau, der Dimensionierung. > Ist aber nur mein persönlicher Geschmack. Du sprichst mir aus der Seele. Ich muß zu diesem Superdipper etwas sagen, wird wohl manchen nicht gefallen, egal: Das war wieder so ein typisches DARC-Projekt, wo man genau das Gegenteil dessen erreicht, was eigentlich angesagt wäre. Angesagt wären einfache Projekte mit denen man Newcomer anlocken und bei der Stange halten kann. Projekte welche gerade für Anfänger leicht zu verstehen und nachzubauen sind. [Rant on]Diese Projekt ist aber ein einziges überkanditeltes Projekt, ein showoff von Leuten die sich in Selbstgefallen suhlen.[Rant off] Wer solch ein Gerät bauen kann, braucht es im Prinzip garnicht, der hat ganz andere Meßmittel um zum Ziel zu kommen und Bastler anlocken geht auch nicht. Ein Newcomer konfrontiert mit solchen Bauvorschlägen wird frustiert nochmal seine Mitgliedschaft in diesem Verein überdenken. Mohandes H. schrieb: > Wenn der Oszillator > stabil läuft, sollte doch eine kleinere Frequenz kein Problem sein. Oder > wird dann das L/-Verhältnis ungünstig (wenn der Dipper >150 MHz macht)? Werde ich jetzt am WE mal ausprobieren, mal sehen wie weit ich runter komme. Hobby B. schrieb: > Habe mal ein Bild von der Rückseite angehängt , das mit JP1 bis JP3 muss > ich mir mal anschauen eventuell kann man den ja Programmieren darüber. Genau den habe ich hier auch liegen, allerdings mit defekter Anzeige, die zwei ersten Segmente gehen nichtmehr. Du kannst diesem Zähler eine ZF programmieren. Das ist gedacht, daß man den Zähler zur Anzeige einer Empfangsfrequenz nehmen kann, indem der Oszillator gemessen wird. Da dieser ja um die ZF gegen die Empfangsfrequenz verschoben ist, kann man selbige rausprogrammieren und hat somit die korrekte Empfangsanzeige. Achso, ja: Mohandes H. schrieb: > Kapazitätsdioden haben hohe Güten von >200. > Auch in kommerziellen Geräten (Tuner) werden für die Abstimmung Varicaps > genommen. Deswegen sind Drehkondensatoren ja auch fast obsolet geworden. Ja schon klar, aber das Problem habe ich hier schon angesprochen: Phasenschieber S. schrieb: > Wie ich schon schrieb, hatte ich auch Versuche unternommen den Drehko > durch Varicaps zu ersetzen. > Das Hauptproblem dabei ist, daß die 9V der Batterie nicht ausreichen um > die Varicaps auf ihre geringstmögliche Kapazität zu bekommen, dazu > bedarf es deutlich höherer Spannung. > Selbst wenn ich einen winzigen Wandler eingebaut hätte, wäre die > Restkapazität der Dioden immernoch zu groß für mein gesetztes Ziel von > 200MHz gewesen.
Phasenschieber S. schrieb: > Hobby B. schrieb: >> Habe mal ein Bild von der Rückseite angehängt , das mit JP1 bis JP3 muss >> ich mir mal anschauen eventuell kann man den ja Programmieren darüber. > > Genau den habe ich hier auch liegen, allerdings mit defekter Anzeige, > die zwei ersten Segmente gehen nichtmehr. > > Du kannst diesem Zähler eine ZF programmieren. Okay das muss ich mir mal Anschauen es war bei der Lieferung natürlich keine Beschreibung bei. Phasenschieber S. schrieb: > daß man > den Zähler zur Anzeige einer Empfangsfrequenz nehmen kann Okay das ist gut zu wissen. Na mal sehen ob ich im Netz zu dem Teil noch was finde.
Phasenschieber S. schrieb: > [Rant on]Diese Projekt ist aber ein einziges überkanditeltes Projekt, > ein showoff von Leuten die sich in Selbstgefallen suhlen.[Rant off] Naja, ganz so krass würde ich das nicht sehen. Das Prinzip des DipLt ist schon interessant: durch das Wobbeln wird der Dip auf eine Wechselspannung mit bekannter Frequenz zurückgeführt, dieses AC-Signal läßt sich dann fast beliebig verstärken und so der Dip sichtbar gemacht werden. So die Theorie. Ob's funktioniert? Wie man in dem Thread: Beitrag "Eigenbau Dipmeter (DipIt-inspiriert)" lesen kann, wurde das mit der Auswertung immer komplizierter, bis das Projekt offenbar eingeschlafen ist. Auswertung über Handy oder PC finde ich eh illusorisch, ich möchte ein kleines Gerät in der Hand halten was ohne PC funktioniert. So gesehen hast Du schon Recht. Ein einfacher 'normaler' Dipper wäre als DARC-Projekt attraktiver. Andererseits liegt es in der Natur der Sache, eine Idee immer weiter zu verbessern (wenn es denn eine Verbesserung ist).
Na gut, dann nochmal zurück zu meinem Dipper: Habe jetzt mal mit Spulen die untere Frequenz ausgelotet. So wie der Dipper aktuell in Bezug auf Kapazitäten ausgelegt ist, kommt er alleine durch Vergrößerung der Spule auf 1,1MHz herunter, dann bricht die Spannung deutlich ein. Scheinbar kippt dann das L/C-Verhältnis. Morgen früh werde ich mal noch n bisschen weiter mit zusätzlichen Cs herumspielen, aber für heute ist erstmal Schluß mit Spielen :-)
Hobby B. schrieb: > also der Frequenzmesser ist angekommen und fängt erst bei 1 MHz an. > Darunter möchte er nicht. Da wäre die Frage, ob das an der Firmware oder am Eingangskondensator liegt. Letzterem kann man ja schnell mal testweise mit 100 nF parallel unter die Arme greifen.
Bernd schrieb: > Hobby B. schrieb: >> also der Frequenzmesser ist angekommen und fängt erst bei 1 MHz an. >> Darunter möchte er nicht. > Da wäre die Frage, ob das an der Firmware oder am Eingangskondensator > liegt. Letzterem kann man ja schnell mal testweise mit 100 nF parallel > unter die Arme greifen. Es liegt hier wohl an der Firmware ein zusätzlicher Kondensator hilft leider auch nicht. Oder am verwendeten MB501L, man weiß ja leider nie .... https://www.qsl.net/n9zia/mc145158/mb501.pdf Hier mal ein anderer Ansatz zu dem Teil https://www.qrpforum.de/forum/index.php?thread/11372-500mhz-frequenzz%C3%A4hler-mit-mb501-und-avr-atmel-als-z%C3%A4hler/
Hobby B. schrieb: > Oder am verwendeten MB501L, man weiß ja leider nie .... > > https://www.qsl.net/n9zia/mc145158/mb501.pdf Kann gut sein, der MB501 scheint nicht DC-gekoppelt, min. Frequenz wird mit 10 MHz angegeben. Wenn der Zähler aber hinunter bis 1,000 MHz arbeitet, dann wird er eh per Software abgeregelt.
Also, ich habe das Grid-Dip-Meter in den letzen 40 Jahren absolut nicht vermisst. Mit einem der billigen chinesischen VNAs ist man allemal besser bedient. Man will normalerweise nicht die Resonanz eines Schwingkreises wissen, der frei im Univerum schwebt, sondern das Verhalten eines selektiven Verstärkers usw. Wenn ein 60 Jahre altes Röhrenradio nicht mehr will, dann bestimmt nicht deshalb, weil irgendein Kreis im ZF-Verstärker fortgelaufen ist. Fine-tuning kann man mit dem Dipper sowieso nicht machen, dazu braucht man das Gesamtkunstwerk aller ZF-Spulen und vielleicht vom Ratiodetektor. Ja, als ich meinen ersten 2m-Transverter mit 829B gebaut habe, da war der Dipper schon hilfreich. Da waren die Spulen aber vor der Übung noch CuAg-Draht von der Rolle und hatten nicht 50 Jahre lang bewiesen, dass sie im Grunde so taugen wie sie sind. Und ich habs erfreulicherweise überlebt, wohl weil ich das Metallgehäuse des Dippers beidhändig ange- fasst habe, so dass der Querstrom durchs Herz beim Berühren der 750V Anodenspannung mit der Tastspule nicht allzu groß wurde. Ich habe dann ein Pillen- röhrchen aus Glas drübergestülpt. Mit heute aktuellen SMD-Bauteilen wäre die Kopplung auf eine Spule viel zu klein, dafür wüsste man nicht, auf WELCHE der Spulen man gerade koppelt. Wenn schon, dann bitte den RESOMAT, der koppelt kapazitiv von einem Meß-Sender auf das Objekt und geauso kapazitiv vom Objekt auf einen Detektor. C sehr klein. Dann sieht man wenigstens, woran man gerade misst. Im Prinzip eine isolierte Nähnadel mit 2 Cs und 2 Stück RG-174. Gruß, Gerhard
Mohandes H. schrieb: > Hobby B. schrieb: >> Oder am verwendeten MB501L, man weiß ja leider nie .... >> >> https://www.qsl.net/n9zia/mc145158/mb501.pdf > > Kann gut sein, der MB501 scheint nicht DC-gekoppelt, min. Frequenz wird > mit 10 MHz angegeben. Wenn der Zähler aber hinunter bis 1,000 MHz > arbeitet, dann wird er eh per Software abgeregelt. Das Problem für die meisten Prescaler ist nicht die untere Grenzfrequenz, sondern die Slew-Rate. Die ist mit hinreichend großer Eingangsfrequenz von alleine gegeben. Wenn sich das Eingangssignal länger am DC-Sweet-Spot aufhält, dann kommt der Prescaler meist ins Schwingen. Gruß, Gerhard
Mohandes H. schrieb: > Wenn der Zähler aber hinunter bis 1,000 MHz > arbeitet, dann wird er eh per Software abgeregelt. Ja ist zwar jetzt nicht so schön das dieses Model erst ab 1 MHz arbeitet, aber okay in einer anderen Anwendung findet er sicher seinen Platz. Werde mir für dieses Projekt hier noch einen anderen besorgen der weiter runter geht. Der von Phasenschieber geht bis 100 KHz runter, aber egal erstmal. Gerhard H. schrieb: > Also, ich habe das Grid-Dip-Meter in den letzen 40 > Jahren absolut nicht vermisst. Mit einem der billigen > chinesischen VNAs ist man allemal besser bedient. Ja das glaube ich Dir das den Grid-Dip-Meter nicht vermisst hast in den letzten 40 Jahren. Wie gesagt bei mir ist das alles Hobby und ich habe mich dazu entschlossen mir so ein nettes Teil mal zu bauen und als ich über die Fotos von Phasenschieber seinen Dipper gestolpert bin. Hab ich mir gesagt jetzt soll es los gehen. Zu den billigen chinesischen VNAs na klar haben die auch Ihren Reiz keine Frage aber kaufen kann jeder. Für mich ist hier der Weg das Ziel. Das es kein Präzisionsmeßgerät ist und Heutzutage auch sicher schon etwas aus der Mode gekommen ist , ist mir natürlich klar. Für mich ist das eher ein lern Projekt , denn gerade ein Dipper ist ja nicht so ganz ohne. Gerhard H. schrieb: > Das Problem für die meisten Prescaler ist nicht die > untere Grenzfrequenz, sondern die Slew-Rate. Die ist mit > hinreichend großer Eingangsfrequenz von alleine gegeben. Okay hier habe ich dann auch wieder was dazu gelernt. Gruß bastler2022
Gerhard H. schrieb: > Im Prinzip eine isolierte Nähnadel mit > 2 Cs und 2 Stück RG-174. Das kann man auch so als Tastkopf an den NanoVNA schrauben :-) Hobby B. schrieb: > Für mich ist das eher ein lern Projekt , denn gerade ein Dipper ist ja > nicht so ganz ohne. Mach das. Dümmer wird man davon vmtl. nicht.
Gerhard H. schrieb: > Dann sieht man wenigstens, woran man > gerade misst. Im Prinzip eine isolierte Nähnadel mit > 2 Cs und 2 Stück RG-174. Bernd schrieb: > Das kann man auch so als Tastkopf an den NanoVNA schrauben :-) Habt ihr dazu mal noch Infos, Links oder eventuell Bilder dazu Meine den Tastkopf :-)
Da ist nicht mehr dran als eine Nadel für das Signal und möglichst eine 2. für Erde. Von der Signalnadel geht je nach Frequenzbereich 1 pF zum Signalgenerator und nochmal 1 pF zum Detektor. Der Detektor kann ein Diodendetektor sein oder natürlich viel besser der Empfänger eines nano-vna, wie Bernd völlig richtig schrieb. Bei tiefen Frequenzen müssen die beiden Kondensatoren entsprechend größer sein damit man was sieht, beim Diodendetektor viel mehr als beim Nano-VNA. Aber letztlich ist die Resonanz eines Schwingkreises für sich allein ziemlich uninteressant. Eine Schaltung, die irgendwas tut, hat meistens einen Eingang und einen Ausgang und man will wissen was sie macht. Ein- und Ausgang sind heute meistens 50 Ohm. Ich würde mir eher einen DDS- oder PLL-Generator bauen und einen Detektor, der an ein mW-Meter erinnert. Von mir aus auch einen freilaufenden Oszillator mit einer Pufferstufe dahinter. Dann bekommt man halbwegs reproduzierbare Ergebnisse. Die Frequenzeichung ist schon wieder ein Ding für sich. Der Detektor könnte mit einer Schottky-Diode die Spannung über einem 50-Ohm-Widerstand messen, evtl mit einer 2. Diode gegen den Temperaturgang und mit einem OpAmp, damit auch bei kleinen Pegeln etwas verwertbares rauskommt. Bei der Kalibriererei kann ich Dir evtl. helfen. Meist auch nicht NIST- oder PTB-rückführbar. :-) Aber eine Stufe kleiner. Gruß, Gerhard
Gerhard H. schrieb: > Da ist nicht mehr dran als eine Nadel für das Signal > und möglichst eine 2. für Erde. Von der Signalnadel > geht je nach Frequenzbereich 1 pF zum Signalgenerator > und nochmal 1 pF zum Detektor. Okay Danke auch hier für die Infos.
Lieber Gerhard, daß der Dipper heutztage obsolet geworden ist, wurde in diesem Thread schon mehrfach erwähnt. Ichselbst besitze einen, für Hobbybastler, recht umfangreichen Meßpark. Angefangen von DDS-Signalgeneratoren über Digitaloszilloskop bis hin zum NanoVNA. Dennoch habe ich einen, nein mehrere, Dipper gebaut, vor nicht allzulanger Zeit als der Dipper schon weitestgehend obsolet war. Warum wohl? Ein bisschen Nostalgie, ein bisschen Bastlerdrang und letztendlich nochmal einen klassischen Eigenbau zu haben. Letzteres ist ja in den vergangenen Jahren immermehr verdrängt worden. Hier stellt sich nicht die Frage nach dem praktischen Wert eines solchen Gerätes. Die Motivation zu solch einem Eigenbau liegt ganz woanders, das hat Der TO auch schon mehrfach erwähnt und ich verstehe das zu 100%, weshalb ich auch gerne dabei behilflich bin. Also, es geht nicht darum welche Meßtechnik anzuwenden ist um ein bestimmtes Ergebnis zu bekommen! Der Punkt wo der Hund das Wasser lässt liegt hier: Hobby B. schrieb: > Für mich ist das eher ein lern Projekt , denn gerade ein Dipper ist ja > nicht so ganz ohne. > Für mich ist hier der Weg das Ziel. Das ist klar und deutlich.
Gerhard hat vermutlich Recht was den Dipper und 'höherwertige' Meßtechnik betrifft. Nicht umsonst gibt es kommerzielle Dipper nicht mehr zu kaufen. Ein NanoVNA kostet fast nichts mehr, im Gegensatz zu früher, wo Elektronik allgemein sehr teuer war. Alleine einen Oszillographen zu besitzen war vor 30-40 Jahren ein Privileg (und meiner ist bald 40 Jahre alt, würde ich aber nicht eintauschen). Aber 1. spielt das was Gerhard macht in einer anderen Liga, er macht das offenbar schon länger und so einfach ist das nicht für jeden. Und 2. ist ein Dipper ein Gerät, was man quasi aus Resten aufbauen kann und wobei man ungeheuer viel lernt. Schwingkreise, Oszillatoren, HF allgemein. Man kann viel aus Büchern lernen aber praktische Erfahrung ist Gold wert und gibt's nicht aus Büchern! So ein NanoVNA ist schon ein tolles Ding und ermöglicht viele Messungen. Aber wer blickt schon durch was da im Detail passiert? Eines meiner ewigen Projekte ist ein (guter) Superhet. Als ich 18 war, lange her, habe ich einen gebaut. Kann man kaufen, und so einen selber hinzubekommen wird kaum gelingen. Trotzdem bleibt der Reiz das zu probieren, bei mir zumindest. Bis es funktioniert, dann verbessern, verfeinern. Dann wieder ein neues Teilkonzept, usw. So gesehen wird das nie fertig. Das macht aber nichts - der Weg ist das Ziel. Ich habe auch mal eine Dampfmaschine gebaut und hätte Freude dran das wieder zu tun. Und jahrelang an dieser obsoleten Technik zu planen und zu bauen. Allerdings fehlt mir das Werkzeug dafür. Ich schrieb ja schon, ich mag scheinbar simple Technik welche sich dann als sehr tricky erweist. Ich könnte tage- & wochenlang an einem simplen Oszillator basteln und messen - und ich tue das auch (jetzt aktuell an einer Mischstufe für 20 .. 120 kHz). Und jedes Mal lerne ich etwas, Dinge die zuvor unter meinem Radar lagen. Da bin ich also ganz bei Phasenschieber und Hobbybastler. Selber basteln ist ja leider etwas aus der Mode gekommen und die moderne Elektronik ist so komplex geworden, daß man viele Dinge schon nicht mehr selber basteln kann. Gerhard H. schrieb: > Wenn schon, dann bitte den RESOMAT Kannte ich nicht und im Internet bekomme ich keine passenden Treffer. Hast Du einen Link dazu? Selber einen 'schnöden' Dipper zu bauen heißt ja nicht sich moderner Technik zu verschließen. Schönen Sonntag in die Runde, Mohandes
Jetzt noch ein paar neue Erkenntnisse meiner Sonntagsmorgen-Spielereien: Die Messung am Zähler bei 100kHz war falsch! Sorry for that. Da war ich wohl etwas zu schnell. Ich habe den Zähler jetzt mal komplett losgelöst vom Oszillator und bin nochmal mit dem Signalgenerator dran, Ergebnis: 1MHz ist die untere Grenze. 1MHz zählt er noch und 0,999 schon nichtmehr. Sorry, da habe ich mich scheinbar von einer falschen Anzeige täuschen lassen. Ich hatte das bisher noch nie bemerkt, weil ich eben nur bis 1,5MHz Spulen habe. Zu den Spulen: Ohne zusätzliche Kondensatoren komme ich max. bis 1,1MHz herunter. Das kann ich auch nicht unterschreiten wenn ich ein Parallel-C zur Spule löte, dann kann ich höchstens noch um 50kHz ziehen, bevor die Schwingung abreißt. Wenn ich zwei Kondensatoren parallel zu den Drehkosequenzen lege, sieht es auch nicht anders aus. Fazit: So wie der Oszillator beschaltet ist, ist definitiv bei 1,1MHz Schluss. Um weiter runter zu kommen müsste man wahrscheinlich die Koppel-Cs zum Transistor vergrößern. Tja, man kann halt nicht alles haben, entweder unten zu kurz, oder oben zu kurz :-)
Phasenschieber S. schrieb: > Fazit: So wie der Oszillator beschaltet ist, ist definitiv bei 1,1MHz > Schluss. Du gehst ja auch weit nach oben. Ein Oszillator, der von 1 .. 300 MHz stabil läuft, ist schon was. Am L/C-Verhältnis kann es nicht liegen, mit den 2x320p-Drehkondensator. Der ist ja auch für LW & MW gedacht (und hat ja noch 2 Paare mit 12p oder 15p). Wären die hohen Frequenzen für Hobbybastler nicht so entscheidend, könnte er den Oszillator auch für kleinere Frequenzen ab 100 kHz optimieren. Zähler gibt es auch, die unter 1 MHz gehen. Hobbybastler, ich bin gespannt wie es weitergeht. Wie gesagt, ich liebäugele auch damit, mir wieder einen Dipper zu bauen. Auch angetriggert durch diesen Thread :-) Oszillatoren sind eh eines meiner Lieblingsfelder. Auf meiner Liste steht noch ein Oszillator mit Lecherleitung. Abstimmung über Mikrometerschraube.
Mohandes H. schrieb: > Am L/C-Verhältnis kann es nicht liegen, mit den 2x320p-Drehkondensator. Ja, denke ich auch. Ich vermute, daß die Koppelkondensatoren von je 52pF zum Transistor nichtmehr ausreichen. Werde meinen Versuchsdipper nachher nochmal malträtieren und grössere Cs einlöten, mal sehen was dabei herauskommt. Du hattest mal nachgefragt wieso mein Dipper geschrumft ist, siehe Bild. Nein, er ist nicht ins Wasser gefallen ;-)
Erstmal eine schönen Sonntag allen die mitlesen hier. Mohandes H. schrieb: > Gerhard hat vermutlich Recht was den Dipper und 'höherwertige' > Meßtechnik betrifft. Nicht umsonst gibt es kommerzielle Dipper nicht > mehr zu kaufen. Ja sehe ich auch so. Mohandes H. schrieb: > Ein NanoVNA kostet fast nichts mehr, Das ist natürlich auch richtig , habe mir allerdings noch keinen geholt da ich den bis jetzt auch noch nicht gebraucht habe für mein Hobby. Mohandes H. schrieb: > Aber 1. spielt das was Gerhard macht in einer anderen Liga, Ja das ist mir auch klar. Mohandes H. schrieb: > Selber einen 'schnöden' Dipper zu bauen heißt ja nicht sich moderner > Technik zu verschließen. Richtig siehe Phasenschieber der ja wohl mehrere nette Geräte hat. Phasenschieber S. schrieb: > Die Messung am Zähler bei 100kHz war falsch! Sorry for that. > Da war ich wohl etwas zu schnell. Kein Problem das kann passieren , ich weiß das es welche gibt die viel weiter unten anfangen sollen , aber das ist jetzt nicht wichtig dann bekommt der Dipper einen zusätzlichen Ausgang oder aber einen anderen Frequenzmesser. Phasenschieber S. schrieb: > Tja, man kann halt nicht alles haben, entweder unten zu kurz, oder oben > zu kurz :-) Richtig , aber trotzdem werde ich mich weiterhin an deiner Vorlage Orientiren. Mohandes H. schrieb: > Wären die hohen Frequenzen für Hobbybastler nicht so > entscheidend, könnte er den Oszillator auch für kleinere Frequenzen ab > 100 kHz optimieren. Zähler gibt es auch, die unter 1 MHz gehen. Na in dem Punkt , hatte ich auch schon Überlegt hier ein Kompromiss zu machen 100 kHz bis 30 MHz zum Beispiel aber da bin ich mir noch nicht schlüssig. Was ich aber genau weiß ist das ich mir einen Dipper baue und das mir das kleine Teil von Phasenschieber als Vorlage dient. So jetzt muss ich erstmal mein Material dazu alles zusammen stellen und dann wollte ich Heute schon mal mit der Grundplatte an fangen. Bis nachher dann ;-)
Mohandes H. schrieb: > Eines meiner ewigen Projekte ist ein (guter) Superhet. Als ich 18 war, > lange her, habe ich einen gebaut. Kann man kaufen, und so einen selber > hinzubekommen wird kaum gelingen. Trotzdem bleibt der Reiz das zu > probieren, bei mir zumindest. Bis es funktioniert, dann verbessern, > verfeinern. Dann wieder ein neues Teilkonzept, usw. So gesehen wird das > nie fertig. Das macht aber nichts - der Weg ist das Ziel. Ich habe auch einen Kurzwellenempfänger, der vermutlich nie fertig wird. Im Bild ist der 80-Meter-Preselektor, der zerlegt das Band in 4 Segmente. In der Mitte des Nachbarsegments ist nix mehr zu hören. Original Siemens-K1-Schalenkerne mit abartig gutem Q. Vielleicht kann ich ihn mit meinem RedPitaya recyclen. Ich war mal in Ulm, wo früher die AEG-Entwicklung der miltärischen / Spionageempfänger war. In den Fluren hängen noch die Bilder der Bau- gruppen als Poster. Erzeugt die pure Gier. > Gerhard H. schrieb: >> Wenn schon, dann bitte den RESOMAT > > Kannte ich nicht und im Internet bekomme ich keine passenden Treffer. > Hast Du einen Link dazu? Nö. Der Mann, der mir seinen Dipper ausgeliehen hatte, der hat mir seinen selbstgebauten Resomat gezeigt. Ging gut. Das muss jetzt OMG 50 Jahre her sein, von wegen moderner Technik. Da war ich noch Schüler, Mittelstufe. Die beiden Koppelkondensatoren machen aus dem LC-Kreis ein Bandfilter. Sie müssen klein sein, damit sie nicht alles verstimmen, oder rausgerechnet werden. > Selber einen 'schnöden' Dipper zu bauen heißt ja nicht sich moderner > Technik zu verschließen. Was spricht dagegen, aus einer BAT17-5 und einem OpAmp einen mW-Meter- Ersatz zu basteln? Oder einen Oszillator mit Pufferstufe, damit sich die beiden Schwingkreise nicht gegenseitig verstimmen? Zusammen ist das ja schon fast ein Wobbler, wenn auch auf V_a_l_i_u_m. (Das Wort ist hier wohl ein Indikator für Spam, nicht postbar.) Gerhard
So, jetzt bin ich aber überrascht: Habe den beiden Koppelkondensatoren noch jeweils ein C von 270pF parallel geschaltet, sodaß jeder ca. 320pF darstellt und eine Spule (alte Trafowindungen)die vorher garnicht zum Schwingen zu bringen waren, angeschlossen und siehe Bild. Die untere Wicklung ist der Schwingkreis und die darauf liegende Wicklung die Ankopplung für meinen ext. Frequenzzähler, da der verbaute ja unterhalb 1MHz ausgestiegen ist. Das Überraschende dabei ist, daß die obere Grenzfrequenz sich nicht geändert hat. Ich hätte erwartet, daß damit selbige fällt, aber das ist nicht der Fall. Kommt weiterhin auf deutlich über 200MHz. Die Ausgangsspannung bleibt konstant auf Vollausschlag des Instrumentes. hmmmm.... schönes Spielzeug :-)
Phasenschieber S. schrieb: > hmmmm.... schönes Spielzeug :-) Ich bin ja mal wieder begeistert von dem kleinen Ding :-) Gerhard H. schrieb: > Was spricht dagegen, aus einer BAT17-5 und einem OpAmp einen mW-Meter- > Ersatz zu basteln? Oder einen Oszillator mit Pufferstufe, damit sich > die beiden Schwingkreise nicht gegenseitig verstimmen? > Zusammen ist das ja schon fast ein Wobbler, Da spricht natürlich nichts dagegen , ein mW-Meter ist auch eine feine Sache da hast recht. Eventuell kommt so was später auch noch , aber da würde es mir dann auch wieder um den Selbstbau gehen. Okay jetzt erstmal Grundplatte vorbereiten und Drehko von dem Rest erlösen.
Hobby B. schrieb: > Drehko von dem Rest erlösen. Wenn das der Drehko von Pollin ist, der Tuner ist auch einen Blick wert. Schaltplan gibt es im Netz. Ich hatte damals die Schaltung analysiert und ein paar Teile recycelt, u.a. die Spulen & Kerne und auch die HF-Transistoren weil gerade keine zur Hand. Ich hatte zwei von den Drehkondensatoren. Beide mußten gerichtet werden (Platten hatten einen Schluss) und auch gereinigt.
Mohandes H. schrieb: > Ich hatte zwei von den Drehkondensatoren. Beide mußten gerichtet werden > (Platten hatten einen Schluss) und auch gereinigt. Hallo Mohandes, ja ist der selbe Typ wie der von Pollin und auch dieser hier war verharzt deshalb hat das hier alles etwas länger gedauert. Die kleine Platine habe ordentlich ausgebaut und auch erstmal weggelegt :-) Ansonsten ist der Drehko okay und die Werte stimmen auch soweit. Grundplatte ist auch soweit erstmal grob fertig. Habe mal ein paar Bilder dazu gemacht nichts besonderes aber man sieht das es vorwärts geht. Also es wird schon langsam :-) Wie gesagt erstmal soweit grob zusammen gesetzt.
Ich bin total gespannt auf das Ergebnis. Vielleicht kann ich ja auch eine Idee von dir abstauben :-) Es gefällt mir, daß du am Ball bleibst und das Projekt auch tatsächlich umsetzt. Viel Erfolg weiterhin.
Phasenschieber S. schrieb: > Es gefällt mir, daß du am Ball bleibst und das Projekt auch tatsächlich > umsetzt. Hallo Phasenschieber, ja bin dran an dem Projekt muss nur immer auch die Zeit dafür finden. Zum bauen hab ich meist nur am WE Zeit, na mal schauen. Gruß bastler2022
Hallo, hier noch mal ein kurzes Update viel habe ich zwar noch nicht geschafft aber nächstes Wochenende habe ich etwas mehr Zeit. Die Woche über werde ich mich noch mit Recherchen beschäftigen und mir eine grobe Schaltplan Skizze machen. Eventuell auch noch ein paar Kleinigkeiten besorgen für das Teil. Hier mal die ca. Maße l=100 mm x b=74 mm x h=43 mm vom Gehäuse mit Zollstock gemessen :-) Das die kleine Platine nicht wirklich für HF taugt ist mir bekannt aber zum testen sollte sie erstmal ausreichen. Da sie zum stecken ist sehe ich da auch keine Probleme sie später zu tauschen. Also Ausführung als Modul werde mir passend zu dem oder den Modulen eine kleine Test Umgebung aufbauen. Hat den Vorteil ich kann mehrere Ansätze dann auch später Testen. @ Phasenschieber, falls Du deinen noch mal in den Trockner steckst und er noch 2cm einläuft oder Schrumpft :-) kann ich Dir gerne so ein kleines Gehäuse zukommen lassen. Sag mir Bescheid ob sowas haben möchtest. Gruß bastler2022 PS: falls ihr noch Tipps und Interessante Links zu dem Thema habt immer her damit , Danke :-)
Hallo Bastler, sieht doch alles gut aus. Erstmal Dank für dein Angebot, aber auf 100mm zu schrumpfen schaffe ich nichtmehr, ich denke, daß ich schon viel Luft raus gelassen habe. Sag´ mal, wo und wie bringst du das Drehspulinstrument unter? Ich kann dafür keinen Platz ausmachen auf deiner Trägerplatte. Ich hatte ja anfangs das Problem, daß das Display des Zählers und die Scheibe des Instrumentes auf der gleichen Höhe sitzen müssen um in einem Gehäuse auf der gleichen Ebene durch Ausschnitte im Gehäuse ablesbar zu sein. Die Gehäusehöhe wurde aber durch den Drehko bestimmt, also musste der Zähler und auch das Instrument etwas höher gesetzt werden. Den Raum unter dem Zähler habe ich mit dem Oszillator gefüllt und den Raum unter dem Instrument mit der Batterie. Also noch kleiner krieg ich ihn jetzt nichtmehr. Aber okay, mach mal, ich bin sehr gespannt.
Hobby B. schrieb: > falls ihr noch Tipps und Interessante Links zu dem Thema habt immer > her damit Naja, die oben gezeigte Schaltung vom "Phasenschieber" hat keinerlei Amplitudenbegrenzung, was dazu führt, daß die Ausgangsspannung an die Anschläge läuft (die Schaltung übersteuert). Die Simulation im angehängten Bild zeigt das. Die Ausgangsspannung wird sogar größer als die Versorgungsspannung. Der Schwingkreis liefert also Energie über die Basis-Kollektor-Strecke des Transistors an den Ausgang. Am unteren Signalpegel wird der Transistor abgeschaltet. Die Schwingfrequenz ist dadurch niedriger als der Schwingkreis vorgibt. Wird die Schaltung durch den zu messenden Schwingkreis bedämpft, nimmt die Amplitude ab, das Signal wird sinusförmiger und die Frequenz steigt an. Ich finde so ein Verhalten nicht besonders gut.
Da halte ich dagegen, siehe Bild. Unten die Werte: 7,5Mhz, ca. 5,7Vss Gemessen mit 10Meg-Tastkopf direkt am Kollektor. Ich finde das Verhalten gut.
Phasenschieber S. schrieb: > Da halte ich dagegen, siehe Bild. > Unten die Werte: 7,5Mhz, ca. 5,7Vss > Gemessen mit 10Meg-Tastkopf direkt am Kollektor. Die Pegel sind wegen der Belastung durch den Messgleichrichter kleiner, die Kurverform ist aber ebenfalls stark verzerrt. Eine Pufferstufe wäre hier wohl angebracht, würde aber die von mir oben genannte Problematik auch nicht ändern. > Ich finde das Verhalten gut. Das glaube ich dir.
Habe den Meßgleichrichter abgetrennt, wie gut daß ich noch einen Experimentier-Dipper habe. Es hat sich nichts geändert, außer dem Pegel, der ist auf ~6,7Vss gestiegen. So what? Achja, Kurvenform. Zeig´ mal einen Dipper der reinen Sinus macht, bitte.
Phasenschieber S. schrieb: > So what? Einen LC-Oszillator zu Messzwecken würde ich so bauen, dass er ein sauberes sinusförmiges Signal liefert. Ein stark verzerrtes Signal hat eine andere Frequenz als der reine Schwingkreis.
Phasenschieber S. schrieb: > Achja, Kurvenform. Zeig´ mal einen Dipper der reinen Sinus macht, bitte. Wurde oben verlinkt, "NICOS".
Kannst du auch begründen inwieweit sich die Kurvenform eines Dippers auf dessen Meßergebnisse auswirkt?
Phasenschieber S. schrieb: > Kannst du auch begründen inwieweit sich die Kurvenform eines Dippers auf > dessen Meßergebnisse auswirkt? Das hab ich doch nun schon 2 mal geschrieben...
ArnoR schrieb: > Einen LC-Oszillator zu Messzwecken würde ich so bauen, dass er ein > sauberes sinusförmiges Signal liefert. Ein stark verzerrtes Signal hat > eine andere Frequenz als der reine Schwingkreis. Hast du schonmal mit einem Dipper gearbeitet? Ein Dipper ist kein Meßgerät, er ist ein Schätzgerät!
Phasenschieber S. schrieb: > Hast du schonmal mit einem Dipper gearbeitet? Ja, ich hatte damals die Schaltung aus dem genannten Link mit einem Dreko und verschiedenen Spulen zu einem durchstimmbaren Oszillator erweitert und damit eine Reihe von Schwingkreisen bzw sogar einfachen Spulen in einiger Entfernung gemessen. Solange die Kurvenform sinusförmig war, blieb die Frequenz auch bei veränderter Amplitude erwartungsgemäss konstant. Bei Übersteuerung nahm die Frequenz deutlich ab. > Ein Dipper ist kein Meßgerät, er ist ein Schätzgerät! Wenn du nur schätzen willst, brauchst du gar keine Schaltung.
ArnoR schrieb: > Ja, ich hatte damals die Schaltung aus dem genannten Link mit einem > Dreko und verschiedenen Spulen zu einem durchstimmbaren Oszillator > erweitert und damit eine Reihe von Schwingkreisen bzw sogar einfachen > Spulen in einiger Entfernung gemessen. Aus einiger Entfernung, Gratulation. Solange die Kurvenform > sinusförmig war, blieb die Frequenz auch bei veränderter Amplitude > erwartungsgemäss konstant. Bei Übersteuerung nahm die Frequenz deutlich > ab. Das verstehe ich nicht, auch wenn du aus einem Sinus ein Rechteck machst, bleibt die Frequenz die gleiche. Also ich lasse mir gerademal auf der Zunge zergehen: Eine Verzerrung der Sinusform beeinträchtigt das Meßergebnis eines Dippers. Wenn du das in einer Runde altgedienter Funkamateure behauptest, wirst du schallendes Gelächter ernten. So einen guten Witz haben die schon lange nichtmehr gehört.
Phasenschieber S. schrieb: > Das verstehe ich nicht, auch wenn du aus einem Sinus ein Rechteck > machst, bleibt die Frequenz die gleiche. Nur wenn man das mit einer nachfolgenden Stufe ohne Rückwirkung auf den Oszillator macht. Wenn der Oszillator selbst übersteuert wird, nimmt die Frequenz ab. Phasenschieber S. schrieb: > Also ich lasse mir gerademal auf der Zunge zergehen: Eine Verzerrung der > Sinusform beeinträchtigt das Meßergebnis eines Dippers. > Wenn du das in einer Runde altgedienter Funkamateure behauptest, wirst > du schallendes Gelächter ernten. > So einen guten Witz haben die schon lange nichtmehr gehört. Ja, es gibt Leute, die gern über Dinge lachen die sie nicht verstehen.
ArnoR schrieb: > Ja, es gibt Leute, die gern über Dinge lachen die sie nicht verstehen. Es gibt auch Leute die über Dinge reden von denen sie nichts verstehen :-)
Phasenschieber S. schrieb: > Es gibt auch Leute die über Dinge reden von denen sie nichts verstehen Wie du z.B.. Du hst noch kein Argument von mir wiederlegt, hast dich nur hin und her gewunden. Aber mir egal, so eine Diskussion ist eh der Normalfall.
ArnoR schrieb: > Wie du z.B.. Du hst noch kein Argument von mir wiederlegt Da er ja eine Frequenzanzeige an seinem Dipmeter hat, könnte er einfach mal das Teil an einen Schwingkreis dran halten und ein Filmchen machen. Dann würden wir sehen, ob eher deine Simulation oder seine praktische Ausführung Recht behält. ;-) ps: wobei ich es als völlig normal ansehen würde, dass das Ding sich verstimmt, wenn man sich anderen Objekten annähert. Wenn das Objekt ein Schwingkreis ist, wird der die Frequenz sowieso in seine Richtung ziehen wollen, wenn man sie nicht vorher bereits genau getroffen hatte mit der Einstellung.
von ArnoR schrieb: >Naja, die oben gezeigte Schaltung vom "Phasenschieber" hat keinerlei >Amplitudenbegrenzung, was dazu führt, daß die Ausgangsspannung an die >Anschläge läuft (die Schaltung übersteuert). Die Übersteuerung ist dann praktisch die Amplitudenbegrenzung, daß hat man oft bei Oszillatorschaltungen. Aber die Schwingkreisspannung kann trotzdem Sinusförmig sein, und bei hoher Güte auch größer als die Betriebsspannung, nur eben nicht die Ausgangsspannung am Transistor. Mach mal eine Koppelwicklung mit nur einer einzigen Windung auf die Spule und gehe da mal mit einen Oszillograf drann. Wenn da die Spannung sinusförmig ist, ist alles OK, wenn nicht, ist der Transistor wirklich zu fest an den Schwingkreis angeschlossen. Man kann aber die Rückkopplung verringern, in dem man einen Kondensator von Basis des Transistors nach Masse schaltet, vielleicht so 500pF. Wenn der aber zu groß ist setzen die Schwingungen aus. Für den Frequenzähler ist die Kurvenform aber egal, der zählt trotzdem richtig. Wenn ich sinusförmige Spannungen von einen LC-Oszillator haben will, koppel ich immer induktiv mit einer Koppelwindung aus.
Jörg W. schrieb: > Dann würden wir sehen, ob eher deine Simulation oder seine praktische > Ausführung Recht behält. ;-) Ich habe es ja auch praktisch aufgebaut und die Frequenzverschiebung allein durch Übersteuerung dort gemessen. Das war allerdings meine Schaltung. Die Simulation der Schaltung vom "Phasenschieber" zeigt aber das gleiche Verhalten.
Jörg W. schrieb: > wobei ich es als völlig normal ansehen würde, dass das Ding sich > verstimmt, wenn man sich anderen Objekten annähert. Wenn das Objekt ein > Schwingkreis ist, wird der die Frequenz sowieso in seine Richtung ziehen > wollen, wenn man sie nicht vorher bereits genau getroffen hatte mit der > Einstellung. Das bedeutet aber, das die praktische Messung die du vorgeschlagen hast, keine Aussagekraft hat, weil die gemessene Frequenz je nach angekoppeltem Schwingkreis steigen oder sinken kann.
ArnoR schrieb: > Das bedeutet aber, das die praktische Messung die du vorgeschlagen hast, > keine Aussagekraft hat, weil die gemessene Frequenz je nach > angekoppeltem Schwingkreis steigen oder sinken kann. Macht sie zumindest bei meinem alten Röhren-Dipper durchaus. Um so mehr natürlich, je fester man das Objekt koppelt. Merkt man deutlich daran, dass der Zeiger so einen "Mitzieh-Effekt" hat. Normalerweise koppelt man daher fest an, um erstmal überhaupt die Resonanz zu finden, dann einfach loser werdend und dabei den Knopf hin und her drehend, bis man nur noch einen minimalen "Dip" sieht. Dann erst liest man ab. Es wurde ja schon geschrieben, dass ein Dipper alles andere als ein Präzisionsmessgerät ist.
ArnoR schrieb: > Wie du z.B.. Du hst noch kein Argument von mir wiederlegt, Doch, habe ich mit beiden Oszillogrammen. Deine Behauptung, die Amplitude würde die Versorgungsspannung überschreiten, ist doch klar widerlegt. Was eierst du jetzt rum und unterschlägst diesen Punkt? Außerdem, wenn ich dein Chef wäre und du mir diese Simulation unterbreiten würdest, würde ich dich zurück an den Arbeitsplatz schicken um das ganze nochmal zu zeichnen. Die ist nämlich schlampig erstellt. Es fehlt ein Kondensator in Reihe mit einem 50R von Emitter nach Masse, als Ersatz für den Zählereingang. Trotz dieser "Verstärkungsunterstützung" bleibt die Amplitude weit unter dem von dir angegebenen Bereich! Jörg W. schrieb: > wobei ich es als völlig normal ansehen würde, dass das Ding sich > verstimmt, wenn man sich anderen Objekten annähert. Das ist doch der Punkt wo der Hund das Wasser lässt und die Funkamateurrunde über Arnos Behauptung zu lachen anfängt. Jörg W. schrieb: > Es wurde ja schon geschrieben, dass ein Dipper alles andere als ein > Präzisionsmessgerät ist. Yep
Hallo zusammen, okay ich habe da mal ne Frage zu der Simulation und dem Aufbau. Wäre es nicht Aussagekräftiger wenn man dann auch die Gesamte Schaltung in der Simulation darstellt und nicht nur einen Teil der Schaltung und dann noch mit 2 getrennten Spannungsquellen Simuliert. Ist es nicht so das jedes weitere Bauteil die Eigenschaften der Schaltung beeinflusst und demzufolge auch die Messungen in der Simulation anders ausfallen könnten. ArnoR schrieb: > "NICOS" Hierzu auch noch eine Frage ist das nun ein Kippschwinger der auch als Dip Meter eingesetzt werden kann oder könnte oder ist das ein richtiges Dip Meter. Oder bringe ich da gerade etwas durch einander.
Günter Lenz schrieb: > Man kann aber > die Rückkopplung verringern, in dem man einen Kondensator > von Basis des Transistors nach Masse schaltet, vielleicht > so 500pF. Das kannst du machen, wenn es sich um einen ganz engen Frequenzbereich handelt, aber nicht bei einem Oszillator welcher von 1MHz bis 230MHz sauber schwingen soll. Aber dein Argument hat bei mir einen anderen Gedanken ausgelöst: Ich hatte ja gestern die Koppel-Cs von 52pF auf ~320pF erhöht um noch weiter in der Frequenz runter zu kommen und genauso habe ich heute morgen die Oszillogramme erstellt. Das mache ich jetzt mal gerade rückgängig und schaue mir nochmal die Kurvenform an. Nicht, weil sie mir wichtig wäre, einfach nur aus Neugier.
Hobby B. schrieb: > Wäre es nicht Aussagekräftiger wenn man dann auch die Gesamte Schaltung > in der Simulation darstellt und nicht nur einen Teil der Schaltung und > dann noch mit 2 getrennten Spannungsquellen Simuliert. Die 6,18V-Quelle liefert genau die Spannung, die sich mit dem Widerstandsteiler an dem Punkt ergibt. Hobby B. schrieb: >> "NICOS" > > Hierzu auch noch eine Frage ist das nun ein Kippschwinger der auch als > Dip Meter eingesetzt werden kann oder könnte oder ist das ein richtiges > Dip Meter. Weder, noch. Was das ist, steht dort im Eröffnungspost.
Phasenschieber S. schrieb: > Deine Behauptung, die Amplitude würde die Versorgungsspannung > überschreiten, ist doch klar widerlegt. > Was eierst du jetzt rum und unterschlägst diesen Punkt? Dass die Spannung kleiner ist, kann viele Gründe haben, aber das ist irrelevant. Wichtig ist allein, dass die Frequenz fällt, wenn die Kurvenform verzerrt ist. Ich habe eben mal eine Messung gemacht, wo ich eine 2A-Tonneninduktivität als Schwingkreis verwendet habe und die Bedämpfung von sinusförmigem Signal zu verzerrtem Sinus wie etwa oben in deinem Oszillogramm veränderte. Dabei verschob sich die Frequenz von 4,6MHz auf 4,0MHz, das sind 15%.
So, habsch gerademal gemacht. Hat nichts an der Signalform geändert.
ArnoR schrieb: > Dass die Spannung kleiner ist, kann viele Gründe haben, aber das ist > irrelevant. Ach, die Widerlegung deiner Behauptung ist irrelevant? Ja warum hast du denn dann diese Behauptung aufgestellt? Wenn sie doch irrelevant ist. ArnoR schrieb: > Ich habe eben mal eine Messung gemacht, wo ich eine > 2A-Tonneninduktivität als Schwingkreis verwendet habe und die Bedämpfung > von sinusförmigem Signal zu verzerrtem Sinus wie etwa oben in deinem > Oszillogramm veränderte. Dabei verschob sich die Frequenz von 4,6MHz auf > 4,0MHz, das sind 15%. Das ist völlig irrelevant! Der Oszillator schwingt irgendwo und seine Frequenz wird vom Zähler angezeigt, fertich. Warum der jetzt auf 4MHz statt 4,6Mhz, wo er schwingen könnte wenn er Sinus hätte schwingt, ist doch völlig wurschd. Der könnte auch Rechteck machen, Hauptsache die Frequenz wird im Zähler angezeigt.
Ich habe mal gelesen , das ein Peltz-Oszillator einen sauberen Sinus liefert .
ArnoR schrieb: > Hobby B. schrieb: >>> "NICOS" >> >> Hierzu auch noch eine Frage ist das nun ein Kippschwinger der auch als >> Dip Meter eingesetzt werden kann oder könnte oder ist das ein richtiges >> Dip Meter. > > Weder, noch. Was das ist, steht dort im Eröffnungspost. Danke für die Antwort , aber im Eröffnungspost steht das garantiert nicht drin. Das sollte ich wissen da der Eröffnungspost von mir erstellt worden ist.
Hobby B. schrieb: >> Weder, noch. Was das ist, steht dort im Eröffnungspost. > > Danke für die Antwort , aber im Eröffnungspost steht das garantiert > nicht drin. Das sollte ich wissen da der Eröffnungspost von mir erstellt > worden ist. Einfach mal lesen, was ich geschrieben habe: "Was das ist, steht DORT im Eröffnungspost" DORT, nicht hier.
Hobby B. schrieb: > ArnoR schrieb: >> Hobby B. schrieb: >>>> "NICOS" >>> >>> Hierzu auch noch eine Frage ist das nun ein Kippschwinger der auch als >>> Dip Meter eingesetzt werden kann oder könnte oder ist das ein richtiges >>> Dip Meter. >> >> Weder, noch. Was das ist, steht dort im Eröffnungspost. > > Danke für die Antwort , aber im Eröffnungspost steht das garantiert > nicht drin. Das sollte ich wissen da der Eröffnungspost von mir erstellt > worden ist. Das kleine Wort "dort" sollte auf den NICOS Eröffnungspost hinweisen ;) steht für Negative Impedance COnverter.. Entdämpfung des Schwingkreises über einen negativen Widerstand .. Sowohl dieser als auch die Peltz-Schaltung driften in der Frequenz nach unten weg, wenn sie übersteuert werden.... wenn einen das nicht stört .. nur zu. Je nach Eingangsempfindlichkeit des verwendeten Zählers ist das damit auch schön zu sehen. (oder am Skope ..) Wenn der Schwingkreis mit der Schaltung nicht übersteuert ist, dippt er auch empfindlicher ;)
Phasenschieber S. schrieb: > Warum der jetzt auf 4MHz statt 4,6Mhz, wo er schwingen könnte wenn er > Sinus hätte schwingt, ist doch völlig wurschd. Nee, genau nur darum geht es, weil sich die Kurvenform mit der Bedämpfung, also der Ankopplung des zu messenden Schwingkreises, ändert.Bei loser Ankopplung ist die Frequenz deswegen niedriger als bei fester Kopplung. Aber du hast recht, eine weitere Diskussion ist sinnlos.
von Manfred schrieb: >Ich habe mal gelesen , das ein Peltz-Oszillator einen sauberen Sinus >liefert . Bei richtiger Dimensionierung kann jeder LC-Oszillator einen sauberen Sinus liefern. Schwingkreisgüte sollte möglichst hoch sein und die Kopplung mit dem Transistor nicht zu fest machen und die Rückkopplung nicht viel stärker machen als zum anschwingen nötig ist. Und iduktiv auskoppeln.
Günter Lenz schrieb: > Bei richtiger Dimensionierung kann jeder LC-Oszillator > einen sauberen Sinus liefern. Entscheidend ist halt die Amplitudenregelung, wie auch immer sie erfolgt. Die Schwingbedingung muss gerade so erfüllt sein. Wenn die Verstärkung deutlich größer als 1 wird, dann wird die Schwingung halt immer größer, bis irgendeine Nichtlinearität die Verstärkung begrenzt. > Und iduktiv auskoppeln. Geht auch kapazitiv, das allein entscheidet nicht so viel.
Jörg W. schrieb: > Entscheidend ist halt die Amplitudenregelung, wie auch immer sie > erfolgt. Die Schwingbedingung muss gerade so erfüllt sein. So ist es bei einem Dipper dessen zentrales Merkmal, eine hohe Empfindlichkeit in Bezug auf den Dip sein soll. Deshalb haben klassische Dipper noch einen Regler für den Schwingungseinsatz. Mit diesem kann man die Empfindlichkeit dermaßen einstellen, daß schon bei geringem Entzug von Energie, die Anzeige drastisch einbricht. Man muß jedoch ständig diesen Regler bedienen, weil keine konstante Amplitude über den gesamten Frequenzbereich zu erreichen ist. Das wurde alles schon in diesem Thread gesagt: Phasenschieber S. schrieb: > Du kannst ein superempfindliches Gerät bauen in Bezug auf > Resonanzmessungen, sehr gut geht das mit Tunneldioden. > Selbige schwingen so schwach, daß jeglicher Entzug von HF-Energie sofort > zu einem Einbruch der Energieanzeige führt. > Vorteil: Schwingkreisresonanzen sind sehr gut aufzuspüren. > Nachteil: Keine konstante Amplitude über einen großen Frequenzbereich > und viele Fehlmessungen wegen irgendwelcher hf-absorbierenden > parasitären Elementen. weiters: Phasenschieber S. schrieb: > Mein Hauptanliegen war nicht eine äußerst hohe Empfindlichkeit in Bezug > auf den Dip zu bekommen, sondern ich wollte eine möglichst konstante > Amplitude über den ganzen Frequenzbereich, ohne irgendetwas nachstellen > zu müssen. > Quasi ein Universal-Frequenzgenerator für viele Aufgaben. und somit habe ich nun nicht den superduperempfindlichen Dipper, aber ein Universalgerät für viele Zwecke wozu der klassische Dipper zu umständlich ist. und hier in den Bildern ein paar Beispiele was man alles noch so damit anstellen kann: 1. Bild Anstelle der Spule einfach einen Quarz einstecken, zum Check ob der noch tut und wie weit man den ziehen kann. 2. Bild Antennenresonanz ermitteln mittels Koppelspule. Signalbarke für Empfängerabstimmung und Antennenoptimierung u.v.a.m.
von Jörg W. schrieb: >Entscheidend ist halt die Amplitudenregelung, >wie auch immer sie erfolgt. Bei den Röhren-Dip-Metern, wie man sie öfters als Bauanleitung in alten Radiobastelbüchern findet, erfolgte die Regelung durch Gittergleichrichtung, die dann bei großer Amplitude einsetzte. Die Gittergleichspannung regelte dann die Verstärkung der Röhre zurück und wurde auch gleichzeitig mit einen Indikator angezeigt. Gittergleichrichtung bedeutet aber, das die Röhre schon übersteuert wird, und man hat an der Anode der Röhre keine sinusförmige HF-Spannung, aber am Schwingkreis kann die HF-Spannung trotzdem sinusförmig sein wenn die Güte des Schwingkreises hochgenug ist.
Henrik V. schrieb: > Sowohl dieser als auch die Peltz-Schaltung driften in der Frequenz nach > unten weg, wenn sie übersteuert werden.... wenn einen das nicht stört .. > nur zu. Danke Dir für die kurze Erklärung dazu. Phasenschieber S. schrieb: > und somit habe ich nun nicht den superduperempfindlichen Dipper, aber > ein Universalgerät für viele Zwecke wozu der klassische Dipper zu > umständlich ist. Also mir sagt das Konzept zum Nachbau zu , um es auch noch mal extra zu erwähnen es geht mir hier darum ein Dip Meter mal gebaut zu haben das es kein exaktes Messgerät ist mir klar. Bis jetzt hatte eigentlich jedes der hier schon erwähnten Konzepte seine Vor und Nachteile. Aber was alle Konzepte gemeinsam haben ist das es immer auf die Güte des Schwingkreises ankommt. Ich bin auch weiterhin an anderen Varianten und Infos dazu Interessiert.
ArnoR schrieb: > Ein stark verzerrtes Signal hat eine andere Frequenz als der reine > Schwingkreis. Andere Frequenz jetzt nicht, es entstehen nur Oberwellen. Könnte es sein, daß der Dipper auf einer der Harmonischen 'einrastet'? Henrik V. schrieb: > Sowohl dieser als auch die Peltz-Schaltung driften in der Frequenz nach > unten weg, wenn sie übersteuert werden.... wenn einen das nicht stört .. > nur zu. Dann ist der Dip eben auf einer anderen Frequenz bzw. die Frequenz muß nachgestellt werden. Der Frequenzzähler zeigt aber dennoch beim Dip die Resonanzfrequenz des DUT an. Phasenschieber S. schrieb: > Der Oszillator schwingt irgendwo und seine Frequenz wird vom Zähler > angezeigt, fertich. Manfred schrieb: > Ich habe mal gelesen , das ein Peltz-Oszillator einen sauberen Sinus > liefert. Nicht ganz. Der Peltz-Oszillator neigt zu Verzerrungen. Um diese minimal zu halten sollte der emittergekoppelte Oszillator mit möglichst großem Emitterwiderstand betrieben werden. So daß die Schwingung gerade nicht abreißt. Oder, wie die Originalschaltung aus der Funkschau, mit Amplitudenreglung. Jörg W. schrieb: > Normalerweise koppelt man daher fest an, um erstmal überhaupt die > Resonanz zu finden, dann einfach loser werdend Ja, die Kopplung bei der Messung sollte möglichst lose sein um Mitzieheffekte zu verhindern. (Dann wird der Dip natürlich kleiner).
Ich habe jetzt heute mal weitere Untersuchungen bezüglich Kurvenform angestellt. Dieser Supersimpeldipper ist garnicht so simpel wie es scheint. Der Dipper überstreicht aktuell mittels 4 Spulen den Frequenzbereich von 1,5 bis 230MHz. Beim Durchfahren jedes Spulensegmentes gibt es eine L/C-Kombination bei der das Signal, rein optisch beurteilt, sinusförmig ist. Unterhalb und oberhalb dieser Einstellung verformt sich das Signal etwas. Es ist also keineswegs so, daß das Signal immer die Form meiner gezeigten Oszillogramme hat, es ändert sich mit der Frequenz, respektive dem L/C-Verhältnis. Die Amplitude jedoch, bleibt erstaunlich konstant. Ich denke zwar nicht, daß das irgendwie relevant ist, aber wollte es nur der Vollständigkeit halber erwähnen.
Phasenschieber S. schrieb: > Dieser Supersimpeldipper ist garnicht so simpel wie es scheint. > > Der Dipper überstreicht aktuell mittels 4 Spulen den Frequenzbereich von > 1,5 bis 230MHz. > > Beim Durchfahren jedes Spulensegmentes gibt es eine L/C-Kombination bei > der das Signal, rein optisch beurteilt, sinusförmig ist. > Unterhalb und oberhalb dieser Einstellung verformt sich das Signal > etwas. > > Es ist also keineswegs so, daß das Signal immer die Form meiner > gezeigten Oszillogramme hat, es ändert sich mit der Frequenz, respektive > dem L/C-Verhältnis. > > Die Amplitude jedoch, bleibt erstaunlich konstant. Guten Morgen, nett das Du noch mal alles gegen geprüft hast bei deinen Supersimpeldipper. Ich finde mit dem Ergebnis deines Eigenbaus kannst ganz zu frieden sein. Außer dem bist ja noch ständig am verbessern und verändern deiner Schaltung. ArnoR schrieb: >> Ein Dipper ist kein Meßgerät, er ist ein Schätzgerät! > > Wenn du nur schätzen willst, brauchst du gar keine Schaltung. Es gibt keine idealen Bauteile, also ist die Simulation oben auch nur eine Schätzung die rechnerisch ermittelt worden ist, wird also nie so ganz passen.
Hallo Mohandes, Mohandes H. schrieb: > Nachtrag: als Oszillator werde ich einen JFET a la BF245 oder J113 > nehmen. Gerade in meinen Unterlagen gefunden, siehe Bild. Fast der gleiche Oszillator, nur mit einem FET. Leider ist das Bild etwas unscharf und ich habe keine weitere Quelle dazu, weiß auch nichtmehr wo ich es aufgegriffen habe. Hobby B. schrieb: > ArnoR schrieb: >>> Ein Dipper ist kein Meßgerät, er ist ein Schätzgerät! >> >> Wenn du nur schätzen willst, brauchst du gar keine Schaltung. > > Es gibt keine idealen Bauteile, also ist die Simulation oben auch nur > eine Schätzung die rechnerisch ermittelt worden ist, wird also nie so > ganz passen. Wie sehr dieser ArnoR sich windet und dreht siehst du hier. Erst schrieb er: ArnoR schrieb: > Wurde oben verlinkt, "NICOS". oben Auf deine Nachfrage wurde dann daraus: ArnoR schrieb: > Einfach mal lesen, was ich geschrieben habe: > > "Was das ist, steht DORT im Eröffnungspost" > > DORT, nicht hier. Ja nee, alles klar.
von Phasenschieber S. schrieb: >Gerade in meinen Unterlagen gefunden, siehe Bild. >Fast der gleiche Oszillator, nur mit einem FET. Mit dem Vorteil, daß der FET eine hohe Eingangsimpedanz hat, und dadurch die Betriebsgüte der Schwingkreise steigt. Die Schaltung entspricht etwa den Röhrenschaltungen von früher mit Triode, was ich weiter oben schon beschrieben habe. Auch hier kommt es zur Gleichrichtung am Gate des FET bei hoher Amplitude.
Streitet euch doch nicht ... Phasenschieber S. schrieb: > Fast der gleiche Oszillator, nur mit einem FET. Hallo Phasenschieber, ja schade daß das Bild so unscharf ist, es zeigt aber das Prinzip. Mit JFETs habe ich einige Experimente gemacht. Die BF245/246 o.ä. sind ja inzwischen schwer erhältlich, deswegen hatte ich mir bei Pollin ein paar J111, 112, 113 besorgt. Der J113 entspricht fast genau dem MBF102 welcher in vielen Schaltungen zu finden ist. Eigentlich wollte ich mit den JFETs Analogschalter (für Gitarrenverstärker) bauen, dann aber entdeckt, daß sie sich sehr gut für Oszillatoren eignen. Hier ein Link zu einem Ultra-low-voltage Oscillator mit JFETs: https://meettechniek.info/concepts/low-voltage.html Er arbeitet mit wenigen mV(!). Ist jetzt für den Dipper weniger interessant, zeigt aber was mit JFETs möglich ist. Und verschiedene Typen werden beleuchtet. Die Herausforderung für einen Dipper besteht darin, einen Oszillator zu bauen, der nicht für eine Frequenz optimiert ist, sonder den ganzen Frequenzbereich von ein paar 100 kHz bis über 100 MHz überstreicht. So gesehen sind JFETs eine interessante Alternative zu bipolaren Transistoren. Nicht umsonst sind sie ja in vielerlei Hinsicht die Nachfolger von Trioden. Hallo Hobbybastler, das sollte dich an deinem Konzept nicht hindern. Ich würde auch erstmal eine bewährte Schaltung nachbauen und dann erst experimentieren. Da du das quasi modular aufbaust hindert dich ja keiner später mit anderen Oszillatoren zu experimentieren. Deswegen sind theoretische Überlegungen über Oszillatoren jetzt nicht so wichtig wie eher praktische Tipps wie die von Phasenschieber. Generell finde ich das Thema Oszillatoren aber schon sehr interessant.
Günter Lenz schrieb: > Mit dem Vorteil, daß der FET eine hohe Eingangsimpedanz hat, > und dadurch die Betriebsgüte der Schwingkreise steigt. Ich denke mal, daß die Schwingkreisgüte bei einem Dipper keine große Rolle spielt. Der Dipper bringt irgendetwas zum Schwingen, die Energie dazu bringt der Transistor auf und zeigt einen Pegel an. Sobald du Energie entziehst, bricht der Pegel ein und das wird angezeigt. Das ist das Grundprinzip eines Dippers. Wenn es allerdings um einen Empfängereingang geht, dann trifft das zu was du sagst. Bei einem Empfänger möchte man geringstmögliche Verluste und somit spielt die Schwingkreisgüte ein ganz große Rolle. Mohandes H. schrieb: > Hier ein Link zu einem Ultra-low-voltage Oscillator mit JFETs: > https://meettechniek.info/concepts/low-voltage.html > Er arbeitet mit wenigen mV(!). Ist jetzt für den Dipper weniger > interessant, zeigt aber was mit JFETs möglich ist. Und verschiedene > Typen werden beleuchtet. Ja doch, der ist auch für Dipper interessant. Mein erster Griddipper war ebenfalls ein Hartley-Oszillator mit einer Röhre EC8nochwas. Absolut schwingsicher in großem Bereich. Die Spule hat halt einen Anzapf, was damals kein Problem war, weil ein alter Röhrensockel mit einigen Pins für die Spulen benutzt wurde. Das Gerät hatte mich viele Jahre begleitet und mir sehr geholfen das ganze Geraffel rund um Hochfrequenz zu verstehen, bis ich mal dachte ich bräuchte es nichtmehr. Tja, ich bräuchte es jetzt zwar auch nichtmehr, aber mein Herz hängt immernoch daran :-) Was mich beim Hartley aber immer etwas gestört hat, war das dritte Bein der Spule. Mal einen Quarz anstelle Spule einstecken, ging nicht. Deshalb bin ich bei meinem jetzigen Konzept auf einen Colpitts umgestiegen. Das Geheimnis des weiten Frequenzbereichs liegt dabei in der durch die Mittenerdung des Schwingkreises erzwungene Phasenverschiebung von 180° zwischen Ein- und Ausgang des Transistors. Egal welche Spule man nimmt, es wird immer eine Gegenphasigkeit erzeugt. Was bei manch anderen Oszillatoren nicht immer der Fall ist und sie deswegen bei manchen Frequenzen einfach nichtmehr mitmachen.
Beitrag #7067536 wurde von einem Moderator gelöscht.
Hier noch mal das richtige Bild. Es zeigt einen Dipper mit JFET (MPF102). Ist insofern interessant, als es das Prinzip des Grid Dipmeters illustriert: am Gitter (hier Gate) wird der Dip abgenommen und auf ein Zeigerinstrument übertragen. Die Schaltung lädt sich fast 1:1 auf einen Dipper mit Triode übertragen.
Phasenschieber S. schrieb: > Was mich beim Hartley aber immer etwas gestört hat, war das dritte Bein > der Spule. Das mit dem Quarz ist ein Argument. Aber auch sind 2-polige Steckspulen einfacher zu wickeln. Und die Stecker sind einfacher zu finden
Mohandes H. schrieb: > Ist insofern interessant, als es das Prinzip des Grid > Dipmeters illustriert: am Gitter (hier Gate) wird der Dip abgenommen und > auf ein Zeigerinstrument übertragen. Ja, das entspricht tatsächlich einem Röhrendipper. Warum ich noch keinen FET eingesetzt habe hat einen anderen Grund. Vom PA-Bau her weiß ich, daß die Gatekapazität bei hohen Frequenzen Probleme bereiten kann. Deshalb habe ich jetzt mal gerade in das Datenblatt des MPF102 geschaut und eine Gatekapazität von 7pF gefunden. Das könnte die obere Grenzfrequenz beim Dipper beeinflussen, das müsste ausprobiert werden. Ich habe gerademal meine Bestände durchgesehen und noch einige BF245C, J310 und BC264B gefunden. Wenn das Wetter wieder schlechter wird, werde ich meinen Experimental-Dipper umrüsten auf FET, aber solange es schön bleibt, sitze ich lieber im Garten ;-)
Phasenschieber S. schrieb: > Das Gerät hatte mich viele Jahre begleitet und mir sehr geholfen das > ganze Geraffel rund um Hochfrequenz zu verstehen, bis ich mal dachte ich > bräuchte es nichtmehr. Tja, ich bräuchte es jetzt zwar auch nichtmehr, > aber > mein Herz hängt immernoch daran :-) An diesen Punkt würd ich ja aktuell gerne kommen. So ein "Teilverständnis" ist schon irgendwie hinderlich. Komisch ist das die Praxis besser funktioniert als die Theorie. Jedenfalls manchmal. Phasenschieber S. schrieb: > Ich habe gerademal meine Bestände durchgesehen und noch einige BF245C, > J310 und BC264B gefunden. > Wenn das Wetter wieder schlechter wird, werde ich meinen > Experimental-Dipper umrüsten auf FET, aber solange es schön bleibt, > sitze ich lieber im Garten ;-) Bin gespannt wie ein Flitzebogen! J310 hab ich noch, da würde ich glatt nachbauen.
Kilo S. schrieb: > Bin gespannt wie ein Flitzebogen! > J310 hab ich noch, da würde ich glatt nachbauen. Ich werde mich dran machen, versprochen :-) Erstaunlich was mein Archiv noch so alles hergibt. Oben mal ein Bild eines klassischen Griddippers. Die Ähnlichkeit mit dem von Mohandes gezeigten ist nicht zu übersehen. Dann, auch interessant, einen Dipper der ohne Instrument auskommt. Die Schwingkreisspannung steuert einen astabilen Multivibrator. An der Tonschwankung ist der Dip zu erkennen. Noch einer ohne Instrument, die Anzeige erfolgt optisch.
Phasenschieber S. schrieb: > An der Tonschwankung ist der Dip zu erkennen. Den hatte ich oben auch schon mal erwähnt. Stammt aus der Kainka-Ecke. Das Ohr ist ja für kleine Tonhöhenänderungen sehr empfindlich. Werde ich mal ausprobieren. Ist ja nur ein kleiner Multivibrator mit 2 Transistoren. > Oben mal ein Bild eines klassischen Griddippers. Wie gesagt: da stammt der Name Grid Dipper her. > Datenblatt des MPF102 geschaut und eine Gatekapazität von 7pF Das ist so generell die Eingangskapazität dieser JFETs wie BF245, MPF102, J113 o. ä. Dem entgegen steht, daß diese Typen auch für HF bis 1 GHz gedacht sind. Siehe auch die Kurven im Datenblatt. Der JFET gestattet ja keine hohe Spannungsverstärkung, der Miller-Effekt kommt wenig zum Tragen. Und Oszillatoren mit bipolaren Transistoren werden bei hohen Frequenzen in Basisschaltung betrieben, auch kein Miller-Effekt bzw dieser kann kompensiert werden.
Mohandes H. schrieb: > Das ist so generell die Eingangskapazität dieser JFETs wie BF245, > MPF102, J113 o. ä. Dem entgegen steht, daß diese Typen auch für HF bis 1 > GHz gedacht sind. Siehe auch die Kurven im Datenblatt. Ja klar, die Grenzfrequenz wird dadurch nicht beeinflusst, weil man die Gatekapazität in der Ansteuerung berücksichtigt. Den FET muss man dann etwas niederohmiger ansteuern und die Kapazität mit in die Schaltung einbeziehen und gut ist. Beim vorliegenden Dipper (Colpitts) ist diese Möglichkeit aber nicht gegeben. Möglicherweise würde da ein Hartley besser funktionieren. Das sind aber nur Vermutungen von mir, möglich, daß ich damit falsch liege. Ich werde es herausfinden :-)
Der Dipper mit dem Peltz-Oszillator von Kainka hat in meinen Augen zwei gute Vorteile : die Spule ohne Anzapfungen und ein einfacher Drehko . Wenn man einen Zähler anschließt reicht es , den Dipper grob zu eichen . Es kann jeder Schwingkreis zum Schwingen gebracht werden von 1 KHz bis 45 Mhz . Ich habe den so verwendet , um unbekannte Spulen und Bandfilter zu sortieren . Der Dipper hatte eine Betriebsspannung von 1,5 V .
Manfred schrieb: > Es kann jeder Schwingkreis zum Schwingen gebracht werden von 1 KHz bis > 45 Mhz Und das kann auch ein Problem sein. Wenn man beim Peltz nicht aufpasst, schwingt er auf der Eigenresonanz der Spule und nicht auf der Frequenz des Kreises. Je nach Transistor auch höher als 45 MHz, je nachdem welcher Resonanzkreis besser die Schwingbedingung erfüllt.
Wenn der Schwingkreis mit L und C fest verdrahtet ist und als Transistoren BC-Typen verwendet werden , schließe ich die wilden Schwingungen aus . Die Schwingungsenergie ist bei 1,5 V Betriebsspannung sowieso gering und ein großer Emitterwiderstand mit Blockkondensator schließt ungewollte Schwingungen aus . Alles ist Einstellungssache .
Was mir an der Oszillatorschaltung von "von Phasenschieber S." "Dipper25.jpg" nicht gefällt ist, daß die Transistoren keinen vernünftigen Arbeitspunkt haben. Die sind total durchgesteuert, Basis direkt an Betriebsspannung. Ist ja im Prinzip ein Differenzverstärker. Anders, siehe Anhang, Transistoren haben einen ordentlich eingestellten Arbeitspunkt. Siehe Oszillatorschaltungen mit Differenzverstärkern: https://de.wikipedia.org/wiki/Oszillatorschaltung
Günter Lenz schrieb: > Was mir an der Oszillatorschaltung von "von Phasenschieber S." > "Dipper25.jpg" nicht gefällt ist, daß die Transistoren keinen > vernünftigen Arbeitspunkt haben. Ist dir klar, daß diese Schaltung mit nur 1,5V auskommt? Da ist keine Luft mehr für eine Arbeitspunkteinstellung nach deinem Muster.
Phasenschieber S. schrieb: > Leider ist das Bild etwas unscharf und ich habe keine weitere Quelle > dazu, weiß auch nichtmehr wo ich es aufgegriffen habe. Hallo Phasenschieber, ich hab da was für Dich. Hier der Link zu deinem Schaltplan https://www.qsl.net/iz7ath/web/02_brew/15_lab/02_dipper/english/pag07_eng.htm Hier der Link zu Original Seite auch sehr Interessant. https://www.qsl.net/iz7ath/web/02_brew/15_lab/02_dipper/english/pag02_eng.htm#SCHEMI%20VARI
Hobby B. schrieb: > ich hab da was für Dich. Jau, ich erinnere mich. Es ist lange her, da habe ich den Schaltplan dort mal abgekupfert. Du siehst, ich habe mich schon sehr lange mit dem Gedanken getragen, eines Tages wieder einen Dipper zu bauen. Für mich ist es eines der lehrreichsten Instrumente um in die Welt der Hochfrequenz einzusteigen und jetzt als "alter Hase" hat für mich das Gerät nichts an seiner Faszination verloren. :-) Du hast ja hier mit deinem Thread einen recht großen Zuspruch bekommen und das mit einem Gerät welches schon lange obsolet geworden ist ;-) Nachtrag: geh mal auf "my dipper" hier: https://www.qsl.net/iz7ath/web/02_brew/15_lab/02_dipper/english/pag03_eng.htm Diese Schaltung sieht für mich ganz besonders interessant aus. Ich sehe, das wird wieder ein langes Bastelprojekt für mich.
Phasenschieber S. schrieb: > Für mich ist es eines der lehrreichsten Instrumente um in die Welt der > Hochfrequenz einzusteigen Ja da stimme ich Dir zu. Aber ich glaube ich muss mir noch ein paar verschiedene Drehkos besorgen ;-) Phasenschieber S. schrieb: > Diese Schaltung sieht für mich ganz besonders interessant aus. Ja aber ich muss erstmal die erste Dip Meter Schaltung fertig stellen und dann noch richtig zum laufen bekommen und dann sehen wir weiter.
Phasenschieber S. schrieb: > Diese Schaltung sieht für mich ganz besonders interessant aus. Ja, ein Colpitts mit FET-Tetrode RCA 40673, wobei mit G2 die Verstärkung geregelt wird. Hobby B. schrieb: > Aber ich glaube ich muss mir noch ein paar verschiedene Drehkos besorgen Kein schlechter Gedanke. Mechanik ist teuer und gute Drehkondensatoren sind nicht billig und werden immer seltener. Die 5€-Dinger von Pollin gibt es auch nicht mehr. Letztes Jahr habe ich mir einen schönen Drehkondensator bei eBay gekauft. 100 Jahre alt, mit Garantieschein :-) und in der Originalverpackung! Hat keiner außer mir mitgeboten, was mich überrascht hat. Ein schönes Stück Feinmechanik und Geschichte. Auch kein schlechter Gedanke, das Projekt voran zu bringen. Sonst wird man vor lauter Ideen nicht fertig (ist mir schon passiert aber nach Jahren kann auch das Interesse wieder aufkommen).
Mohandes H. schrieb: > Sonst wird > man vor lauter Ideen nicht fertig Ein wahres Wort; welches mich gerade wieder auf den Pfad zurück führte. Ich laufe auch Gefahr mich zu verzetteln, werde meinen Experimental-Dipper wie vorgesehen auf FET umrüsten :-) Werde berichten.
Mohandes H. schrieb: > Ein schönes Stück Feinmechanik und Geschichte. Wenn Du mal Zeit hast mach doch mal bitte Bilder von dem Teil. Phasenschieber S. schrieb: > werde meinen > Experimental-Dipper wie vorgesehen auf FET umrüsten :-) > Werde berichten. Guter Einfall, bin gespannt auf das Ergebnis.
Mohandes H. schrieb: > und den Hang mich zu > verzetteln, so daß ich inzwischen erst ein Projekt beende, bevor ich mit > dem nächsten beginne. Das geht mir schon 20 Jahre und länger und andauernd so :)) Toller Tread hier: gefällt mir großartig. Lieben Gruß, Äxl DG1RTO
Hobby B. schrieb: > Wenn Du mal Zeit hast mach doch mal bitte Bilder von dem Teil. Dies ist er. Stammt von Förg in München. Ist, wie gesagt, etwa 100 Jahre alt (ich hatte ähnliche in einem Katalog aus den 20ern gesehen). Hauptkapazität 500 pF, Feineinstellung ca. 20 pF. Der Feintrieb funktioniert folgendermaßen: die beiden Plattenpaare 500p & 20p werden unabhängig durch zwei ineinander liegende Achsen bewegt. Der große Drehknopf dreht die Hauptkapazität, der kleine dient zur Feineinstellung mit 20p. Bakelitknöpfe. Das Ding ist fabrikneu, war noch nie eingelötet. Mit Garantieurkunde und einer Einbauschablone. Ich vermute, es lag vergessen in einer Vitrine oder Schublade. Hat mich nur €20 gekostet, weil niemand anderes mitgeboten hat (oder sonst niemand so ein schönes Teil zu schätzen wußte).
Edit: wenn ich mir das Bild so anschaue ... die Feineinstellung hat vermutlich eher 50p als 20p. Ich hatte das mal gemessen. Was man auch sieht: der Drehkondensator ist so aufgebaut, das man einzelne Bleche rausnehmen kann um die Gesamtkapazität zu verringern. Man könnte auch Bleche einfügen (wenn man welche hätte). Das war damals High-tech! Radios gab es noch nicht lange und Bakelit auch nicht.
wow, der wäre gut in einer Sendeendstufe aufgehoben, wegen dem großen Plattenabstand. Ich denke, dafür wurde er auch gebaut. Ein Schätzchen! Viel zu schade um den zu verbasteln :-)
Was mir daran besonders gefällt, ist der zusätzliche Knopf für Feineinstellung. Ich würde diesen Drehko auch sofort kaufen. Ich würde damit einen QRP-CW-Transceiver bauen, mit freilaufenden Oszillator zum Senden und empfang (Direktmischempfänger).
Für einen Direktmischempfänger oder ein Audion hatte ich den Drehkondensator auch gedacht. Dann aber mit Röhren und generell mit alten Bauteilen. Ja, der Feintrieb ist clever. Den Abstand der Platten werde ich noch mal ausmessen. Und die genaue Kapazität. Verkaufen werde ich ihn nicht. Das ist für mich ein schönes Beispiel für Feinmechanik und auch technisch Historie. Das zeigt, daß man bei eBay auch Schnäppchen machen kann wenn man etwas sucht. Mir macht es Freude so ein Teil in der Hand zu halten. Auf Jogis Röhrenbude http://www.jogis-roehrenbude.de/Roehren-Geschichtliches/Drehko/Drehko.htm gibt es eine schöne Sammlung historischer Drehkondensatoren. Sind auch welche von Förg dabei. In den 1920er-Jahren war der Selbstbau von Radios ja sehr in Mode. Es gab umfangreiche Kataloge mit Bauteilen.
Bei Amidon gibt es Bausätze für Drehkondensatoren bis 600 pF und bis hin zu 8 kV. Aber die Preise ... http://www.amidon.de/contents/de/d721.html Wer das notwendige Werkzeug hat kann sich auch selber einen Drehko mit fast beliebiger Kapazität, Plattenschnitt (Verlauf der Kapazität) und Spannungsfestigkeit basteln.
Mohandes H. schrieb: > Dies ist er. Stammt von Förg in München. Ist, wie gesagt, etwa 100 Jahre > alt (ich hatte ähnliche in einem Katalog aus den 20ern gesehen). Tolles Teil fast zu schade um es zu verbauen ;-) Axel R. schrieb: > Toller Tread hier: gefällt mir großartig. Ja da stimme ich Dir zu und viele Interessante Informationen sind hier schon zusammen gekommen. Mohandes H. schrieb: > Ja, der Feintrieb ist clever. Den Abstand der Platten werde ich noch mal > ausmessen. Und die genaue Kapazität. Ja der Feintrieb ist auch sehr schön , insgesamt sieht er auch sehr hoch wertig aus. Mohandes H. schrieb: > Auf Jogis Röhrenbude > http://www.jogis-roehrenbude.de/Roehren-Geschichtliches/Drehko/Drehko.htm > gibt es eine schöne Sammlung historischer Drehkondensatoren. Sind auch > welche von Förg dabei. Ja gibt schon sehr tolle Teile. Mohandes H. schrieb: > Wer das notwendige Werkzeug hat kann sich auch selber einen Drehko mit > fast beliebiger Kapazität, Plattenschnitt (Verlauf der Kapazität) und > Spannungsfestigkeit basteln. Leider habe ich das nicht, aber Interessant ist das auch auf jeden Fall.
Einen schönen Dipper für sehr hohe Frequenzen habe ich noch im Rothammel gefunden. Er arbeitet bis 730 MHz! Die Schaltung ist klassisch. Die 6CW4 ist ein Nuvistor. Das sind Röhren im Metallgehäuse, nicht viel größer als ein Transistor. Die 6CW4 ist eine High-Mu HF-Triode mit einer Steilheit von knapp 10 mA/V. Könnte man auch durch eine EC86 oder eine ECC85 ersetzen. Die 6CW4 gibt es aber auch noch zu kaufen, kostet etwa €10. Bei der Schaltung fällt der sehr kleine Gitterwiderstand von 330 Ohm auf. Damit wird ein Überschwingen des Oszillators verhindert! Gleichzeitig wird der Dip natürlich kleiner, weshalb noch ein Transistor nachgeschaltet ist (den könnte man durch einen modernen Si-Typ wie BC557 o.ä. ersetzen, auch ein npn wie BC547 wenn man die Batterie umdreht). Nachteilig ist die hohe Betriebsspannung von 125V plus Heizung der Röhre. Das könnte man über einen Wandler realisieren, nicht einen mit hoher Frequenz (Störungen!) sondern einen mit 50 Hz. Die Stromaufnahme ist ja gering.
Hallo zusammen, und wer hat einen 8pF Drehko mit Achse und Drehknopf in der Schatulle, weiss einen Hersteller?? Dass man das hinbekommt, bezweifle ich nicht, aber das ist nichts Triviales. 73 Wilhelm
Wilhelm S. schrieb: > wer hat einen 8pF Drehko mit Achse und Drehknopf in der Schatulle. 6mm-Achse ist Standard und einen Knopf dazu sollte jeder in der Schatulle haben. Der Drehko muß ja auch nicht exakt 8pF haben (da kommt eh noch die Eingangskapazität der Röhre dazu). Die Spulen müßte man dann etwas umdiemsionieren. Wer alte Radios repariert, der hat mit Sicherheit einen ähnlichen Drehkondensator da. Hier einer aus einem UKW-Tuner. Die Herausforderung ist eher der HF-gerechte Aufbau bei Frequenzen bis 730 MHz.
Mohandes H. schrieb: > Die Herausforderung ist eher der HF-gerechte Aufbau bei Frequenzen bis > 730 MHz. Sehe ich auch so. Das ist ein Griddipper speziell für den UHF-Bereich, er fängt bei 270MHz erst an. Der würde sich nahtlos nach oben an meinen bestehenden Dipper anschließen. Mal kurz zurück zu meinem Dipper. Ich bräuchte mal einen FET-Versteher, jemand der mir in Sachen FET etwas auf die Sprünge hilft: Wegen angesagten Unwetter habe ich heute morgen mal das Moped in der Garage gelassen und den Lötkolben angeheizt um den FET-Dipper zu realisieren. Dabei habe ich mich auf diese Colpittsschaltung festgelegt, weil die meiner bestehenden Schaltung am ähnlichsten ist. Siehe Bild oben. Problem: Das Ding schwingt nicht. Am Drain messe ich 0,4V, der FET ist also komplett durchgeschaltet. Warum? Erst habe ich meinem Aufbau nicht getraut und vermutet irgendwo einen Schluß fabriziert zu haben. Dann habe ich ersatzweise einen anderen FET genommen, dem am Drain einen 1k-Widerstand und am Gate einen 1Meg-Widerstand verpasst. Auch da messe ich am Drain 0,4V, ist also ebenfalls durchgeschaltet. Achso, FET=J310 Was läuft da falsch?
Hallo zusammen. Mohandes H. schrieb: > 6mm-Achse ist Standard und einen Knopf dazu sollte jeder in der > Schatulle haben. Das ist ja auch nicht die Herausforderung; den UKW-Drehko, den du auf deinem Bild zeigst, kannst du für den angesprochen Fall wohl kaum gebrauchen, und das weisst du auch. Als Keramiktrimmer von Tronser habe ich noch solche Mini-pF-Teile in meinen Schatullen, da ist aber nur ein Schlitz für einen Schraubenzieher dran. > Die Herausforderung ist eher der HF-gerechte Aufbau bei Frequenzen bis > 730 MHz. So ist es, und mit einem Nuvistor muss man das heutzutage auch nicht mehr machen. 73 Wilhelm
Phasenschieber S. schrieb: > FET=J310 > Was läuft da falsch? Der mittlere Idss des J310 ist etwa 8- mal so gross wie der des 2N3819. Steht gross und deutlich im Datenblatt. Der J310 ist für die Dimensionierung total ungeeignet. Aber ganz sicher weisst du auch das besser und brauchst solche Hinweise nicht.
TripTrap schrieb: > Aber ganz sicher weisst du auch das > besser und brauchst solche Hinweise nicht. Nein, das habe ich nicht beachtet, aber danke für den Hinweis. Ich habe eine Rüge verdient, hätte sollen ins Datenblatt schauen. Also muß ich jetzt entweder einen anderen FET besorgen, oder den Plan umzeichnen. Die Experimente laufen weiter, werde weiter berichten.
So jetzt löppt es. Habe nur ein bißchen den Plan umgestrickt und kaum macht man es richtig, schon läuft es :-) ...mit dem J310 Weil der Versuchsaufbau noch nicht ganz HF-gerecht ist, habe ich erstmal auf Messungen ganz oben verzichtet. Muss das Platinchen jetzt hf-gerecht einbauen und dann sehen wir weiter. Die finale Planänderung werde ich dann posten, wenn alle Versuche abgeschlossen sind.
Mohandes H. schrieb: > Einen schönen Dipper für sehr hohe Frequenzen habe ich noch im Rothammel > gefunden. Er arbeitet bis 730 MHz! Ja Interessant auch die Spulendaten dazu , aber Bild 3.16 der Transistordipper mit Anzeigen Verstärker ist auch nicht schlecht mit GF 131 und für den KW Bereich ausgelegt. Habe aber da keine Spulendaten gesehen oder überlesen. Wilhelm S. schrieb: > und wer hat einen 8pF Drehko mit Achse und Drehknopf in der Schatulle, Okay hier schließe ich mich an sowas habe ich leider auch nicht und auch hier auf die Schnelle keine Quelle gefunden wo man den beziehen kann. Eventuell bei Amidon als Bausatz. Phasenschieber S. schrieb: > Ich habe eine Rüge verdient, hätte sollen ins Datenblatt schauen. Macht doch nichts Umwege erhöhen die Ortskenntnis ;-) Phasenschieber S. schrieb: > So jetzt löppt es. > Habe nur ein bißchen den Plan umgestrickt und kaum macht man es richtig, > schon läuft es :-) ...mit dem J310 Da bin ich ja dann auch schon wieder gespannt auf Bilder und Ergebnisse , ich komme leider erst am WE dazu den Lötkolben anzuheizen ;-)
von Phasenschieber S. schrieb:
>So jetzt löppt es.
Und was hast du nun gemacht? Ich vermute mal, der FET
braucht eine negative Vorspannung am Gate. Kann man mit
einen Source-Widerstand erzeugen.
Hallo, hier mal ein Link zu Info wegen Drehkos , okay ob die gut sind kann ich nicht entscheiden. Aber die Preise scheinen okay zu sein oder was meint ihr dazu. http://www.schubert-gehaeuse.de/drehkondensatoren.html Auch die Gehäuse sind Interessant vom Preis. http://www.schubert-gehaeuse.de/weissblechgehaeuse.html
Günter Lenz schrieb: > Und was hast du nun gemacht? Ich vermute mal, der FET > braucht eine negative Vorspannung am Gate. Nein, der Hinweis auf das Datenblatt hat mir tatsächlich auf die Sprünge geholfen. Der mittlere IDS beläuft sich beim J310 auf ~40mA. An einem Arbeitswiderstand von 1k können die niemals an einer Quelle von 9V zur Verfügung gestellt werden, weshalb der Transistor so gut wie durchgeschaltet ist. Eine Verkleinerung des DC-Arbeitswiderstandes auf 220 Ohm hat das Problem gelöst. Damit aber für AC der Arbeitswiderstand größer ist, folglich die Amplitude nicht darunter leidet, habe ich in Serie zu dem Widerstand eine Drossel von 470µH geschaltet. Das Ergebnis ist verblüffend, es stellt sich genau die gleiche Amplitude ein wie bei meinem Transistordipper. Mehr dazu in den nächsten Tagen.
von Phasenschieber S. schrieb:
>Der mittlere IDS beläuft sich beim J310 auf ~40mA.
Die 40mA sind doch keine Pflicht, IDS kann man doch
mit entsprechender Gate-Vorspannung so einstellen
wie man möchte. Bei einen Arbeitswiderstand von
1kOhm wird der Strom eben auf 4,5mA eingestellt.
Wenn man den Arbeitswiderstand verkleinert, sinkt
auch die Verstärkerimpedanz. Das hat zur Folge, daß
sich die Betriebsgüte der Schwingkreise verschlechtert.
Man kann auch Oszillatoren mit niedriger Verstärkerimpedanz
bauen, nur muß man sich dann irgendeine Transformation
einfallen lassen wenn die Resonanzwiderstände der
Schwingkreise hoch sind.
Günter Lenz schrieb: > Die 40mA sind doch keine Pflicht, Nein, natürlich nicht. Die stellen sich aber ein bei einer Gatespannung von 0V. Hier in dieser Schaltung liegt das Gate mit 1M auf Masse, also 0V. Dadurch ist der Strompfad durch den FET so niederohmig, daß bei einem Arbeitswiderstand von 1k eben nurnoch die von mir gemessenen 0,4V am FET anliegen. Günter Lenz schrieb: > Wenn man den Arbeitswiderstand verkleinert, sinkt > auch die Verstärkerimpedanz. Das hat zur Folge, daß > sich die Betriebsgüte der Schwingkreise verschlechtert. Ich hatte ja schon geschrieben, die Schwingkreisgüte spielt bei einem Dipper im Prinzip keine Rolle. Der Schwingkreis bezieht seine Energie vom Transistor, welcher auch sämtliche Verluste ausgleicht.
von Phasenschieber S. schrieb: >Hier in dieser Schaltung liegt das Gate mit 1M auf Masse, also 0V. Man kann aber ein Source-Widerstand einfügen, dann entsteht automatisch eine negative Gate-Spannung, auch wenn Gate auf Masse liegt. Diesem Widerstand wird noch ein Kondensator parallel geschaltet, damit sich die Verstärkung nicht verringert. Das ist das selbe Prinzip wie bei Röhren mit dem Katodenwiderstand, mit dem auch der Arbeitspunkt der Röhre eingestellt wird. https://www.mikrocontroller.net/attachment/92528/snapshot.jpg
Phasenschieber S. schrieb: > die Schwingkreisgüte spielt bei einem Dipper im Prinzip keine Rolle. > Der Schwingkreis bezieht seine Energie vom Transistor, welcher auch > sämtliche Verluste ausgleicht. Da bin ich nicht ganz sicher. Stell Dir mal den Extremfall 'ganz schlechte Güte' vor. Wilhelm S. schrieb: > mit einem Nuvistor muss man das heutzutage auch nicht mehr machen. Darum geht es (mir) nicht. Ich schaue mir gerne verschiedene Schaltungen an, um sie verstehen und daraus zu lernen. Bei obiger Schaltung auch wieder was gelernt: daß der kleine Gitterwiderstand die Amplitude begrenzt, ist klar, ich hätte aber nicht darauf geachtet. Viele Schaltungen mit Röhren sind fast 1:1 übertragbar auf FETs. Davon abgesehen bastele ich gerne mit Röhren. Aber bei einen Dipper würde ich mir heute nicht die Umstände mit hohen Spannungen und Heizung machen. Höchstens um auszuprobieren ob eine Röhrenschaltung nicht doch Vorteile hat. Hobby B. schrieb: > Info wegen Drehkos Tolle Sachen haben die, auch Varistoren (wußte nicht daß die noch jemand herstellt). Nur die Preise. Aber wenn es sich lohnen würde heutzutage Drehkondensatoren herzustellen, dann würde das jemand vermutlich auch tun. Ist eben ein kleiner Markt.
Günter Lenz schrieb: > Man kann aber ein Source-Widerstand einfügen, dann entsteht > automatisch eine negative Gate-Spannung, auch wenn Gate > auf Masse liegt. Das ist mir völlig klar und das habe ich auch vor, denn mir fehlt ja noch der Abzweig für den Frequenzzähler. Dann sieht die Schaltung genauso aus wie bei meinem Transistor-Dipper. Die Dimensionierung muß ich erstnoch ausbaldowern. Ich habe ja jetzt erstmal die Schaltung so wie in diesem Plan dargestellt aufgebaut und musste sie erstmal zum Schwingen bringen. Phasenschieber S. schrieb: > Die finale Planänderung werde ich dann posten, wenn alle Versuche > abgeschlossen sind. Du bist mir mit deiner Frage nach meinen Änderungen zu früh aufgeschlagen, ich habe ja gerade erst begonnen mit der Schaltung zu spielen. Mohandes H. schrieb: > Da bin ich nicht ganz sicher. Stell Dir mal den Extremfall 'ganz > schlechte Güte' vor. Ja, stelle ich mir gerade vor. Solange der Transistor eine Amplitude bereit stellt, die auf dem Instrument eine Mindestgröße anzeigt, welche einen klaren Dip erkennen lässt, ist doch alles gut. Der Transistor muß soviel Energie bereit stellen, daß es zu einer Instrumentenanzeige kommt, dann kann der Schwingkreis so schlecht sein wie er will.
Phasenschieber S. schrieb: > Mohandes H. schrieb: >> Da bin ich nicht ganz sicher. Stell Dir mal den Extremfall 'ganz >> schlechte Güte' vor. > > Ja, stelle ich mir gerade vor. Solange der Transistor eine Amplitude > bereit stellt, die auf dem Instrument eine Mindestgröße anzeigt, welche > einen klaren Dip erkennen lässt, ist doch alles gut. Nein. Wenn der Dipper eine Schwingkreisgüte wie ein nasser Sandsack hat, dann bestimmt das Messobjekt die Frequenz.
Hallo zusammen. Mohandes H. schrieb: > Tolle Sachen haben die, auch Varistoren (wußte nicht daß die noch jemand > herstellt) Erkläre mit bitte die Funktion eines Varistors im Zusammenhang mit einem Dipper. Meinst du vielleicht VariCap Dioden ? 73 Wilhelm
Wilhelm S. schrieb: > Meinst du vielleicht VariCap Dioden ? Wenn du auf deren Webseite nachschaust: Variometer Für ein Dipmeter braucht man die natürlich nicht.
Gerhard H. schrieb: > Nein. Wenn der Dipper eine Schwingkreisgüte wie ein nasser Sandsack hat, > dann bestimmt das Messobjekt die Frequenz. Ist doch schön, genau das wollen wir bei der Messung ja wissen. Brauchst du dann nunoch den Zähler ablesen :-)
Wollte meinen Arbeitsplatz frei machen, weshalb ich diesen FET-Dipper-Test jetzt durchgezogen habe. Im ersten Bild der momentane Schaltplan. Im zweiten Bild die sinusoidale Amplitude zu diesem Schaltplan. Habe alle Messungen so rund um 7MHz gemacht, damit sie vergleichbar bleiben. Die Amplitude übersteigt tatsächlich die Betriebsspannung deutlich, was ich der Drossel in der Speisespannung zuschreibe. Selbige erzeugt eine Überhöhung der Schwingung im Schwingkreis. Das bestätigt sich, wenn ich die Drossel weg lasse, siehe 3. Bild. Jetzt zum Frequenzverlauf: Im unteren Frequenzbereich, welchen ich jetzt mal bis 50MHz definiere, läuft alles ziemlich linear mit einigermaßen konstanter Amplitude. Das "einigermaßen" definiere ich jetzt mal auf eine Schwankung kleiner 10%. Ab 50MHz sinkt die Amplitude in einer fast linearen Linie nach unten, bis bei 100MHz Schluss ist. Meine Spulen für die Frequenzen oberhalb 100MHz schwingen garnichtmehr. Aus meiner Sicht hat mein Dipper mit bipolarem Transistor bis jetzt ganz klar die Nase vorn. Wenn noch jemand Vorschläge für Veränderungen hat, bitte posten, nur her damit. Bis morgen Mittag lasse ich noch den Dipper auf dem Seziertisch, danach kommt alles in die Recyclingtonne.
Wilhelm S. schrieb: > Erkläre mit bitte die Funktion eines Varistors im Zusammenhang mit einem > Dipper. > Meinst du vielleicht VariCap Dioden ? Nein, natürlich meinte ich Variometer. Ist für einen Dipper uninteressant, aber in diesem Thread geht es ja zuweilen auch etwas off-topic zu, was mir gefällt. Auch noch mal zum Nuvistor. Wegen der Heizung und der hohen Anodenspannung für einen Dipper heutzutage nicht praktikabel. Aber alte Schaltungen anschauen und verstehen, sich davon inspirieren lassen, darum geht es! Phasenschieber S. schrieb: > Aus meiner Sicht hat mein Dipper mit bipolarem Transistor bis jetzt ganz > klar die Nase vorn. Aber liegt's am JFET? Der J310 wird als 'VHF/UHF-Amplifier' angegeben und sollte noch deutlich höher in der Frequenz gehen: https://www.onsemi.com/products/discrete-power-modules/jfets/j310 Mit anderer Dimensionierung sollte der J310 bis 1 GHz (?) schwingen. In Deinem Schaltplan ist übrigens ein kleiner Fehler: der J310 ist ein n-Kanal-Typ, kein p-Kanal (ich gehe mal davon aus, daß Du das Pinning richtig hast). Ich werde am WE mal den Oszillator in Spice mit unterschiedlichen Dimensionierungen durchlaufen lassen um das zu testen.
Mohandes H. schrieb: > Aber liegt's am JFET? Der J310 wird als 'VHF/UHF-Amplifier' angegeben > und sollte noch deutlich höher in der Frequenz gehen: Ja, deshalb habe ich ihn ja auch in der Schaltung gelassen. Sicher gibt es Typen, die in dieser Schaltung ein anderes Verhalten zeigen, aber ich kann sie leider nicht alle ausprobieren, muß nehmen, was ich in meiner Kiste finde. Nachdem man mir das Datenblatt rügend unter die Nase gehalten hat, habe ich mir selbiges natürlich gründlich angeschaut. Ich denke auch, daß es an der Schaltung liegt, am FET ganz sicher nicht. Bin aber jetzt mit meinem Latein am Ende, denn jetzt noch die vielen anderen Oszillatorarten auszuprobieren, wird mir echt zuviel. Irgendwo zwickt es immer, entweder oben zu kurz, oder unten zu kurz, oder instabil oder...oder...oder :-)
Mohandes H. schrieb: > Ich werde am WE mal den Oszillator in Spice mit unterschiedlichen > Dimensionierungen durchlaufen lassen um das zu testen. Prima. Ich werde meinen Testaufbau mal liegen lassen und wenn du neue Erkenntnisse hast, würde ich die noch umsetzen.
Hallo Phasenschieber, lasse den Oszillator mit dem JFET bitte noch bis morgen auf dem Basteltisch. Vielleicht fällt mir doch noch etwas ein. Ich simuliere das mit LTSpice, da kann man schnell mal Änderungen ausprobieren. Einen Dipper mit J310 habe ich noch entdeckt: https://www.qsl.net/g3oou/gdo.html Der soll zumindest bis 200 MHz schwingen. Interessant auch der Text dazu (Sourcewiderstand).
Mohandes H. schrieb: > Hallo Phasenschieber, lasse den Oszillator mit dem JFET bitte noch bis > morgen auf dem Basteltisch. wow, ich war schneller :-) ah, ein "echter" G-Dipper. Auffällig, die hohen Koppel-Cs. Muß ich mir mal in Ruhe ansehen.
Phasenschieber S. schrieb: > Ich werde meinen Testaufbau mal liegen lassen und wenn du neue > Erkenntnisse hast, würde ich die noch umsetzen. Ging über Kreuz ... das mache ich bis morgen (Simulation). Kann aber auch sein, daß da nichts bei rauskommt. Mal schauen. Bei mir ist es so ähnlich wie bei Dir: bei schönem Wetter bin ich gerne draußen, ich bin kein Stubenhocker. Jetzt hat es (endlich) geregnet, gut für die Natur. Gutes Wetter für die Bastelstube.
Hallo zusammen, Phasenschieber S. schrieb: > Wollte meinen Arbeitsplatz frei machen, weshalb ich diesen > FET-Dipper-Test jetzt durchgezogen habe. okay na ich werde heute auch dazu kommen weiter zu machen. Phasenschieber S. schrieb: > Bis morgen Mittag lasse ich noch den Dipper auf dem Seziertisch, danach > kommt alles in die Recyclingtonne. Ich hoffe doch mal das die Dipper nicht damit gemeint sind, das wäre wohl zu schade. Mohandes H. schrieb: > aber in diesem Thread geht es ja zuweilen auch etwas > off-topic zu, was mir gefällt. Ja das ist richtig aber ich finde es so wie es ist hier im Thread auch sehr gut und vor allem sehr Interessant. Mohandes H. schrieb: > Ich werde am WE mal den Oszillator in Spice mit unterschiedlichen > Dimensionierungen durchlaufen lassen um das zu testen. Na da bin ich ja mal gespannt was die Simulationen dann für ein Ergebnisse zeigen. Phasenschieber S. schrieb: > wird mir echt zuviel. > Irgendwo zwickt es immer, entweder oben zu kurz, oder unten zu kurz, > oder instabil oder...oder...oder :-) Dann lasse den Dipper doch erstmal so wie er ist, hatte Dir doch bis jetzt auch ausgereicht und auch gut Funktioniert. Ich werde auch erstmal mit bipolarem Transistor aufbauen. Bis nachher dann :-)
Hier mal ein kurzen Update. Hatte ja nun die Woche über nur Zeit nebenbei zu recherchieren und mir noch ein paar Dinge zu besorgen. Leider noch nicht alles da 3 Dinge kommen wohl erst am Montag oder Dienstag an aber nicht so schlimm. Also ich baue meinen Dipper so wie geplant nach der Schaltung von Phasenschieber mit bipolarem Transistor auf. Allerdings ändert sich bei dem Dipper dann , das dieser bei mir nur bis ca. 30 MHz arbeiten soll , dafür aber bei ca. 100 KHz anfangen soll. Aus diesem Grund habe ich mir auch einen anderen Frequenzmesser bestellt sowie einen anderen Drehko besorgt. Okay Frequenzmesser muss noch zusammen gebaut werden aber für ca. 8 Euro war mir das dann auch egal. Der neue Drehko geht bei 20 pF los und endet bei 270 pF laut Beschreibung. Gemessen 18 pF endet bei 300 pF naja soviel zu Theorie und Praxis :-). Habe da an die Profis noch eine Frage wegen der Spulen für den Dipper habe zwar in der letzten Zeit schon eine menge zu gelesen und auch schon einige Berechnungen angestellt. Wo ich mir aber noch nicht ganz sicher bin ist folgendes habe ich das soweit richtig verstanden , Spulendurchmesser geteilt durch 2 wäre die maximale Entfernung zum Messobjekt für den besten Arbeitspunkt. Würde heißen z.B. 30 mm Durchmesser der Spule und dem zufolge 15 mm Abstand dann ? Oder mache ich da jetzt einen Denkfehler ?
Phasenschieber S. schrieb: > Gerhard H. schrieb: >> Nein. Wenn der Dipper eine Schwingkreisgüte wie ein nasser Sandsack hat, >> dann bestimmt das Messobjekt die Frequenz. > > Ist doch schön, genau das wollen wir bei der Messung ja wissen. > Brauchst du dann nunoch den Zähler ablesen :-) Der übliche Dipper hat eine Skala mit Kratz ääh, Eichmarken. Die passen dann nicht mehr. Da kommt ja auch noch der Bandfilter- Effekt dazu , je nachdem, wie man das Ding hält. Wenn man schon einen Zähler hat, dann kann man auch einen richtigen Signalgenerator mit einer Pufferstufe basteln mit wenigstens rudimentärer Stabilität.
Gerhard H. schrieb: > Der übliche Dipper hat eine Skala mit Kratz ääh, Eichmarken. Da magst Du recht haben aber es gibt ja mittlerweile auch einige Dipper mit Zähler, also ist das vorhaben hier ja nicht so ungewöhnlich. Gerhard H. schrieb: > Wenn man schon einen Zähler hat, dann kann man auch einen richtigen > Signalgenerator mit einer Pufferstufe basteln mit wenigstens > rudimentärer Stabilität. Damit hast Du natürlich auch wieder recht das man dies tun kann oder könnte. Du kannst auch gerne hier in diesem Thread dazu Bauvorschläge oder Interessante Links dazu anbringen. Aber es geht hier in dem Thread um den bau eines Dippers auch wenn dieser obsolet ist mittlerweile oder es Heutzutage bessere Geräte und Möglichkeiten gibt. Wie man nun hier auch bis jetzt sehen konnte gibt es viele Möglichkeiten einen Dipper zu bauen , allerdings haben bis jetzt alle Varianten ihre vor und Nachteile gehabt. Demzufolge schein es ja nicht so einfach zu sein einen Dipper zu bauen der dann auch über einen weiten Bereich sauber und Stabil arbeitet. Oder ist Dir einer bekannt der alles Perfekt kann. Du baust z.B. einen Kurzwellenempfänger ist ein schönes Projekt und Respekt. Da sagt doch auch keiner, kauf die was digitales zum KW hören. Das ist ein Projekt das Du umsetzen möchtest für Dich. Wobei ich mal davon ausgehe das Du auch was digitales dafür haben wirst und auch die nötigen Messgeräte hast die Du brauchst für dein Projekt. Das ist hier wie gesagt ein Hobby Projekt , das wird am Ende mehr gekostet haben als wenn ich mir einen alten Dipper gekauft hätte. Aber ich wollte so ein Teil schon immer mal haben. Also warum nicht selbst bauen und sich Informationen von Leuten holen die dies schon gemacht haben. Ein Messgerät kann so gut wie jeder der Interesse dran hat mit Hilfe des Handbuches bedienen. Aber der bau von selbst einfacher Messtechnik ist halt nicht so einfach und man lernt dabei eine ganze Menge.
Hobby B. schrieb: > Demzufolge schein es ja nicht so einfach zu sein einen Dipper zu bauen > der dann auch über einen weiten Bereich sauber und Stabil arbeitet. Naja, diese klassischen Röhren-Dipper mit der EC92 waren auch alles andere als weitbereichs-stabil. Selbst bei so einem kommerziellen muss man innerhalb des Frequenzbereichs einer Steckspule am Empfindlichkeits-Poti nachstellen. Insofern ist das Konzept von "Phasenschieber" in der Hinsicht schon mal gar nicht so schlecht.
Bitte melde dich an um einen Beitrag zu schreiben. Anmeldung ist kostenlos und dauert nur eine Minute.
Bestehender Account
Schon ein Account bei Google/GoogleMail? Keine Anmeldung erforderlich!
Mit Google-Account einloggen
Mit Google-Account einloggen
Noch kein Account? Hier anmelden.













































